GM Service Manual Online
For 1990-2009 cars only

Caution: Storing a jack, a tire, or other equipment in the passenger compartment of the vehicle could cause injury. In a sudden stop or collision, loose equipment could strike someone. Store all these in the proper place.

Notice: Storing an aluminum wheel with a flat tire under your vehicle for an extended period of time or with the valve stem pointing up can damage the wheel. Always stow the wheel with the valve stem pointing down and have the wheel/tire repaired as soon as possible.

Store the tire under the rear of the vehicle in the spare tire carrier. Refer to the following graphics and instructions to help you:


  1. Object Number: 1652650  Size: B4

    Hoist Assembly

  2. Hoist Shaft

  3. Hoist Shaft Access Cover/Hole

  4. Jack Handle Extensions

  5. Wheel Wrench

  6. Hoist Cable

  7. Tire/Wheel Retainer

  8. Spare Tire/Flat Tire (Valve Stem Pointed Down)

  9. Hoist Shaft Access Hole

  10. Hoist End of Extension Tool

  11. Spare Tire Lock

  1. Put the tire (H) on the ground at the rear of the vehicle with the valve stem pointed down, and to the rear.

  2. Object Number: 1907332  Size: B2
  3. Tilt the tire toward the vehicle. Separate the tire/wheel retainer (G) from the guide pin. Pull the pin through the center of the wheel. Tilt the retainer down through the center wheel opening.
  4. Make sure the retainer is fully seated across the underside of the wheel.


    Object Number: 1652643  Size: B2
  5. Assemble the two jack handle extensions (D) and wheel wrench (E) as shown.

  6. Object Number: 1652648  Size: A2

    Insert the open end of the extension (J) through the hole in the rear bumper (I) (hoist shaft access hole).

  7. Raise the tire part way upward. Make sure the retainer is seated in the wheel opening.
  8. Raise the tire fully against the underside of the vehicle by turning the wheel wrench clockwise until you hear two clicks or feel it skip twice. You cannot overtighten the cable.

  9. Object Number: 1692023  Size: B3
  10. Make sure the tire is stored securely. Push, pull (A), and then try to turn (B) the tire. If the tire moves, use the wheel wrench to tighten the cable.
  11. Reinstall the spare tire lock.
  12. Reinstall the hoist shaft access cover.

To store the tools, do the following:


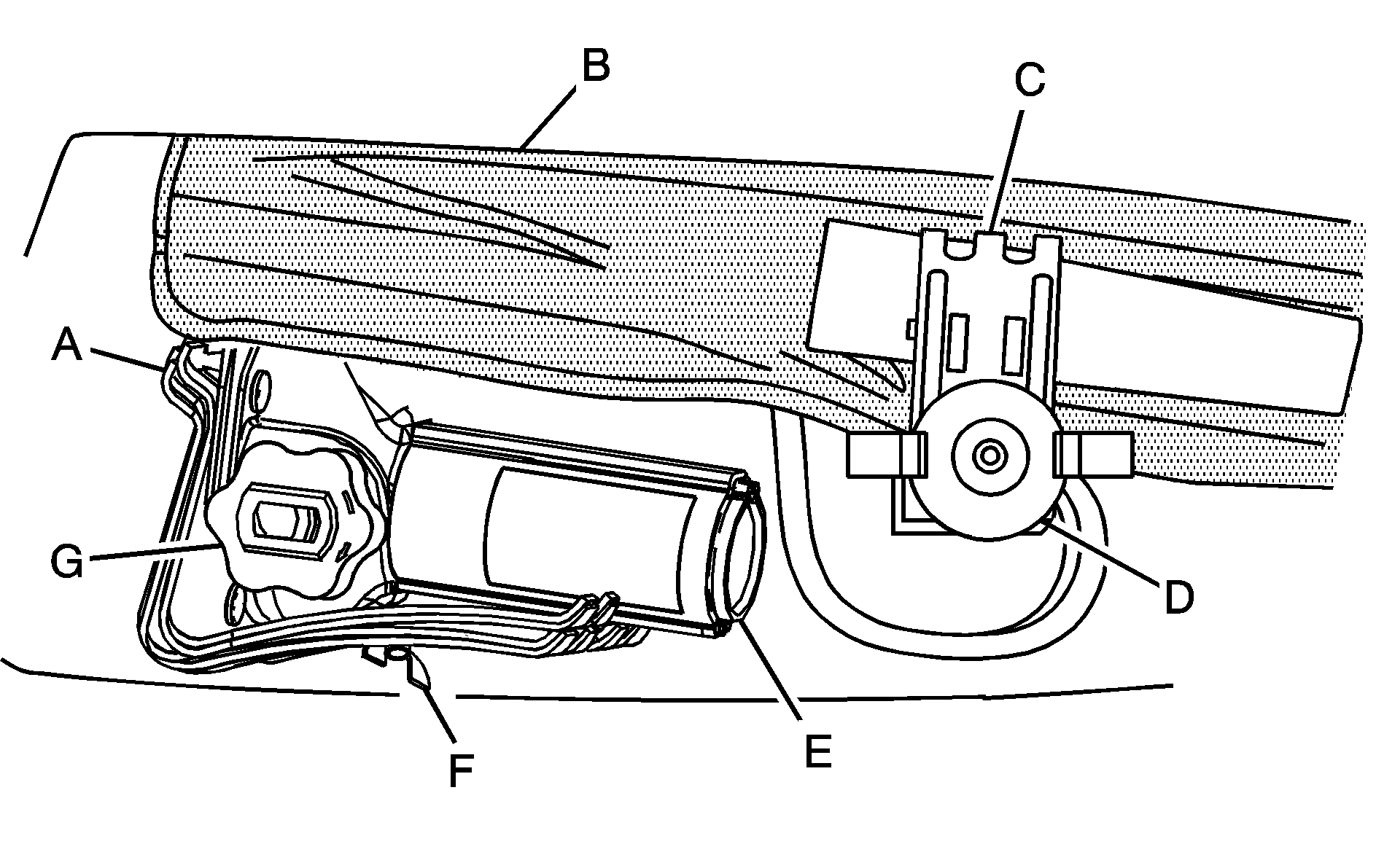
  1. Object Number: 1656465  Size: B3

    Wheel Blocks

  2. Tool Bag with Jack Tools

  3. Retaining Bracket

  4. Wing Nut Retaining Tool Bag

  5. Jack

  6. Wing Nut Retaining Wheel Blocks

  7. Jack Knob

  1. Return the tools (wheel wrench, jack handle, and jack handle extensions) to the tool bag (B).
  2. Assemble wheel blocks (A) and jack (E) together with the wing nut (F).
  3. Position the jack (E) and wheel blocks (A) in the driver's side trim panel over the wheelhouse.
  4. Turn the jack knob (G) clockwise until the jack is secured tight in the mounting bracket. Be sure to position the holes in the base of the jack onto the pin in the mounting bracket.
  5. Use the retaining bracket (C) to fasten the tool bag (B) on the stud and turn the wing nut (D) clockwise to secure.

  6. Object Number: 1652677  Size: B3
  7. Return the storage tray to its original stored position.