GM Service Manual Online
For 1990-2009 cars only

Top View of Instrument Panel and Approximate Deployment Area of the Airbag Zone


Object Number: 1788633  Size: C1
  1. Passenger Side Instrument Panel Top Surface Zone

  2. Passenger Side Airbag Module Trim Panel -- Rear Edge

  3. Passenger Side Door

  4. Approximate Dimensions of Inflated Airbag

  5. Passenger Side Airbag Deployment Zone

  6. Passenger Centerline

  7. Inside Rearview Mirror

  8. Vehicle Centerline

  9. Driver Centerline

  10. Driver Side Airbag Deployment Zone

  11. Front of Steering Wheel

  12. Driver Side Door

  13. Shift Selector Arc

See Notices for Customer-Installed Equipment for more information.

Side View of Driver Side Airbag Deployment Zone


Object Number: 1788606  Size: B5
  1. Top Edge of Windshield

  2. Top of Instrument Panel

  3. Inflated Airbag -- Steering Wheel

  4. Centerline of Steering Column at Mid-Tilt

  5. Driver Airbag Deployment Zone

  6. Front of Steering Wheel

See Notices for Customer-Installed Equipment for more information.

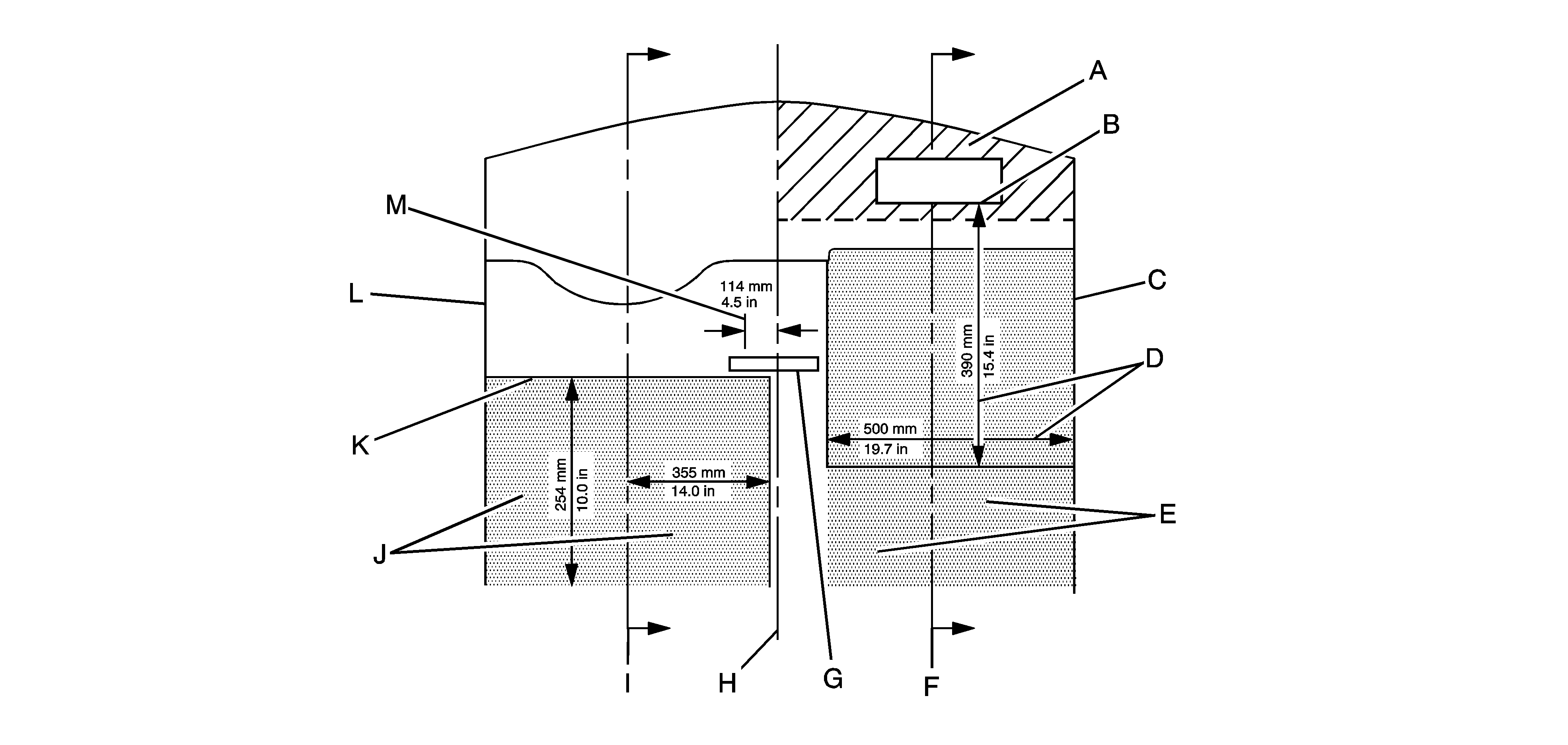
Side View of Passenger Side Airbag Deployment Zone


Object Number: 1788608  Size: B4
  1. Top Edge of Windshield

  2. Inside Rearview Mirror

  3. Instrument Panel Top Surface Zone

  4. Passenger Side Airbag Module Trim Panel -- Rear Edge

  5. Inflated Airbag -- Horizontal Dimension (Approximate 15.4 in (390 mm))

  6. Inflated Airbag -- Vertical Dimension (Approximate 19.3 in (490 mm))

  7. Inflated Airbag -- Instrument Panel

  8. Passenger Airbag Deployment Zone

See Notices for Customer-Installed Equipment for more information.

Roof-rail Airbag Deployment Zone - Passenger Side shown, Driver Side similar


Object Number: 1788609  Size: C1
  1. Front of Deployment Zone at Front Upper Corner of Front Door Pad

  2. Windshield Pillar Trim with Grab Handle

  3. Visor

  4. Deployment Zone

  5. Top of Deployment Zone -- Along Roof-rail at Edge of Headliner

  6. Back of Deployment Zone -- At Rear Top Corner of Rear Door Pad

  7. Rear Quarter Window

  8. Top Edge of Interior Quarter Trim

  9. Bottom of Airbag Deployment Zone -- Parallel to Outside Bottom Edge of Rear Quarter Glass

  10. Dimension at Mirror Patch from Top Edge of Front Door Pad

  11. Top Edge of Front Door Pad

  12. Top Edge of Rear Door Pad

  13. Bottom Outside Edge of Rear Quarter Window

See Notices for Customer-Installed Equipment for more information.

Roof-rail Airbag Driver and Passenger Deployment Zones - View from Rear Cargo Area


Object Number: 1788599  Size: C1
  1. Roof-rail Airbag Deployment Zone

  2. Underside of Headliner

  3. Edge of Headliner

  4. Inner Center Pillar Trim

  5. Inner Door Pad

  6. Seat Centerline

  7. Bottom of Door Windows

  8. Front Seat Headrests

See Notices for Customer-Installed Equipment for more information.