GM Service Manual Online
For 1990-2009 cars only

Removal Procedure


    Object Number: 800722  Size: SH
  1. Pull back the rear compartment trim on the left side. Refer to Rear Compartment Trim Panel Replacement in Body Rear End.
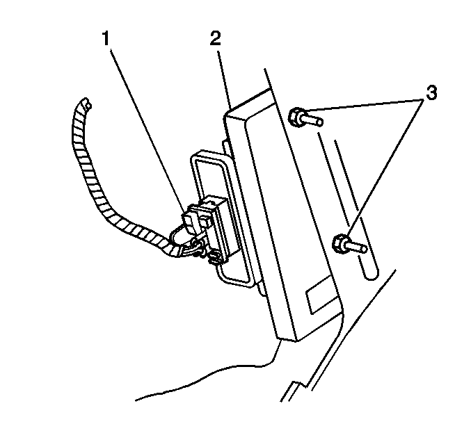
  2. Loosen the nuts (3) on the amplifier bracket.
  3. Remove the amplifier (2) from the left wheelhouse, lifting up and pulling back.
  4. Disconnect the electrical connector (1) from the amplifier (2).
  5. Remove the amplifier (2) from the rear compartment.

Installation Procedure


    Object Number: 800722  Size: SH
  1. Connect the electrical connector (1) to the amplifier (2).
  2. Install the amplifier (2) to the left wheelhouse slots, sliding in and down.
  3. Notice: Use the correct fastener in the correct location. Replacement fasteners must be the correct part number for that application. Fasteners requiring replacement or fasteners requiring the use of thread locking compound or sealant are identified in the service procedure. Do not use paints, lubricants, or corrosion inhibitors on fasteners or fastener joint surfaces unless specified. These coatings affect fastener torque and joint clamping force and may damage the fastener. Use the correct tightening sequence and specifications when installing fasteners in order to avoid damage to parts and systems.

  4. Tighten the nuts (3) to the amplifier bracket.
  5. Tighten
    Tighten the nuts to 3.5 N·m (31 lb in).

  6. Install the rear compartment trim on the left side. Refer to Rear Compartment Trim Panel Replacement in Body Rear End.