GM Service Manual Online
For 1990-2009 cars only
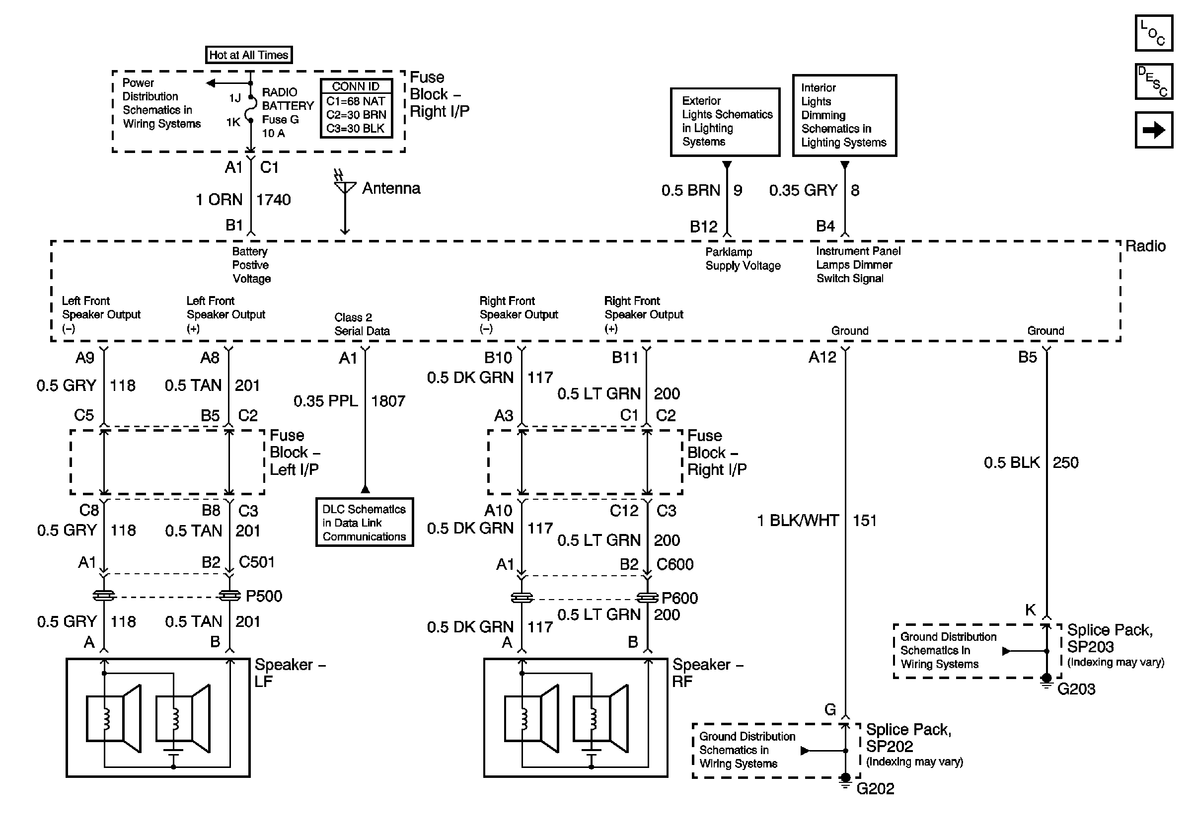
Figure 1:

Power and Front Speakers


Object Number: 778562  Size: FS
Master Electrical Component List
Radio/Audio System Description and Operation
Rear Speakers with Audio Amplifier
Panel Dimming
Interrior Accessories
RH BEC BATT, ABS, INT LPS, RDO BATT, FOG LPS Fuses
Data Link Communication
SP202
SP203
Figure 2:

Rear Speakers with Radio Amplifier


Object Number: 778532  Size: FS
Master Electrical Component List
Radio/Audio System Description and Operation
Rear Speakers without Audio Amplifier
Power and Front Speakers
SP401
BATT1, PWR SEAT, PWR MIRROR, DR LOCK, TRUNK REL/RFA Fuses
Figure 3:

Rear Speakers without Radio Amplifier


Object Number: 778555  Size: FS
Master Electrical Component List
Radio/Audio System Description and Operation
Rear Speakers with Audio Amplifier