GM Service Manual Online
For 1990-2009 cars only

Removal Procedure

Caution: Refer to Brake Fluid Irritant Caution in the Preface section.

Notice: Refer to Brake Fluid Effects on Paint and Electrical Components Notice in the Preface section.

Caution: For safety reasons, the brake pressure modulator valve assembly must not be repaired, the complete unit must be replaced. With the exception of the EBCM, no screws on the brake pressure modulator valve assembly may be loosened. If screws are loosened, it will not be possible to get the brake circuits leak-tight and personal injury may result.


    Object Number: 567229  Size: SH
  1. Remove the battery. Refer to Battery Replacement in Engine Electrical.
  2. Remove the battery tray.
  3. Important: Note the locations of the brake pipes in order to aid in installation.

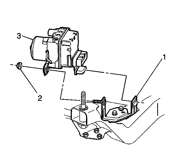
  4. Disconnect the caliper and wheel cylinder brake pipes (2) from the BPMV (3). Cover the ends of the brake pipes to avoid dripping or contamination.
  5. Disconnect the master cylinder brake pipes (1) from the BPMV (3). Cover the ends of the brake pipes to avoid dripping or contamination.
  6. Raise and support the vehicle on a suitable hoist. Refer to Lifting and Jacking the Vehicle in General Information.
  7. Remove the front engine splash shield.
  8. Remove the left engine splash shield.

  9. Object Number: 393786  Size: SH
  10. Disconnect the connector position assurance (CPA) (2) from the EBCM connector.
  11. Push the lock tab (1) down and then move the sliding connector cover to the open position.

  12. Object Number: 567224  Size: SH
  13. Disconnect the EBCM harness connector (2) from the EBCM (1).

  14. Object Number: 567232  Size: SH
  15. Remove the BPMV retaining nut (2).
  16. Remove the EBCM/BPMV assembly (3) from the vehicle.

  17. Object Number: 527343  Size: SH
  18. Remove the EBCM (1) from the BPMV (2).

Installation Procedure

    Notice: Refer to Fastener Notice in the Preface section.


    Object Number: 527343  Size: SH
  1. Install the EBCM (1) to the BPMV (2).
  2. Tighten
    Tighten the 4 screws that connect the EBCM (1) to the BPMV (2) to 5 N·m (44 lb in).


    Object Number: 567232  Size: SH
  3. Install the EBCM/BPMV assembly (3) to the vehicle.
  4. Install the BPMV retaining nut (2).
  5. Tighten
    Tighten the retaining nut to 10 N·m (7 lb ft).


    Object Number: 567224  Size: SH
  6. Connect the EBCM harness connector (2) to the EBCM (1).

  7. Object Number: 393786  Size: SH
  8. Push down the lock tab (1) and then move the sliding connector cover back in the home position to lock.
  9. Insert the CPA (2) back into place.
  10. Install the left engine splash shield.
  11. Install the front engine splash shield.
  12. Lower the vehicle. Refer to Lifting and Jacking the Vehicle in General Information.

  13. Object Number: 567229  Size: SH

    Caution: Make sure brake pipes are correctly connected to brake pressure modulator valve. If brake pipes are switched by mistake, wheel lockup will occur and personal injury may result. The only two ways this condition can be detected are by using a Scan Tool or by doing an Antilock stop.

  14. Connect the master cylinder brake pipes (1) to the BPMV (3).
  15. Tighten
    Tighten the brake pipe fittings to 24 N·m (18 lb ft).

  16. Connect the caliper and wheel cylinder brake pipes (2) to the BPMV (3).
  17. Tighten
    Tighten the brake pipe fittings to 24 N·m (18 lb ft).

  18. Install the battery tray.
  19. Install the battery. Refer to Battery Replacement in Engine Electrical.
  20. Perform the Diagnostic System Check - ABS .