GM Service Manual Online
For 1990-2009 cars only

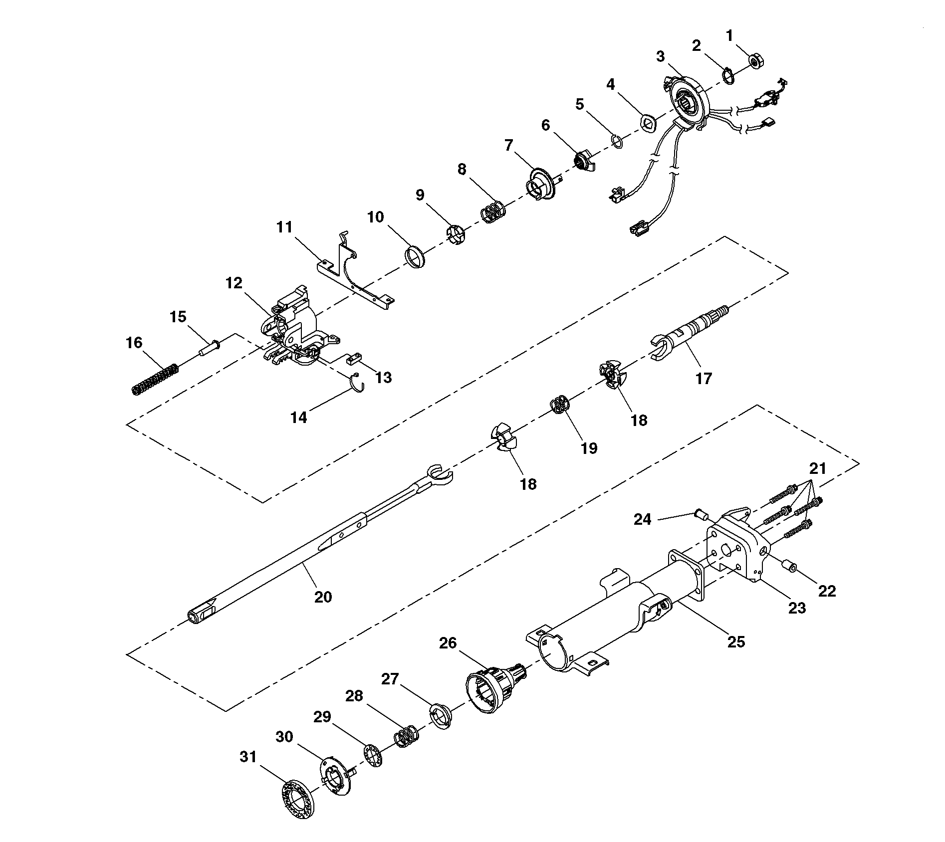
Tilt, Floor Shift Steering Column


Object Number: 371223  Size: LF
(1)Flanged Prevailing Torque Nut
(2)Retaining Ring
(3)SIR Coil
(4)Wave Washer
(5)Bearing Retainer
(6)Cam Orientation Plate
(7)Turn Signal Cancel Cam Assembly
(8)Upper Bearing Spring
(9)Upper Bearing Inner Race Seat
(10)Inner Race
(11)Switch Adapter Plate
(12)Bearing and Housing Assembly
(13)Wire Harness Spacer
(14)Wire Harness Strap
(15)Spring Guide
(16)Tilt Spring
(17)Race and Upper Shaft Assembly
(18)Centering Sphere
(19)Joint Preload Spring
(18)Centering Sphere
(20)Lower Shaft Assembly
(21)TORX® Head Screws
(22)Pivot Pin
(23)Steering Column Housing Assembly
(24)Pivot Pin
(25)Steering Column Jacket Assembly
(26)Adapter and Bearing Assembly
(27)Lower Bearing Seat
(28)Lower Bearing Spring
(29)Lower Spring Retainer
(30)Retainer
(31)Steering Shaft Seal