GM Service Manual Online
For 1990-2009 cars only

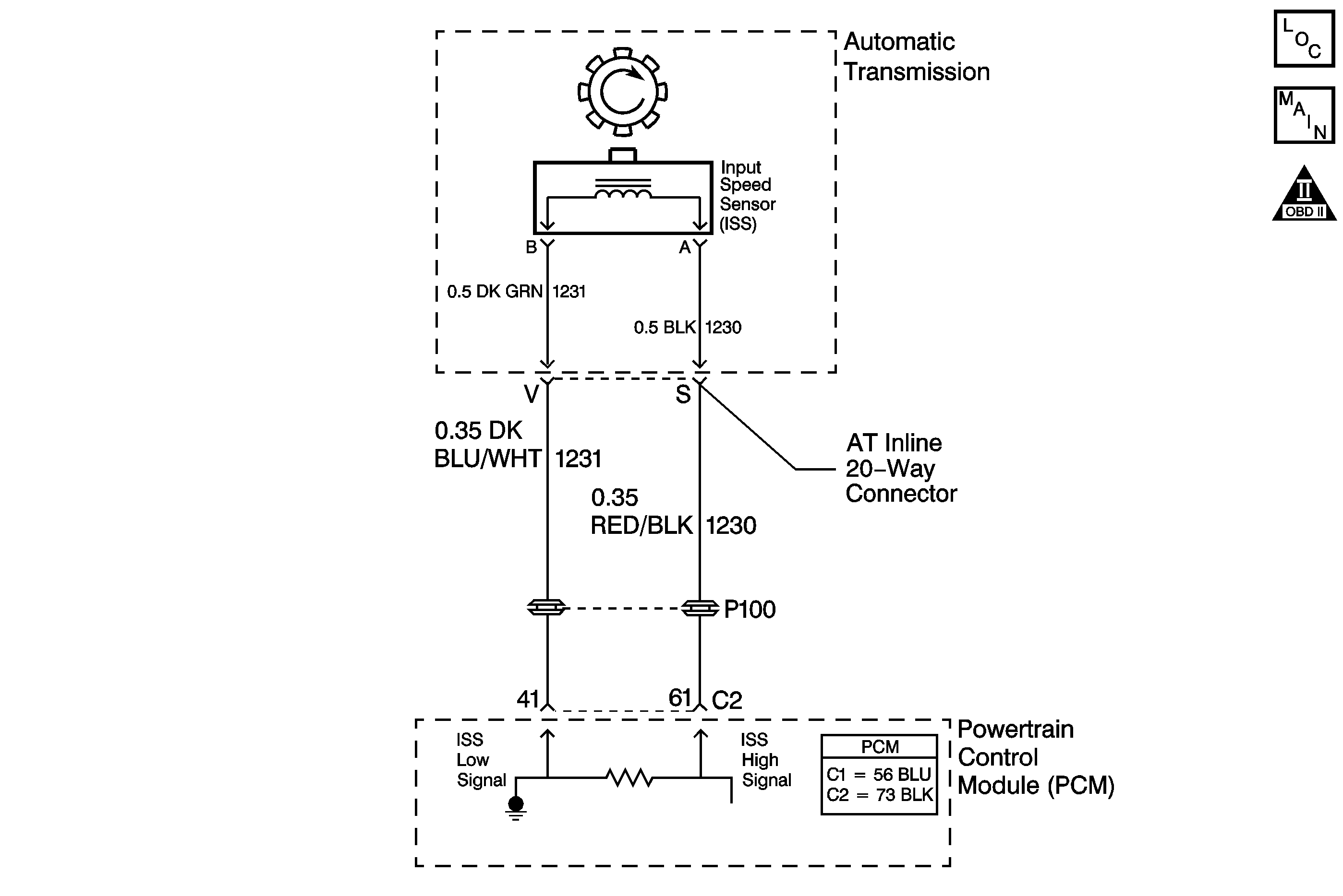
Object Number: 1277967  Size: MF
Master Electrical Component List
Automatic Transmission Controls Schematics
OBD II Symbol Description Notice

Circuit Description

The automatic transmission input speed sensor (ISS) provides transmission input speed to the PCM. The ISS is a permanent magnet generator. The sensor mounts into the transmission case and maintains a slight air gap between the sensor and the drive sprocket. The ISS produces an AC voltage as the drive sprocket rotor teeth pass through the magnetic field of the sensor. The AC voltage level increases as the turbine shaft speed increases. The PCM converts the AC voltage into a digital signal. The PCM determines actual turbine speed using the digital signal. The PCM uses the input speed to calculate torque converter slip speed, and gear ratios.

When the PCM detects an unreasonably large change in the input speed, in a very short period of time, then DTC P0716 sets. DTC P0716 is a type B DTC.

Conditions for Running the DTC

    • No MAP DTCs P0106, P0107, or P0108.
    • No TP DTCs P0122 or P0123.
    • No VSS DTCs P0502 or P0503.
    • No ISS DTC P0717.
    • No 1-2 SS valve DTCs P0751, P0752 or P0753.
    • The engine is running for 5 seconds.
    • The TP angle is 15 percent or greater.
    • The vehicle speed is 8 km/h (5 mph) or greater.
    • The engine torque is greater than 41 N·m (30 lb ft).

Conditions for Setting the DTC

The input speed changes by greater than 1,300 RPM in 0.8 seconds.

Action Taken When the DTC Sets

    • The PCM illuminates the malfunction indicator lamp (MIL) during the second consecutive trip in which the Conditions for Setting the DTC are met.
    • The PCM commands maximum line pressure.
    • The PCM freezes transmission adaptive functions.
    • The PCM records the operating conditions when the Conditions for Setting the DTC are met. The PCM stores this information as Freeze Frame and Failure Records.
    • The PCM stores DTC P0716 in PCM history during the second consecutive trip in which the Conditions for Setting the DTC are met.

Conditions for Clearing the MIL/DTC

    • The PCM turns OFF the MIL during the third consecutive trip in which the diagnostic test runs and passes.
    • A scan tool can clear the MIL/DTC.
    • The PCM clears the DTC from PCM history if the vehicle completes 40 warm-up cycles without an emission-related diagnostic fault occurring.
    • The PCM cancels the DTC default actions when the ignition switch is OFF long enough in order to power down the PCM.

Diagnostic Aids

Ensure the wiring harness is not stretched too tightly or other components are pressing on the connector body. Also, inspect for proper clearance to any other components and wiring. Refer to Testing for Intermittent Conditions and Poor Connections in Wiring Systems.

Test Description

The numbers below refer to the step numbers on the diagnostic table.

  1. This step tests the ISS for correct resistance.

  2. This step tests the ISS high signal circuit for being shorted to another circuit within the transmission.

Step

Action

Value(s)

Yes

No

1

Did you perform the Diagnostic System Check - Engine Controls?

--

Go to Step 2

Go to Diagnostic System Check - Engine Controls in Engine Controls - 2.2L

2

  1. Install a scan tool.
  2. Turn ON the ignition, with the engine OFF.
  3. Important: Before clearing the DTC, use the scan tool in order to record the Freeze Frame and Failure Records. Using the Clear Info function erases the Freeze Frame and Failure Records from the PCM.

  4. Record the DTC Freeze Frame and Failure Records.
  5. Clear the DTC.
  6. Start the engine.
  7. Select Transmission ISS on the scan tool.

Is the transmission input speed greater than the specified value?

500 RPM

Go to Intermittent Conditions in Engine Controls - 2.2L

Go to Step 3

3

  1. Turn OFF the ignition.
  2. Disconnect the AT inline 20-way connector. Additional DTCs may set.
  3. Install the J 44152 jumper harness (20 pins) on the transmission side of the AT inline 20-way connector.
  4. Using the DMM and the J 35616 GM-approved terminal test kit, measure the resistance between the ISS high signal and the ISS low signal circuits of the J 44152 .
  5. Refer to Automatic Transmission Inline 20-Way Connector End View .

Is the resistance within the specified range?

615-835 ohms

Go to Step 7

Go to Step 4

4

Is the resistance greater than the specified value?

835 ohms

Go to Step 5

Go to Step 6

5

  1. Test the high signal circuit of the ISS for a high resistance or an open between the AT inline 20-way connector and the ISS.
  2. Test the low signal circuit of the ISS for a high resistance or an open between the AT inline 20-way connector and the ISS.
  3. Refer to Testing for Continuity in Wiring Systems.

Did you find the condition?

--

Go to Step 11

Go to Step 12

6

Test the high signal circuit and the low signal circuit of the ISS for being shorted together between the AT inline 20-way connector and the ISS.

Refer to Circuit Testing in Wiring Systems.

Did you find the condition?

--

Go to Step 11

Go to Step 12

7

Measure the resistance between the ISS high signal circuit of the J 44152 and ground.

Refer to Automatic Transmission Inline 20-Way Connector End View .

Is the resistance less than the specified value?

1,000 ohms

Go to Step 11

Go to Step 8

8

Measure the resistance between the ISS high signal circuit and all other terminals, except the ISS low signal circuit, of the J 44152 .

Refer to Automatic Transmission Inline 20-Way Connector End View .

Is the resistance less than the specified value?

1,000 ohms

Go to Step 11

Go to Step 9

9

Test the high signal circuit of the ISS for a high resistance, an open, a short to ground or a short to voltage between the PCM connector C2 and the AT inline 20-way connector.

Refer to Circuit Testing and Wiring Repairs in Wiring Systems.

Did you find and correct a condition?

--

Go to Step 14

Go to Step 10

10

Test the low signal circuit of the ISS for a high resistance or an open between the PCM connector C2 and the AT inline 20-way connector.

Refer to Testing for Continuity and Wiring Repairs in Wiring Systems.

Did you find and correct a condition?

--

Go to Step 14

Go to Step 13

11

Replace the automatic transmission wiring harness.

Refer to Wiring Harness Replacement .

Did you complete the replacement?

--

Go to Step 14

--

12

Replace the ISS.

Refer to Input Speed Sensor Removal in Transmission Unit Repair Manual.

Did you complete the replacement?

--

Go to Step 14

--

13

Replace the PCM.

Refer to Powertrain Control Module Replacement in Engine Controls - 2.2L.

Did you complete the replacement?

--

Go to Step 14

--

14

Perform the following procedure in order to verify the repair:

  1. Select DTC.
  2. Select Clear Info.
  3. Operate the vehicle under the following conditions:
  4. • Start the engine.
    • The transmission input speed must be greater than 450 RPM without a speed change greater than 300 RPM within 0.8 seconds.
  5. Select Specific DTC.
  6. Enter DTC P0716.

Has the test run and passed?

--

Go to Step 15

Go to Step 2

15

With the scan tool, observe the stored information, capture info and DTC info.

Does the scan tool display any DTCs that you have not diagnosed?

--

Go to Diagnostic Trouble Code (DTC) List in Engine Controls - 2.2L

System OK