GM Service Manual Online
For 1990-2009 cars only

Removal Procedure

  1. Remove the rear door water deflector. Refer to Rear Side Door Water Deflector Replacement .

  2. Object Number: 737652  Size: SH
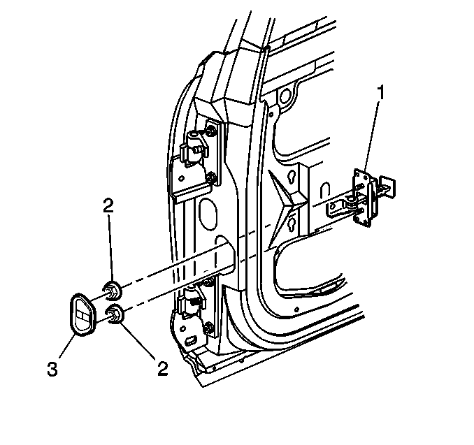
  3. Remove the check link bolt.

  4. Object Number: 276409  Size: SH
  5. Using a small flat-bladed tool, remove the rear door check link grommet (3).
  6. Remove the check link nuts (2).
  7. Remove the check link from the rear door.

Installation Procedure


    Object Number: 276409  Size: SH
  1. Position the check link in the rear door.
  2. Notice: Use the correct fastener in the correct location. Replacement fasteners must be the correct part number for that application. Fasteners requiring replacement or fasteners requiring the use of thread locking compound or sealant are identified in the service procedure. Do not use paints, lubricants, or corrosion inhibitors on fasteners or fastener joint surfaces unless specified. These coatings affect fastener torque and joint clamping force and may damage the fastener. Use the correct tightening sequence and specifications when installing fasteners in order to avoid damage to parts and systems.

  3. Install the rear door check link nuts (2).
  4. Tighten
    Tighten the nuts to 10 N·m (89 lb in).

  5. Install the rear door check link grommet (3).

  6. Object Number: 737652  Size: SH
  7. Install the front door check link bolt.
  8. Tighten
    Tighten the bolt to 9 N·m (80 lb in).

  9. Install the rear door water deflector. Refer to Rear Side Door Water Deflector Replacement .