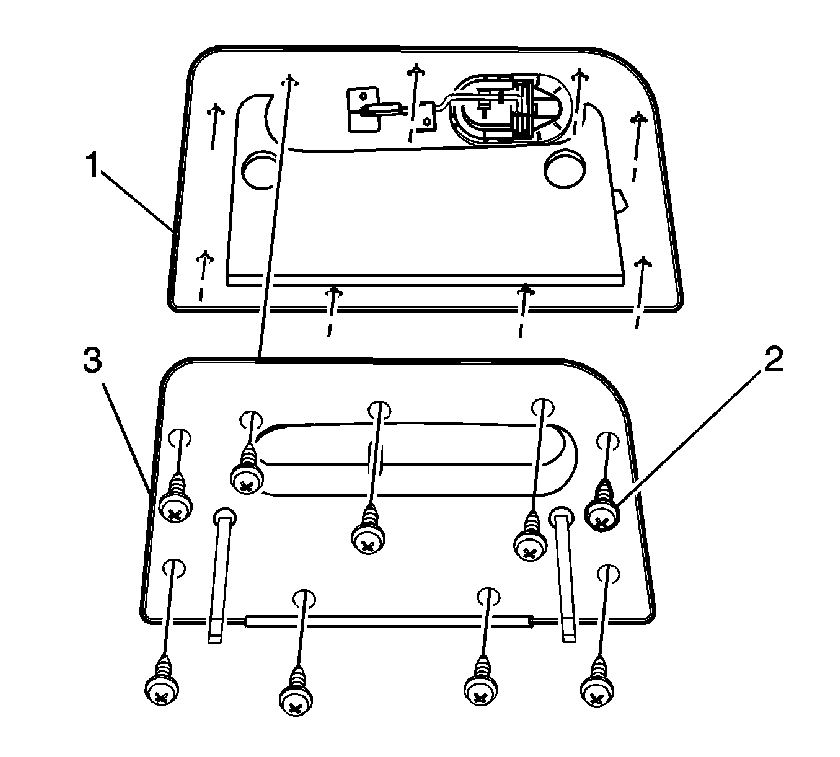
Removal Procedure
- Open the instrument panel (I/P) compartment
door (1).
- Remove the screws (2) from the reinforcement cover (3)
on the I/P door (1).
- Separate the reinforcement cover (3) from the I/P door (1).
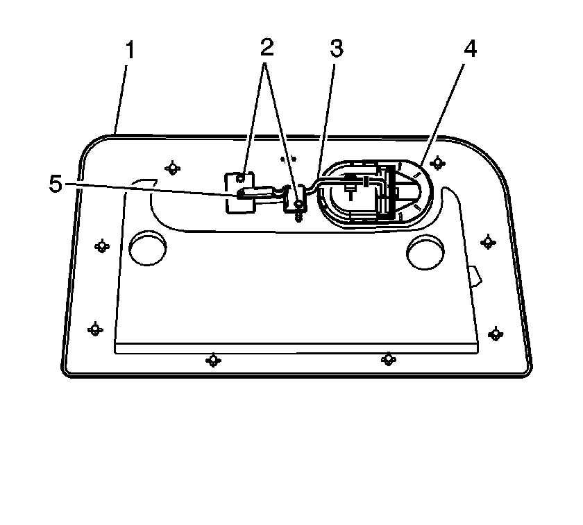
- Remove the screws (2) from the door
latch (5).
- Remove the door latch (5) from the I/P door (1).
- Remove the latch rod (3) from the door latch handle (4).
Installation Procedure
- Install the latch rod (3) to the
door latch handle (4).
- Install the door latch (5) to the I/P door (1).
Notice: Refer to Fastener Notice in the Preface section.
- Install the screws (2) to the door latch (5).
Tighten
Tighten the screws to 2.3 N·m (20 lb in).
- Install the reinforcement cover (3)
to the I/P door (1).
- Install the screws (2) to the reinforcement cover (3).
Tighten
Tighten the screws to 2.3 N·m (20 lb in).
- Close the I/P compartment door (1).