GM Service Manual Online
For 1990-2009 cars only

Removal Procedure

  1. Remove the front bucket seat. Refer to Seat Replacement .
  2. Adjust the seat back cushion cover to gain access to the upper recliner bolts. Refer to Front Seat Back Cushion Cover Replacement .
  3. Remove the seat back recliner handle. Refer to Driver Seat and Passenger Seat Recliner Handle Replacement .
  4. Adjust the seat cushion cover to gain access to the lower recliner bolts. Refer to Front Seat Cushion Cover Replacement .

  5. Object Number: 820965  Size: SH
  6. On the outer recliner, perform the following steps:
  7. 5.1. Remove the cable conduit bracket bolt (3).
    5.2. Rotate the cable conduit 90 degrees.
    5.3. Remove the cable end (2) from the recliner (1).

    Object Number: 820967  Size: SH
  8. On the inner recliner, perform the following steps:
  9. 6.1. Remove the cable conduit (2) from the recliner retainer.
    6.2. Rotate the cable end (1) 90 degrees.
    6.3. Remove the cable end (1) from the recliner (3).

    Object Number: 800249  Size: SH
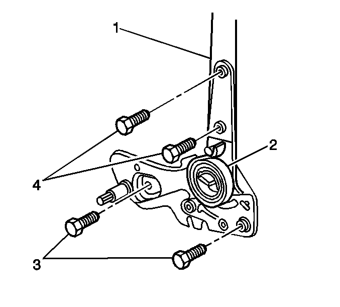
  10. Remove the bolts (3, and 4) from the recliner (2).
  11. Remove the recliner (2) from the seat cushion frame and the seat back frame (1).

Installation Procedure


    Object Number: 800249  Size: SH
  1. Position the recliner (2) to the seat cushion frame and the seat back frame (1).
  2. Notice: Use the correct fastener in the correct location. Replacement fasteners must be the correct part number for that application. Fasteners requiring replacement or fasteners requiring the use of thread locking compound or sealant are identified in the service procedure. Do not use paints, lubricants, or corrosion inhibitors on fasteners or fastener joint surfaces unless specified. These coatings affect fastener torque and joint clamping force and may damage the fastener. Use the correct tightening sequence and specifications when installing fasteners in order to avoid damage to parts and systems.

  3. Install the recliner bolts (4) to the seat back frame.
  4. Tighten
    Tighten the bolts to 18 N·m (13 lb ft).

  5. Install the recliner bolts (3) to the cushion frame.
  6. Tighten
    Tighten the bolts to 25 N·m (18 lb ft).


    Object Number: 820967  Size: SH
  7. On the inner recliner, perform the following steps:
  8. 4.1. Install the cable end (1) to the recliner (3) .
    4.2. Rotate the cable end (1) 90 degrees .
    4.3. Install the cable conduit (2) to the recliner retainer.

    Object Number: 820965  Size: SH
  9. On the outer recliner, perform the following steps:
  10. 5.1.  Install the cable end (2) to the recliner.
    5.2. Rotate the cable conduit 90 degrees.
    5.3. Install the cable conduit bracket bolt (3).

    Tighten
    Tighten the bolt to 5 N·m (44 lb in).

  11. Adjust the front seat cushion cover to a desired appearance. Refer to Front Seat Cushion Cover Replacement .
  12. Install the seat back recliner handle. Refer to Driver Seat and Passenger Seat Recliner Handle Replacement .
  13. Adjust the seat back cover to a desired appearance. Refer to Front Seat Back Cushion Cover Replacement .
  14. Install the front bucket seat. Refer to Seat Replacement .