GM Service Manual Online
For 1990-2009 cars only
Table 1: Crankshaft Position (CKP) Sensor
Table 2: Engine Coolant Temperature (ECT) Sensor
Table 3: Evaporative Emission (EVAP) Canister Purge Solenoid
Table 4: Evaporative Emission (EVAP) Canister Vent Solenoid
Table 5: Fuel Injector 1
Table 6: Fuel Injector 2
Table 7: Fuel Injector 3
Table 8: Fuel Injector 4
Table 9: Fuel Pump and Sender Assembly
Table 10: Fuel Tank Pressure (FTP) Sensor
Table 11: Heated Oxygen Sensor (HO2S) Sensor 1
Table 12: Heated Oxygen Sensor (HO2S) Sensor 2
Table 13: Idle Air Control (IAC) Valve
Table 14: Ignition Control Module (ICM)
Table 15: Intake Air Temperature (IAT) Sensor
Table 16: Knock Sensor (KS)
Table 17: Manifold Absolute Pressure (MAP) Sensor
Table 18: Throttle Position (TP) Sensor

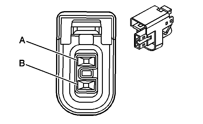
Crankshaft Position (CKP) Sensor


Object Number: 237066  Size: CH

Connector Part Information

    • 12162192
    •  2-Way F Metri-Pack 150.2 Series Pull-to-Seat Sealed (BLK)

Pin

Wire Color

Circuit No.

Function

A

PPL

574

Low Reference

B

YEL

573

CKP Sensor 1 Signal

Engine Coolant Temperature (ECT) Sensor


Object Number: 655692  Size: CH

Connector Part Information

    • 12162192
    •  2-Way F Metri-Pack 150.2 Series Pull-to-Seat Sealed (BLK)

Pin

Wire Color

Circuit No.

Function

A

BLK/WHT

2761

Low Reference

B

YEL

410

ECT Sensor Signal

Evaporative Emission (EVAP) Canister Purge Solenoid


Object Number: 684795  Size: CH

Connector Part Information

    • 12052637
    • 2-Way F Metri-Pack 150 Series Sealed (RED)

Pin

Wire Color

Circuit No.

Function

A

BRN

241

Ignition 3 Voltage

B

DK GRN/WHT

428

EVAP Canister Purge Solenoid Control

Evaporative Emission (EVAP) Canister Vent Solenoid


Object Number: 334626  Size: CH

Connector Part Information

    • 12059862
    • 2-Way F Metri-Pack 150 Series Sealed (BRN)

Pin

Wire Color

Circuit No.

Function

A

BRN

241

Ignition 3 Voltage

B

WHT

1310

EVAP Canister Vent Solenoid Control

Fuel Injector 1


Object Number: 806497  Size: CH

Connector Part Information

    • 15326180
    • 2-Way F Micro-Pack 64 Series Sealed (BLK)

Pin

Wire Color

Circuit No.

Function

A

PNK

839

Ignition 1 Voltage

B

BLK

1744

Fuel Injector 1 Control

Fuel Injector 2


Object Number: 806497  Size: CH

Connector Part Information

    • 15326180
    • 2-Way F Micro-Pack 64 Series Sealed (BLK)

Pin

Wire Color

Circuit No.

Function

A

PNK

839

Ignition 1 Voltage

B

LT GRN/BLK

1745

Fuel Injector 2 Control

Fuel Injector 3


Object Number: 806497  Size: CH

Connector Part Information

    • 15326180
    • 2-Way F Micro-Pack 64 Series Sealed (BLK)

Pin

Wire Color

Circuit No.

Function

A

PNK

839

Ignition 1 Voltage

B

PNK/BLK

1746

Fuel Injector 3 Control

Fuel Injector 4


Object Number: 806497  Size: CH

Connector Part Information

    • 15326180
    • 2-Way F Micro-Pack 64 Series Sealed (BLK)

A

PNK

839

Ignition 1 Voltage

B

LT BLU/BLK

844

Fuel Injector 4 Control

Fuel Pump and Sender Assembly


Object Number: 258300  Size: CH

Connector Part Information

    • 12059110
    • 4-Way F Metri-Pack 150 Series (BLK)

Pin

Wire Color

Circuit No.

Function

A

PPL

1589

Fuel Level Sensor Signal

B

GRY

120

Fuel Pump Supply Voltage

C

BLK

650

Ground

D

BLK/WHT

651

Ground

Fuel Tank Pressure (FTP) Sensor


Object Number: 516611  Size: CH

Connector Part Information

    • 12059595
    •  3-Way F Metri-Pack 150 Series Sealed (BLK)

Pin

Wire Color

Circuit No.

Function

A

ORN/BLK

469

Low Reference

B

DK GRN

890

Fuel Tank Pressure Sensor Signal

C

GRY

416

5-Volt Reference

Heated Oxygen Sensor (HO2S) Sensor 1


Object Number: 456551  Size: CH

Connector Part Information

    • 12160479
    • 4-Way F Metri-Pack 150 Series Sealed (BLK)

Pin

Wire Color

Circuit No.

Function

A

TAN

1667

HO2S Low Signal (Bank 1 Sensor 1)

B

PPL

1666

HO2S High Signal (Bank 1 Sensor 1)

C

DK GRN

676

HO2S Heater Low Control (Bank 1 Sensor 1)

D

PNK

1039

Ignition 1 Voltage

Heated Oxygen Sensor (HO2S) Sensor 2


Object Number: 806613  Size: CH

Connector Part Information

    • 15326423
    • 4-Way M Metri-Pack 150 Series Sealed (GRY)

Pin

Wire Color

Circuit No.

Function

A

TAN/WHT

1669

HO2S Low Signal (Bank 1 Sensor 2)

B

PPL/WHT

1668

HO2S High Signal (Bank 1 Sensor 2)

C

BLK/WHT

1423

HO2S Heater Low Control (Bank 1 Sensor 2)

D

BRN

241

Ignition 3 Voltage

Idle Air Control (IAC) Valve


Object Number: 684948  Size: CH

Connector Part Information

    • 15354717
    • 4-Way F Global Terminal 150 Series Sealed (BLK)

Pin

Wire Color

Circuit No.

Function

A

LT GRN/BLK

444

IAC Coil B Low Control

B

LT GRN/WHT

1749

IAC Coil B High Control

C

LT BLU/BLK

1748

IAC Coil A Low Control

D

LT BLU/WHT

1747

IAC Coil A High Control

Ignition Control Module (ICM)


Object Number: 806615  Size: CH

Connector Part Information

    • 15326098
    • 9-Way F Global Terminal 150 Series Sealed (BLK)

Pin

Wire Color

Circuit No.

Function

A

PNK

239

Ignition 1 Voltage

B

WHT

423

IC Timing Control

C-D

--

--

Not Used

E

BLK

450

Ground

F

BRN/WHT

633

CMP Sensor Signal

G

ORN

406

IC Timing Control B

H-J

--

--

Not Used

Intake Air Temperature (IAT) Sensor


Object Number: 646180  Size: CH

Connector Part Information

    • 12162196
    • 2-Way F Metri-Pack 150.2 Series Pull-to-Seat Sealed (MD GRY)

Pin

Wire Color

Circuit No.

Function

A

BLK

2760

Low Reference

B

TAN

472

IAT Sensor Signal

Knock Sensor (KS)


Object Number: 684799  Size: CH

Connector Part Information

    • 12077901
    • 2-Way F Metri-Pack 280 Series Sealed (BLK)

Pin

Wire Color

Circuit No.

Function

A

DK BLU

496

Knock Sensor Signal

B

GRY

1716

Low Reference

Manifold Absolute Pressure (MAP) Sensor


Object Number: 684840  Size: CH

Connector Part Information

    • 12129945
    • 3-Way F Metri-Pack 150 Series Sealed (GRY)

Pin

Wire Color

Circuit No.

Function

A

ORN/BLK

469

Low Reference

B

LT GRN

432

MAP Sensor Signal

C

GRY

2704

5-Volt Reference

Throttle Position (TP) Sensor


Object Number: 646415  Size: CH

Connector Part Information

    • 15326807
    • 3-Way F Global Terminal 150 Series Sealed (BLK)

Pin

Wire Color

Circuit No.

Function

A

GRY/BLK

2701

5-Volt Reference

B

BLK

2752

Low Reference

C

DK BLU

417

TP Sensor Signal