GM Service Manual Online
For 1990-2009 cars only

Removal Procedure

The sunroof system contains a two-piece sunroof sunshade. Service the front sunshade and the rear sunshade together as one complete set.

  1. Remove the sunroof window. Refer to Sunroof Window Replacement .

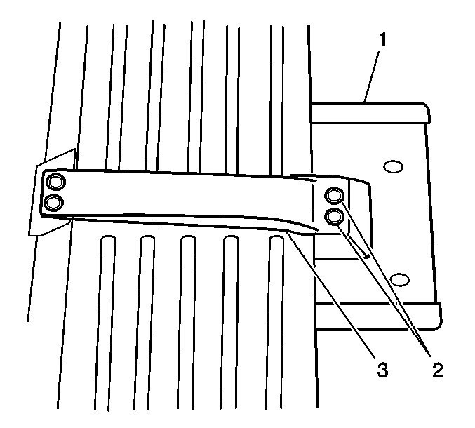
  2. Object Number: 607154  Size: SH
  3. Slide the front and the rear sunshade forward, into the closed position.
  4. Drill out the rivets (2) that retain the sun shade panel to the stop strap (3).
  5. Arch the center of the rear sunshade upwards in order to lift the rear sunshade out of the sunshade channel.
  6. Remove the rear sunshade from the sunroof module.
  7. Slide the front sunshade rearward.

  8. Object Number: 609427  Size: SH
  9. Ensure that the front edge of the front sunshade is just behind the track clearance step (1).
  10. Arch the center of the front sunshade upwards in order to lift the front sunshade out of the sunshade channel.
  11. Remove the front sunshade from the sunroof module.

Installation Procedure


    Object Number: 609427  Size: SH
  1. Install the front sunshade to the sunroof module.
  2. Ensure that the front edge of the front sunshade is just behind the track clearance step (1).

  3. Insert one side of the front sunshade into the sunshade channel.
  4. Arch the center of the front sunshade upwards.
  5. This will allow the other side of the front sunshade to drop into the sunshade channel.

  6. Slide the front sunshade forward.
  7. Install the rear sunshade to the sunroof module.
  8. Ensure that the front edge of the rear sunshade is just behind the track clearance step.

  9. Insert one side of the rear sunshade into the sunshade channel.
  10. Arch the center of the rear sunshade upwards.
  11. This will allow the other side of the rear sunshade to drop into the sunshade channel.


    Object Number: 607154  Size: SH
  12. Install new rivets (2) to the sunshade stop strap (3).
  13. Install the sunshade window. Refer to Sunroof Window Replacement .
  14. Do not allow the sunshade to bind the channel.