GM Service Manual Online
For 1990-2009 cars only

Removal Procedure

  1. Open the sunroof window.

  2. Object Number: 607151  Size: SH
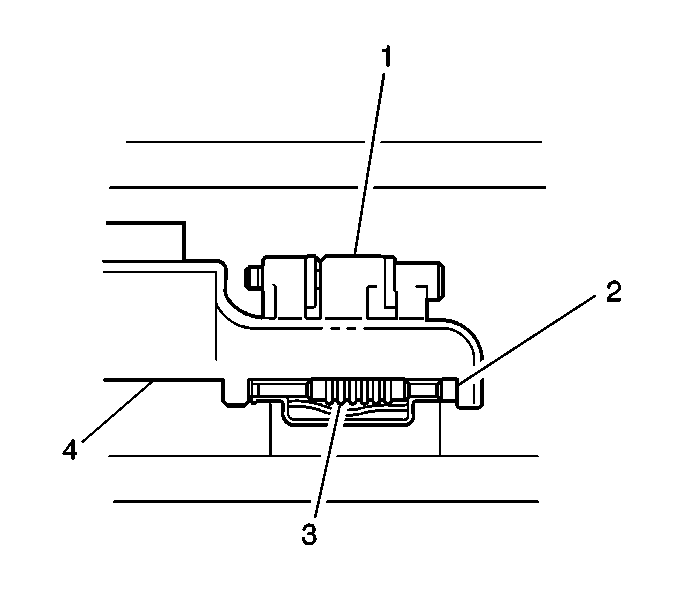
  3. Push out the knurled pins (1) that are securing the sunroof wind deflector to the sunroof module.
  4. Remove the sunroof wind deflector (4) from the sunroof module.

Installation Procedure


    Object Number: 607151  Size: SH
  1. Install the sunroof wind deflector (4) to the sunroof module.
  2. Re-install knurled pins (1) to secure the sunroof wind deflector to the sunroof module.
  3. Verify that the spring action of the sunroof wind deflector is operating.
  4. Push down on the sunroof wind deflector in order to verify the spring action.

  5. Close the sunroof window.