|
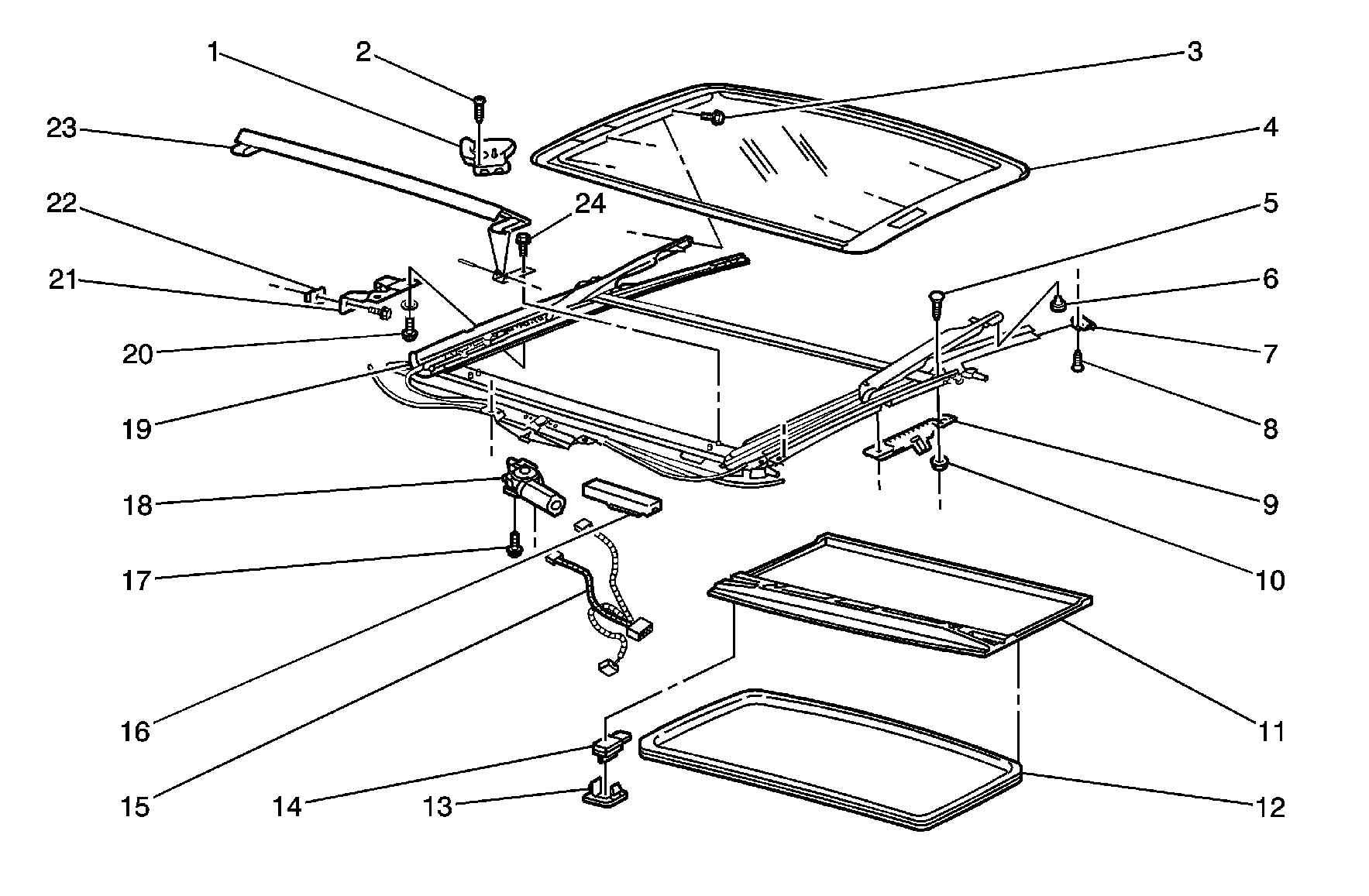
| (1) | Sunroof Opening
Position Switch |
| (2) | Sunroof Opening
Position Switch Screw |
| (3) | Sunroof Window
Bolt/Screw |
| (4) | Sunroof Window
Panel |
| (5) | Sunroof Module
Bracket Bolt |
| (6) | Sunroof Window
Guide Bumper |
| (7) | Sunroof Sunshade
Stop |
| (8) | Sunroof Sunshade
Stop Screw |
| (9) | Sunroof Module
Bracket |
| (10) | Sunroof
Module Bracket Nut |
| (11) | Sunroof
Sunshade |
| (12) | Sunroof
Opening Trim Lace |
| (13) | Sunroof
Switch Bezel |
| (14) | Sunroof
Switch |
| (15) | Sunroof
Wiring Harness |
| (16) | Sunroof Control
Module |
| (17) | Sunroof Actuator/Motor
Bolt/screw |
| (18) | Sunroof Actuator/Motor |
| (19) | Sunroof Module
Assembly |
| (20) | Sunroof Module
Bracket-to-Housing Bolt |
| (21) | Sunroof Module
Bracket |
| (22) | Sunroof Module
Bracket Roof Nut |
| (23) | Sunroof Air
Deflector |
| (24) | Sunroof Air
Deflector Bolt/Screw |