GM Service Manual Online
For 1990-2009 cars only
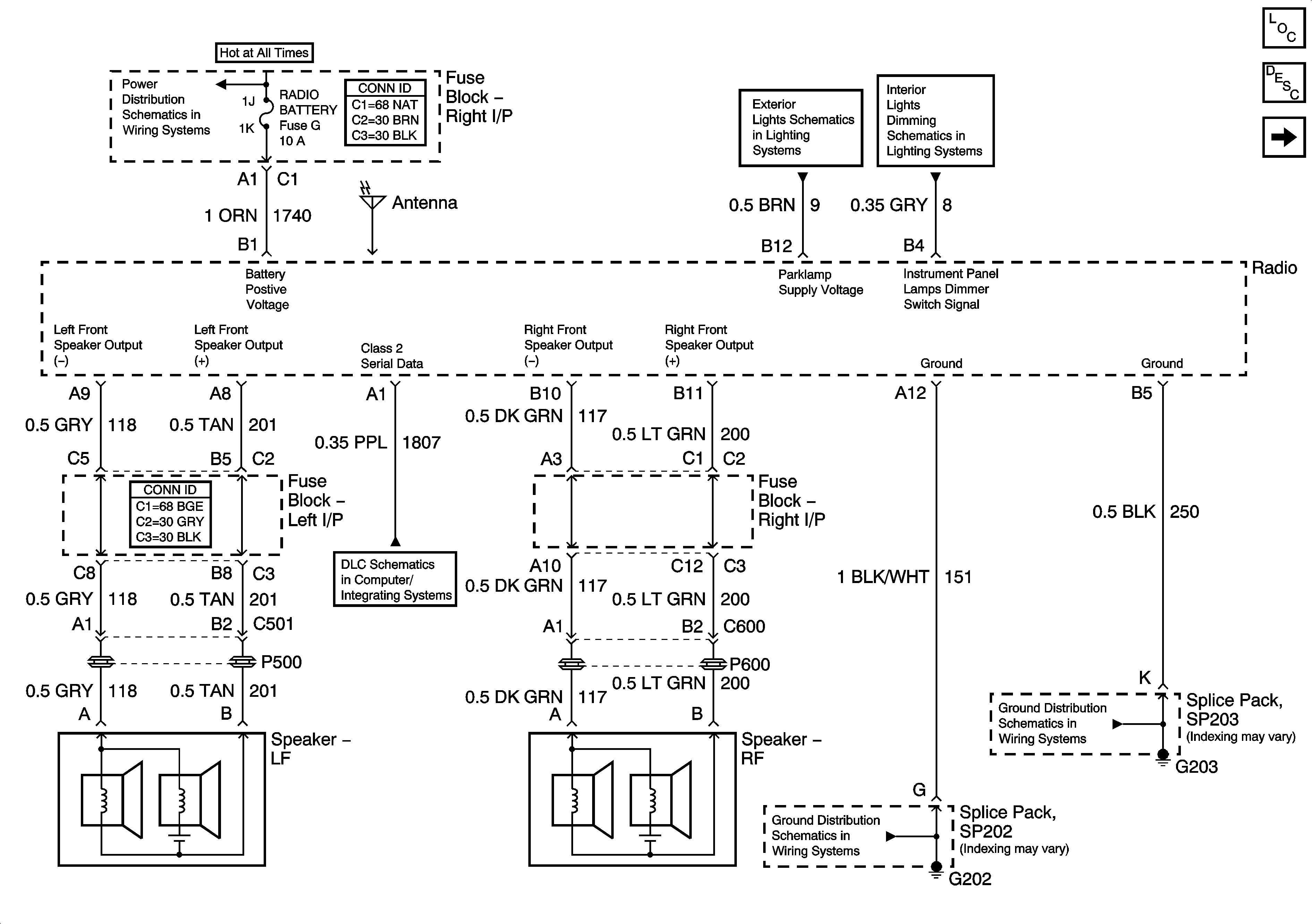
Figure 1:

Power and Front Speakers


Object Number: 1493963  Size: FS
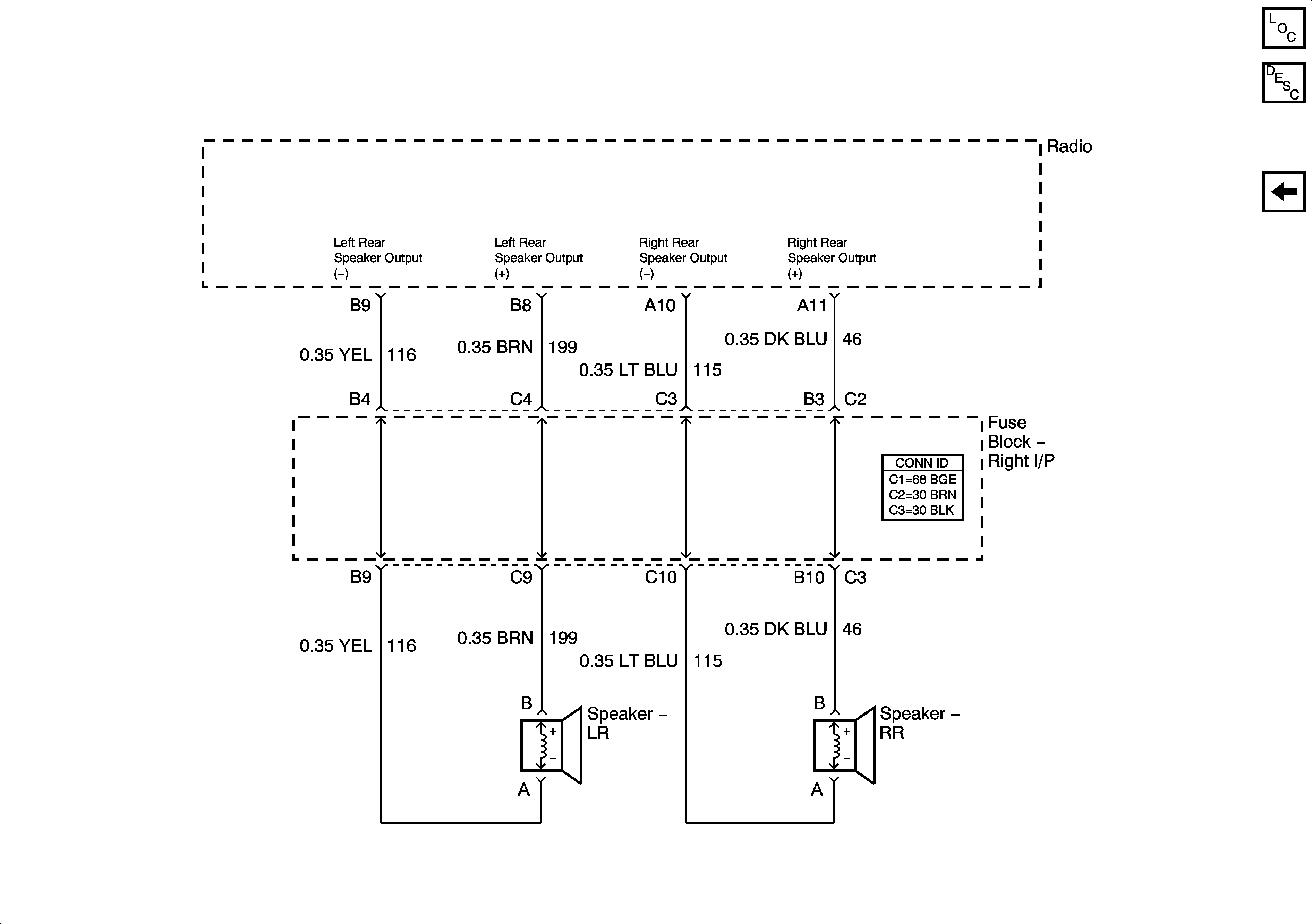
Figure 2:

Rear Speakers with Radio Amplifier


Object Number: 778532  Size: FS
Figure 3:

Rear Speakers w/o Radio Amplifier


Object Number: 778555  Size: FS