| Table 1: | Powertrain Control Module (PCM) C1 |
| Table 2: | Powertrain Control Module (PCM) C2 |
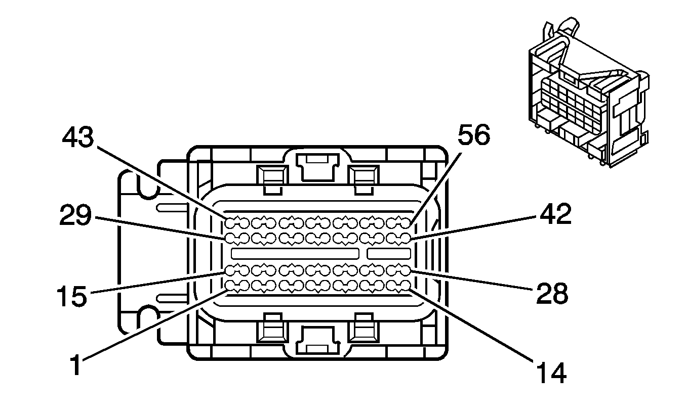
| Table 3: | Powertrain Control Module (PCM) C3 (MU3) |
| |||||||||
|---|---|---|---|---|---|---|---|---|---|
Connector Part Information |
| ||||||||
Pin | Wire Color | Circuit No. | Function | ||||||
1 | TN/BK | 2500 | High Speed GMLAN Serial Data (+) (1) | ||||||
2 | TN | 2501 | High Speed GMLAN Serial Data (-) (1) | ||||||
3-5 | -- | -- | Not Used | ||||||
6 | D-GN/WH | 459 | A/C Compressor Clutch Relay Control | ||||||
7 | BN | 1271 | Accelerator Pedal Position Low Reference (1) | ||||||
8 | PU | 1272 | Accelerator Pedal Position Low Reference (2) | ||||||
9 | -- | -- | Not Used | ||||||
10 | D-BU | 473 | High Speed Cooling Fan Relay Control | ||||||
11 | -- | -- | Not Used | ||||||
12 | PU | 1589 | Primary Fuel Level Sensor Signal | ||||||
13 | PK/BK | 5293 | Engine Main Relay Fused Control (4) | ||||||
14 | L-BU | 6118 | Manifold Air Temperature Sensor Signal | ||||||
15 | -- | -- | Not Used | ||||||
16 | D-GN | 1049 | ECM/PCM/VCM Class 2 Serial Data | ||||||
17 | GY | 2700 | A/C Pressure Sensor 5-Volt Reference | ||||||
18 | BN | 4 | Accessory Voltage | ||||||
19 | PK/BK | 1039 | Run/Crank Ignition 1 Voltage | ||||||
20 | RD/WH | 840 | Battery Positive Voltage | ||||||
21 | -- | -- | Not Used | ||||||
22 | WH | 1310 | EVAP Canister Vent Solenoid Control | ||||||
23 | -- | -- | Not Used | ||||||
24 | D-GN | 890 | Fuel Tank Pressure Sensor Signal | ||||||
25 | -- | -- | Not Used | ||||||
26 | OG/BK | 380 | A/C Refrigerant Pressure Sensor Signal | ||||||
27 | D-BU | 1161 | Accelerator Pedal Position Signal (1) | ||||||
28 | -- | -- | Not Used | ||||||
29 | TN | 2759 | Fuel Tank Pressure Sensor Low Reference | ||||||
30 | WH/BK | 1164 | Accelerator Pedal Position 5-Volt Reference (1) | ||||||
31 | -- | -- | Not Used | ||||||
32 | L-BU | 20 | Stop Lamp Supply Voltage | ||||||
33 | -- | -- | Not Used | ||||||
34 | PK | 2014 | Coolant Pump Relay Coil Control | ||||||
35-36 | -- | -- | Not Used | ||||||
37 | D-GN/WH | 465 | Fuel Pump Primary Relay Control | ||||||
38 | BN | 5069 | Engine Main Relay Coil Control | ||||||
39 | -- | -- | Not Used | ||||||
40 | BN/WH | 419 | Check Engine Indicator Control | ||||||
41 | L-BU | 1162 | Accelerator Pedal Position Signal (2) | ||||||
42 | -- | -- | Not Used | ||||||
43 | TN | 1274 | Accelerator Pedal Position 5-Volt Reference (2) | ||||||
44-45 | -- | -- | Not Used | ||||||
46 | PU | 420 | Torque Converter Clutch Brake Switch Signal | ||||||
47 | GY | 2709 | Fuel Tank Pressure Sensor 5-Volt Reference | ||||||
48 | YE | 447 | Starter Relay Coil Control | ||||||
49-50 | -- | -- | Not Used | ||||||
51 | D-GN | 335 | Low Speed Cooling Fan Relay Control | ||||||
52 | -- | -- | Not Used | ||||||
53 | BN/WH | 379 | Cruise Control Clutch Pedal Position Switch Signal | ||||||
54 | D-GN | 1433 | Clutch Start Switch Signal | ||||||
55 | -- | -- | Not Used | ||||||
56 | BK/WH | 2751 | Signal Ground | ||||||
| |||||||||
|---|---|---|---|---|---|---|---|---|---|
Connector Part Information |
| ||||||||
Pin | Wire Color | Circuit No. | Function | ||||||
1 | RD | 225 | Generator Turn On Signal | ||||||
2 | D-GN | 485 | Throttle Position Sensor Signal (1) | ||||||
3 | -- | -- | Not Used | ||||||
4 | GY | 596 | 5-Volt Reference | ||||||
5 | GY | 2704 | Manifold Absolute Pressure Sensor 5-Volt Reference | ||||||
6 | GY | 2701 | Throttle Position Sensor 5-Volt Reference | ||||||
7 | PU | 486 | Throttle Position Sensor Signal (2) | ||||||
8 | D-GN | 6291 | Manifold Absolute Pressure Sensor #2-Volt Reference | ||||||
9 | L-BU/BK | 1688 | 5-Volt Reference | ||||||
10-15 | -- | -- | Not Used | ||||||
16 | PU | 6413 | EST Return Low Reference | ||||||
17 | YE | 573 | Crankshaft Position Sensor Signal (1) | ||||||
18 | PU | 574 | Crankshaft Position Sensor Low Reference (1) | ||||||
19 | -- | -- | Not Used | ||||||
20 | D-GN/WH | 6292 | Manifold Absolute Pressure #2 Low Reference | ||||||
21 | PK/BK | 632 | Camshaft Position Sensor Low Reference | ||||||
22-24 | -- | -- | Not Used | ||||||
25 | TN/WH | 1669 | Heated Oxygen Sensor Low Signal Bank 1 Sensor (2) | ||||||
26 | BN/WH | 633 | Camshaft Position Sensor Signal | ||||||
27-28 | -- | -- | Not Used | ||||||
29 | GY | 1724 | Supercharger Boost Solenoid Control | ||||||
30 | OG/BK | 469 | Manifold Absolute Pressure Sensor Low Reference | ||||||
31 | -- | -- | Not Used | ||||||
32 | TN | 1667 | Heated Oxygen Sensor Low Signal Bank 2 Sensor (1) | ||||||
33 | BK | 1744 | Fuel Injector Control (1) | ||||||
34 | -- | -- | Not Used | ||||||
35 | YE | 410 | Engine Coolant Temperature Sensor Signal | ||||||
36 | BK/WH | 1704 | Sensor Low Reference | ||||||
37 | GY | 6337 | Manifold Absolute Pressure Sensor #2 Signal | ||||||
38 | L-GN | 432 | Manifold Absolute Pressure Sensor Signal | ||||||
39 | BK | 2752 | Throttle Position Sensor Low Reference | ||||||
40 | BN/WH | 6405 | EST A Control | ||||||
41 | YE | 492 | Mass Air Flow Sensor Signal | ||||||
42 | D-GN/WH | 6407 | EST C Control | ||||||
43 | BK/WH | 1423 | Heated Oxygen Sensor Heater Low Control Bank 1 Sensor (2) | ||||||
44 | -- | -- | Not Used | ||||||
45 | GY | 23 | Generator Field Duty Cycle Signal | ||||||
46 | PU/WH | 1668 | Heated Oxygen Sensor High Signal Bank 1 Sensor (2) | ||||||
47 | -- | -- | Not Used | ||||||
48 | PU | 1666 | Heated Oxygen Sensor High Signal Bank 2 Sensor (1) | ||||||
49-50 | -- | -- | Not Used | ||||||
51 | TN | 472 | Intake Air Temperature Sensor Signal | ||||||
52 | BK | 2761 | Coolant Temperature Sensor Low Reference | ||||||
53 | L-GN/BK | 1745 | Fuel Injector Control (2) | ||||||
54 | L-BU/BK | 844 | Fuel Injector Control (4) | ||||||
55 | PK/BK | 1746 | Fuel Injector Control (3) | ||||||
56-57 | -- | -- | Not Used | ||||||
58 | D-GN | 676 | Heated Oxygen Sensor Heater High Control Bank 1 Sensor (1) | ||||||
59 | D-BU/WH | 6406 | EST B Control | ||||||
60 | L-BU/WH | 6408 | EST D Control | ||||||
61-63 | -- | -- | Not Used | ||||||
64 | BK | 2760 | Intake Air Temperature Sensor Low Reference | ||||||
65 | BN | 582 | Throttle Actuator Control Close | ||||||
66 | YE | 581 | Throttle Actuator Control Open | ||||||
67 | -- | -- | Not Used | ||||||
68 | D-BU | 496 | Knock Sensor Signal (1) | ||||||
69 | GY | 1716 | Knock Sensor Low Reference (1) | ||||||
70-72 | -- | -- | Not Used | ||||||
73 | BK/WH | 451 | Signal Ground | ||||||
| |||||||||
|---|---|---|---|---|---|---|---|---|---|
Connector Part Information |
| ||||||||
Pin | Wire Color | Circuit No. | Function | ||||||
1-9 | -- | -- | Not Used | ||||||
10 | TN | 891 | Boost Gage Signal | ||||||
11-14 | -- | -- | Not Used | ||||||
15 | TN/BK | 231 | Oil Pressure Switch Signal | ||||||
16-21 | -- | -- | Not Used | ||||||
22 | WH/BK | 2932 | 5-Volt Reference | ||||||
23-30 | -- | -- | Not Used | ||||||
31 | GY/BK | 433 | BARO Sensor Signal | ||||||
32-35 | -- | -- | Not Used | ||||||
36 | OG/BK | 6014 | Low Reference | ||||||
37 | D-GN/WH | 428 | EVAP Canister Purge Solenoid Control | ||||||
38-43 | -- | -- | Not Used | ||||||
44 | PU | 401 | VSS Low Signal | ||||||
45 | YE | 400 | VSS High Signal | ||||||
46-56 | -- | -- | Not Used | ||||||