Callout | Component Name |
|---|---|
Backup Lamp Assembly Replacement | |
1 | Backup Lamp Cover Tip |
2 | Backup Lamp Nut (Qty: 3) Notice: Refer to Fastener Notice in the Preface section. Tip Tighten |
3 | Backup Lamp Assembly Tip |
Tail Lamp Assembly Replacement | |
4 | Tail Lamp Nut (Qty: 3) Tip Tighten |
5 | Tail Lamp Tip |
Side Marker Lamp Assembly Replacement | |
6 | Side Marker Screw (Qty: 1) Tighten |
7 | Side Marker Lamp Tip |
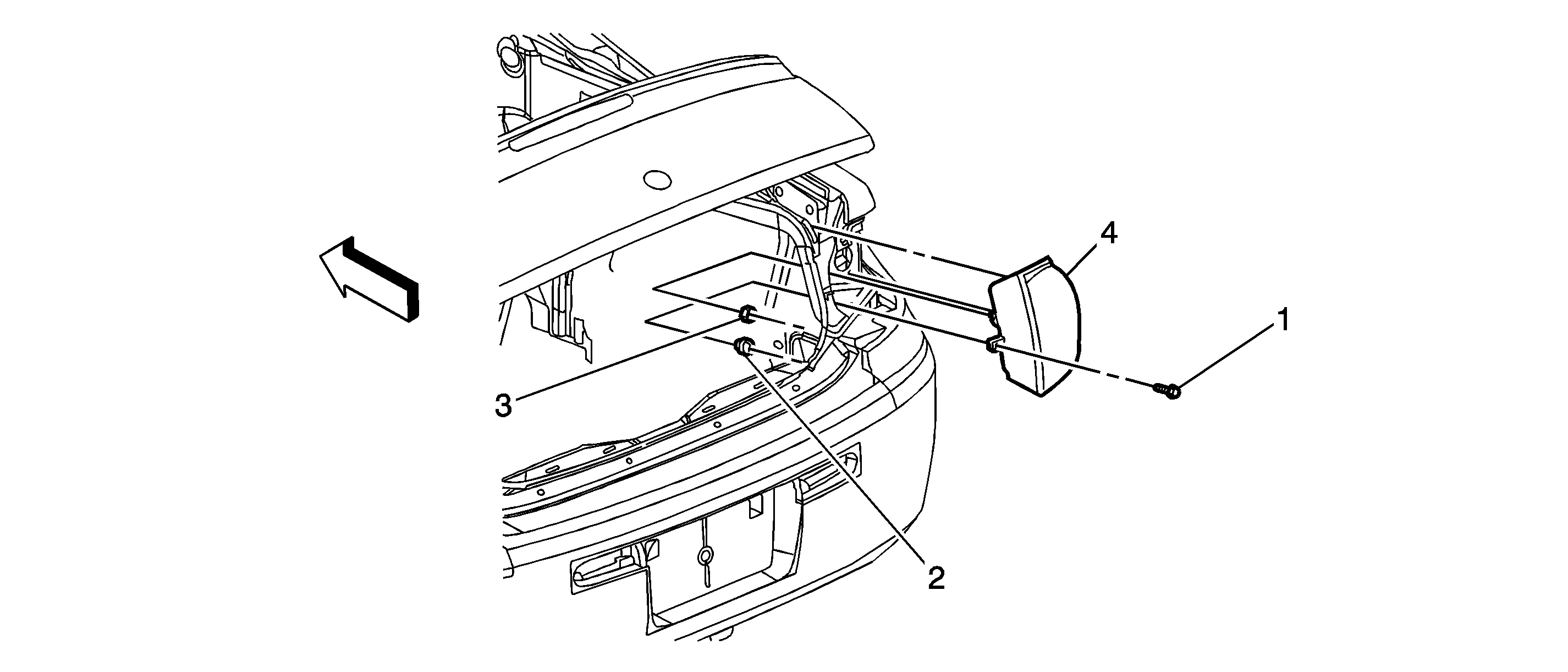
Callout | Component Name |
|---|---|
1 | Tail Lamp Nut (Qty: 2) Hand tighten the tail lamp nut only. |
2 | Tail Lamp Bolt (Qty: 2) Notice: Refer to Fastener Notice in the Preface section. Tighten |
3 | Tail Lamp Assembly Procedure
|
Callout | Component Name | ||||
|---|---|---|---|---|---|
1 | Tail Lamp Screw Notice: Refer to Fastener Notice in the Preface section. Tighten Procedure
| ||||
2 | Tail Lamp Nut Hand tighten only, no torque required | ||||
3 | Tail Lamp Nut Tighten | ||||
4 | Tail Lamp Assembly Procedure
|