GM Service Manual Online
For 1990-2009 cars only

Removal Procedure

    Caution: Refer to Approved Equipment for Collision Repair Caution in the Preface section.

    Caution: Sectioning should be performed only in the recommended areas. Failure to do so may compromise the structural integrity of the vehicle and cause personal injury if the vehicle is in a collision.

  1. Disable the SIR system. Refer to SIR Disabling and Enabling .
  2. Disconnect the negative battery cable. Refer to Battery Negative Cable Disconnection and Connection .
  3. Remove all related panels and components.
  4. Repair as much of the damaged area as possible. Refer to Dimensions - Body .
  5. Remove the sealers and anti-corrosion materials from the repair area, as necessary. Refer to Anti-Corrosion Treatment and Repair .

  6. Object Number: 1548166  Size: SH
  7. For the sedan pillar, perform the following steps:
  8. 6.1. On the center pillar reinforcement, locate and mark the center of the third hold down (b) top of the fifth oval hole up from the bottom.
    6.2. Measure down from the center of that hole 100 mm (4 in). This is the cut line.

            Important: Do not damage any inner reinforcements.

    6.3. Cut the panel at the mark made previously.

    Object Number: 1551980  Size: SH
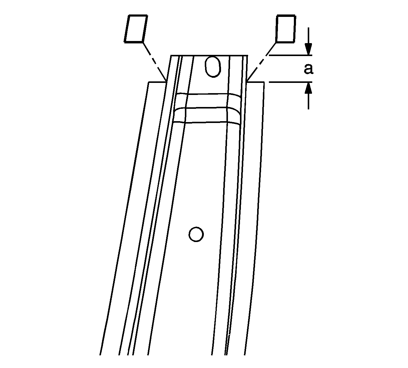
  9. For the coupe pillar, perform the following steps:
  10. 7.1. Measure down from the hole in the front lower corner of the rear quarter window 125 mm (45 in). This is the cut line. Mark the cut line location.

            Important: Do not damage any inner reinforcements.

    7.2. Cut the panel at the mark made previously.

    Object Number: 1549807  Size: SH
  11. Locate and drill out all factory welds. Note the number and location of the welds for installation of the service part.

  12. Object Number: 1548189  Size: SH
  13. Remove the damaged center pillar.

Installation Procedure


    Object Number: 1548166  Size: SH
  1. For the sedan pillar, perform the following steps:
  2. 1.1. Mark a line through the center of the second hole (b) down from the top on the center pillar reinforcement service part.
    1.2. Measure 75 mm (3 in) down from the previously made mark. This is the cut line for the service part.

    Object Number: 1551980  Size: SH
  3. For the coupe pillar, measure down 100 mm (4 in) from the hole in the front lower corner of the quarter panel window. Mark the cut line location (B) for the service part.

  4. Object Number: 1548224  Size: SH
  5. Cut the replacement service part at the marked line.

  6. Object Number: 1548228  Size: SH
  7. At the cut area of the service part, notch the weld flange areas down 25 mm (1 in).
  8. The sedan is shown; the coupe is similar.

  9. Drill 8-mm (5/16-in) plug weld holes along the sectioning cut on the original reinforcement. Locate these holes 10 mm (½ in) from the edge.
  10. Drill 8-mm (5/16-in) plug weld holes in the service part as necessary in the corresponding locations noted on the original panel.
  11. Prepare all mating surfaces for welding as necessary.
  12. Apply GM-approved Weld-Thru Coating or equivalent to all mating surfaces. Refer to Anti-Corrosion Treatment and Repair .
  13. Slide the top sectioning joint together by sliding the service part under the original part at the sectioning area.
  14. Position the service part on the vehicle using 3-dimensional measuring equipment. Clamp the part in place.
  15. Plug weld accordingly.
  16. To create a solid weld with minimum heat distortion, make 25 mm (1 in) stitch welds along the sectioning joint seam with gaps of 25 mm (1 in). Go back and complete the stitch weld.
  17. Clean and prepare all of the welded surfaces.
  18. Apply the sealers and anti-corrosion materials to the repair area, as necessary. Refer to Anti-Corrosion Treatment and Repair .
  19. Paint the repaired area. Refer to Basecoat/Clearcoat Paint Systems .
  20. Install all of the related panels and components.
  21. Connect the negative battery cable. Refer to Battery Negative Cable Disconnection and Connection .
  22. Enable the SIR system. Refer to SIR Disabling and Enabling .