GM Service Manual Online
For 1990-2009 cars only
Makes
🢒
Chevrolet
🢒
2004
🢒
Colorado Pickup - 2WD
🢒
Transmission/Transaxle
🢒
Clutch
🢒 Clutch Pedal Cruise Control Release Switch Adjustment
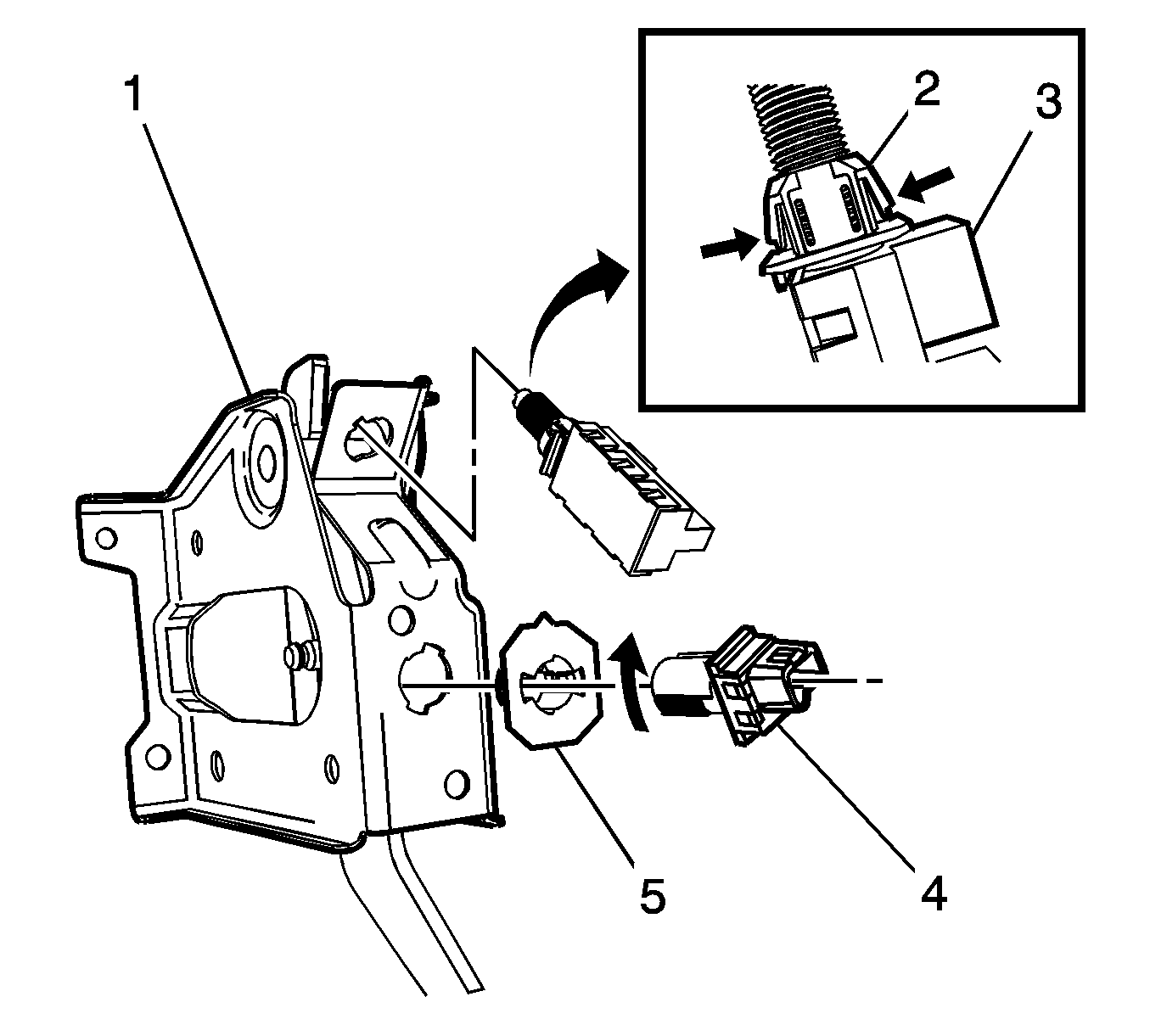
Disconnect the clutch release switch electrical connector (2).
Rotate the clutch release switch (4) counterclockwise, allowing the retainer (5) to release.
Pull the clutch pedal to full stop.
While holding the clutch pedal at full stop, push the switch (4) inward fully until the switch body contacts the clutch pedal arm.
At this point the plunger in the switch (4) should be pushed in.
Rotate the switch (4) clockwise until a "click" is heard.
Connect the clutch release switch electrical connector (2).