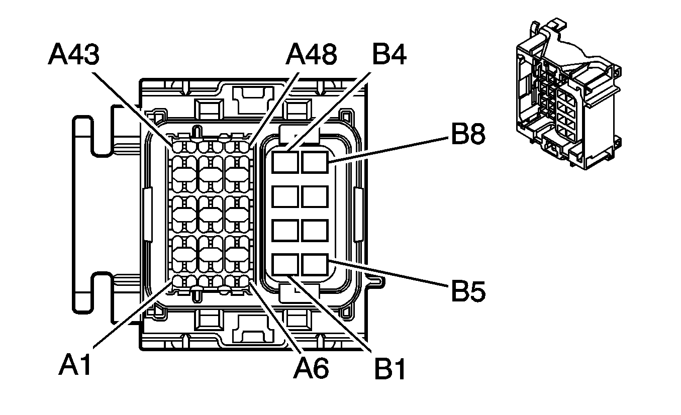
| Table 1: | Body Control Module (BCM) C1 |
| Table 2: | Body Control Module (BCM) C2 |
| Table 3: | Data Link Connector (DLC) |
| |||||||
|---|---|---|---|---|---|---|---|
Connector Part Information |
| ||||||
Pin | Wire Color | Circuit Number | Function | ||||
A1 | -- | -- | Not Used | ||||
A2 | YE | 317 | Fog Lamp Relay Control | ||||
A3 | L-BU | 14 | Left Turn Signal Lamps Supply Voltage | ||||
A4 | GY/BK | 690 | Courtesy Lamp Supply Voltage (TR9) | ||||
A5 | PK/WH | 1970 | Headlamp Relay Control | ||||
A6 | BK | 755 | RAP Relay Coil Control | ||||
A7 | OG | 740 | Battery Positive Voltage | ||||
A8 | D-GN | 113 | Windshield Wiper Switch Signal 2 | ||||
A9-A10 | -- | -- | Not Used | ||||
A11 | L-BU | 244 | Passenger Door Lock Switch Lock Control (AUO) | ||||
A12 | WH | 194 | Door Unlock Control (AUO) | ||||
A13-A17 | -- | -- | Not Used | ||||
A18 | BK/WH | 1969 | Beam Select Relay Control | ||||
A19 | D-BU | 15 | Right Turn Signal Lamps Supply Voltage | ||||
A20 | YE | 196 | Windshield Wiper Motor Park Switch Signal | ||||
A21-A23 | -- | -- | Not Used | ||||
A24 | BN/WH | 301 | Park Lamp Relay Control | ||||
A25 | BK/WH | 238 | Seat Belt Switch - Left | ||||
A26 | OG | 300 | Ignition 3 Voltage | ||||
A27-A28 | -- | -- | Not Used | ||||
A29 | OG | 1732 | Courtesy Lamps Supply Voltage | ||||
A30 | OG | 1732 | Courtesy Lamps Supply Voltage | ||||
A31 | L-BU | 1134 | Park Brake Switch Signal | ||||
A32 | GY/BK | 745 | Left Front Door Ajar Switch Signal | ||||
A33-A37 | -- | -- | Not Used | ||||
A38 | L-GN/BK | 748 | Right Rear Door Ajar Switch Signal | ||||
A39 | BK/WH | 746 | Right Rear Door Ajar Switch Signal (CREW CAB) | ||||
A40 | BK | 28 | Horn Relay Control | ||||
A41 | PU | 1807 | Class 2 Serial Data (UE1) | ||||
A42 | PU | 1807 | Class 2 Serial Data | ||||
A43 | D-GN/WH | 762 | A/C Request Signal | ||||
A44 | L-BU/BK | 747 | Left Rear Door Ajar Switch Signal (CREW CAB) | ||||
A45 | PK | 849 | Brake Fluid Level Sensor Signal | ||||
A46 | WH | 156 | Courtesy Lamp Low Control | ||||
A47 | PU | 1807 | Class 2 Serial Data | ||||
A48 | BN | 9 | Park Lamp Supply Voltage | ||||
B1 | YE | 18 | Left Rear Turn Signal Lamps Supply Voltage | ||||
B2 | D-GN | 19 | Right Rear Turn Signal Lamps Supply Voltage | ||||
B3 | BK/WH | 1251 | Ground | ||||
B4 | RD | 228 | Windshield Washer Pump Control | ||||
B5 | OG | 840 | Battery Positive Voltage | ||||
B6 | D-BU | 338 | Run/Crank Voltage | ||||
B7 | BN | 4 | Accessory Voltage | ||||
B8 | OG | 1340 | Battery Positive Voltage | ||||
| |||||||
|---|---|---|---|---|---|---|---|
Connector Part Information |
| ||||||
Pin | Wire Color | Circuit Number | Function | ||||
A1 | PU | 524 | Headlamp Dimmer Switch High Beam Signal | ||||
A2 | WH | 103 | Headlamp Switch Headlamps On Signal | ||||
A3 | GY | 112 | Windshield Wiper Switch Signal 1 | ||||
A4 | BN/WH | 230 | Instrument Panel Lamps Dimming Control | ||||
A5 | YE | 183 | Front Fog Lamp Indicator Control | ||||
A6 | -- | -- | Not Used | ||||
A7 | BN/WH | 301 | Park Lamp Relay Control | ||||
A8 | BN | 1356 | Flash To Pass Switch Signal | ||||
A9 | PU/WH | 549 | Headlamp Switch Headlamps Off Signal | ||||
A10 | PU | 719 | Low Reference | ||||
A11 | D-BU/WH | 1495 | Dome Overide Switch Signal | ||||
A12 | PU | 328 | Interior Lamp Switch Signal | ||||
A13 | WH/BK | 158 | Cargo lamp Switch Signal (TR9) | ||||
A14 | WH | 1390 | Off/Run/Crank Voltage | ||||
A15-A16 | -- | -- | Not Used | ||||
A17 | BN/WH | 1571 | Traction Control Switch Signal (2WD w/NW9) | ||||
A18 | OG | 192 | Fog Lamps Enable (T96) | ||||
A19 | GY | 728 | Security Indicator Control | ||||
A20-A24 | -- | -- | Not Used | ||||
A25 | BK | 28 | Horn Relay Control | ||||
A26 | PU/WH | 1572 | TCS Requested Indicator Control (2WD w/NW9) | ||||
A27 | -- | -- | Not Used | ||||
A28 | GY | 8 | Instrument Panel Lamps Dimmer Switch Signal | ||||
A29 | GY | 8 | Instrument Panel Lamps Dimmer Switch Signal | ||||
A30 | -- | -- | Not Used | ||||
A31 | BN | 323 | Shift Solenoid Supply Voltage | ||||
A32-A34 | -- | -- | Not Used | ||||
A35 | GY | 8 | Instrument Panel Lamp Dimmer Switch Signal | ||||
A36 | GY | 8 | Instrument Panel Lamp Dimmer Switch Signal | ||||
A37 | WH | 278 | Ambient Light Sensor Signal | ||||
A38 | PU | 1807 | Class 2 Serial Data | ||||
A39 | PU | 1807 | Class 2 Serial Data | ||||
A40 | OG | 1732 | Courtesy Lamps Supply Voltage (TR9) | ||||
A41 | WH | 156 | Courtesy Lamp Low Control (TR9) | ||||
A42 | WH/BK | 1073 | Ignition Key Resistor Signal | ||||
A43 | BK | 279 | Ambient Light Sensor Low Reference | ||||
A44 | PU | 1807 | Class 2 Serial Data | ||||
A45 | L-BU | 1508 | Turn Signal Switch Signal | ||||
A46 | OG | 1732 | Courtesy Lamps Supply Voltage (TR9) | ||||
A47 | WH | 156 | Courtesy Lamp Low Control (TR9) | ||||
A48 | WH | 111 | Hazard Switch Signal | ||||
B1-B2 | -- | -- | Not Used | ||||
B3 | D-GN | 19 | Right Rear Turn Signal Lamps Supply Voltage | ||||
B4 | YE | 18 | Left Rear Turn Signal Lamps Supply Voltage | ||||
B5 | RD | 228 | Windshield Washer Pump Control | ||||
B6 | -- | -- | Not Used | ||||
B7 | BN | 4 | Accessory Voltage | ||||
B8 | D-BU | 338 | Run/Crank Voltage | ||||
| |||||||
|---|---|---|---|---|---|---|---|
Connector Part Information |
| ||||||
Pin | Wire Color | Circuit Number | Function | ||||
1 | Not Used | ||||||
2 | PU | 1807 | Class 2 Serial Data | ||||
3 | Not Used | ||||||
4 | BK | 2050 | Ground | ||||
5 | BK/WH | 1151 | Ground | ||||
6-15 | Not Used | ||||||
16 | OG | 40 | Battery Positive Voltage | ||||