GM Service Manual Online
For 1990-2009 cars only

Removal Procedure


    Object Number: 1313594  Size: SH
  1. Open the hood.
  2. Release the retainer on the daytime running lights (DRL), park lamp assembly.
  3. Remove the DRL, park lamp assembly.
  4. Use a flat-bladed tool in order to release the retainers that retain the grille to the body.
  5. Lift the grille out of position.
  6. Remove the grille from the vehicle.

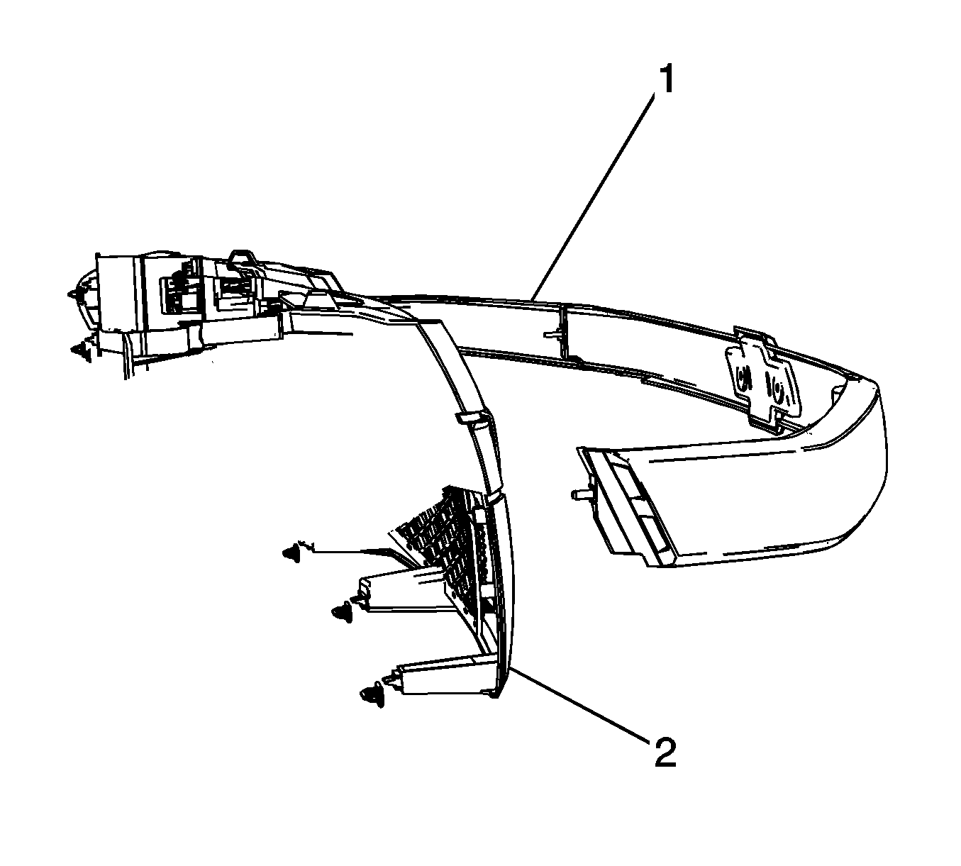
  7. Object Number: 1386391  Size: SH
  8. Remove the nuts retaining the grille bar (1) to the grille (2).
  9. Remove the grille bar.

Installation Procedure


    Object Number: 1386392  Size: SH
  1. Position the grille to the grille molding.
  2. Using a Weller® model 8200 soldering gun, or equivalent, equipped with a flat tip, use a circular motion around the heat stake.
  3. 2.1. Apply firm steady pressure to spread the heat stake material onto the grille panel to achieve a proper weld.
    2.2. Heat stake the grille to the grille molding at all heat stake locations.

    Object Number: 1386391  Size: SH
  4. Install the grille bar (1).
  5. Notice: Refer to Fastener Notice in the Preface section.

  6. Install the grille bar retaining nuts.
  7. Tighten
    Tighten the nuts to 4 N·m (35 lb in).


    Object Number: 1313594  Size: SH
  8. Position the grille to the vehicle.
  9. Position the grille onto the radiator support such that the lower locating tabs are properly aligned.
  10. Push the lower portion of the grille rearward until an audible engagement of the retainers is heard.
  11. Align the upper locating tabs of the grille with the slots in the radiator support.
  12. Install and fully seat the retaining clips into the radiator support.
  13. Install the DRL, park lamp assembly.
  14. Lower the hood.