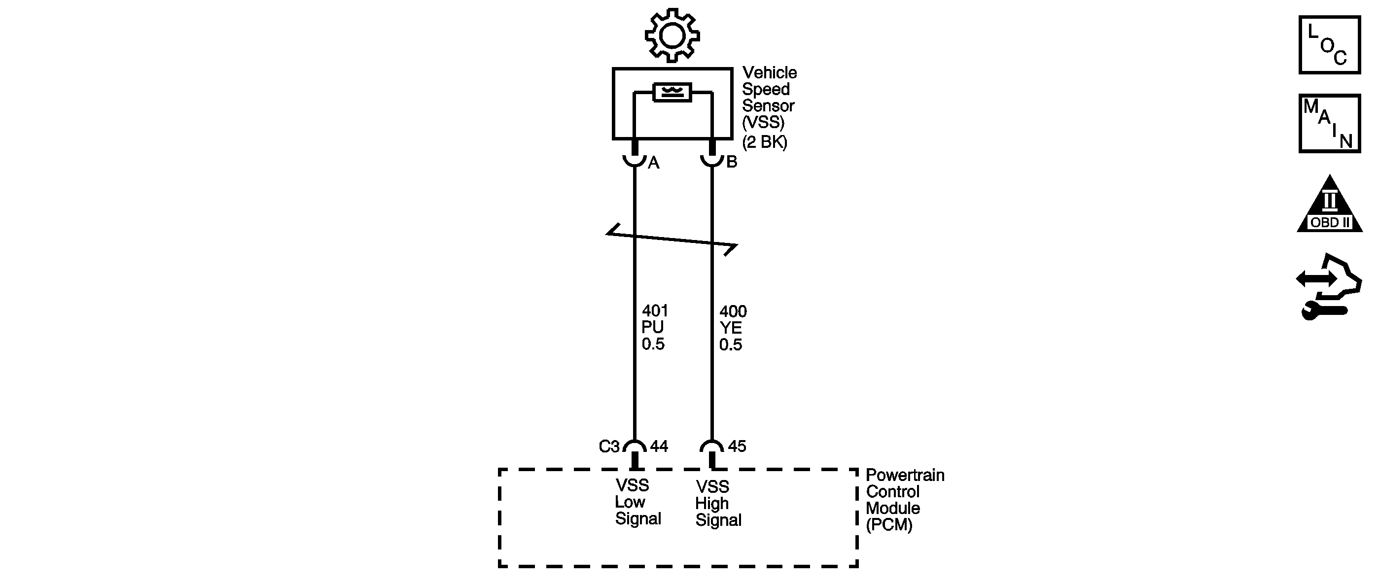
The vehicle speed sensor (VSS) assembly provides vehicle speed information to the powertrain control module (PCM). The VSS assembly is a permanent magnet generator. The VSS produces alternating current (AC) as the rotor teeth on the output shaft of the transmission, 2WD, or transfer case, 4WD, pass through the magnetic field of the sensor. The frequency and amplitude of the AC waveform increase as vehicle speed increases.
If the PCM detects no vehicle speed for a specified length of time, while other sensors indicate that the vehicle is moving, DTC P0502 sets. DTC P0502 is a type B DTC.
This diagnostic procedure supports the following DTC:
DTC P0502 Vehicle Speed Sensor (VSS) Circuit Low Voltage
| • | No VSS DTC P0503. |
| • | No TP sensor DTC P0120 or P0121. |
| • | The TP sensor angle is 12 percent or greater. |
| • | The engine speed is 1,000-6,800 RPM for 8 seconds. |
The transmission output speed is 100 RPM or less for 3 seconds.
| • | The PCM illuminates the malfunction indicator lamp (MIL) during the second consecutive trip in which the Conditions for Setting the DTC are met. |
| • | The PCM disables Cruise Control. |
| • | The PCM records the operating conditions when the Conditions for Setting the DTC are met. The PCM stores this information as Freeze Frame and Failure Records. |
| • | The PCM stores DTC P0502 in PCM history during the second consecutive trip in which the Conditions for Setting the DTC are met. |
| • | The PCM turns OFF the MIL during the third consecutive ignition cycles in which the diagnostic test runs and passes. |
| • | A scan tool can clear the MIL/DTC. |
| • | The PCM clears the DTC from PCM history if the vehicle completes 40 warm-up cycles without an emission-related diagnostic fault occurring. |
| • | The PCM cancels the DTC default actions when the fault no longer exists and the DTC passes. |
Ensure the VSS is correctly torqued to the transmission housing.
The numbers below refer to the step numbers on the diagnostic table.
This step tests the ability of the VSS to produce an AC voltage. This step also verifies the integrity of the wiring to the PCM.
This step tests the VSS circuit for correct resistance.
Step | Action | Value(s) | Yes | No | ||||||||||
|---|---|---|---|---|---|---|---|---|---|---|---|---|---|---|
1 | Did you perform the Diagnostic System Check - Vehicle? | -- | Go to Step 2 | |||||||||||
2 |
Important: Before clearing the DTC, use the scan tool in order to record the Freeze Frame and Failure Records. Using the Clear Info function erases the Freeze Frame and Failure Records from the PCM. With the drive wheels rotating, does the VSS increase when the wheel speed increases? | -- | Go to Testing for Intermittent Conditions and Poor Connections | Go to Step 3 | ||||||||||
Can a voltage greater than the specified value be obtained? | 0.5 V AC | Go to Step 14 | Go to Step 4 | |||||||||||
Is the circuit resistance within the specified range? | 1,300-3,160 ohms | Go to Step 8 | Go to Step 5 | |||||||||||
5 | Is the circuit resistance greater than the specified value? | 3,160 ohms | Go to Step 11 | Go to Step 6 | ||||||||||
6 |
Is the circuit resistance less than the specified value? | 1,300 ohms | Go to Step 7 | Go to Step 13 | ||||||||||
7 | Test the high signal circuit and the low signal circuit of the VSS for being shorted together. Refer to Circuit Testing and Wiring Repairs . Did you find and correct the condition? | -- | Go to Step 15 | -- | ||||||||||
8 | Test the high signal circuit of the VSS for a short to ground. Refer to Testing for Short to Ground and Wiring Repairs . Did you find and correct the condition? | -- | Go to Step 15 | Go to Step 9 | ||||||||||
9 |
Does the DMM display system voltage? | -- | Go to Step 10 | Go to Step 12 | ||||||||||
10 | Test the high signal circuit of the VSS for a short to voltage. Refer to Testing for a Short to Voltage and Wiring Repairs . Did you find and correct the condition? | -- | Go to Step 15 | -- | ||||||||||
11 |
Refer to Testing for Continuity and Wiring Repairs . Did you find and correct a condition? | -- | Go to Step 15 | Go to Step 13 | ||||||||||
12 |
Did you complete the repair? | -- | Go to Step 15 | -- | ||||||||||
13 | Replace the VSS. Refer to Vehicle Speed Sensor Replacement . Did you complete the replacement? | -- | Go to Step 15 | -- | ||||||||||
14 | Replace the PCM. Refer to Control Module References for replacement, setup, and programming. Did you complete the replacement? | -- | Go to Step 15 | -- | ||||||||||
15 | Perform the following procedure in order to verify the repair:
Has the test run and passed? | -- | Go to Step 16 | Go to Step 2 | ||||||||||
16 | With the scan tool, observe the stored information, capture info and DTC info. Does the scan tool display any DTCs that you have not diagnosed? | -- | System OK |