GM Service Manual Online
For 1990-2009 cars only

Removal Procedure


    Object Number: 1402502  Size: SH
  1. Disconnect the battery negative cable. Refer to Battery Negative Cable Disconnection and Connection .
  2. Remove the drive belt. Refer to Drive Belt Replacement or Drive Belt Replacement .
  3. Raise and support the vehicle only high enough to access the A/C compressor through the wheelhouse. Refer to Lifting and Jacking the Vehicle .
  4. Remove the left front wheel. Refer to Tire and Wheel Removal and Installation .
  5. Remove the left wheelhouse liner. Refer to Front Wheelhouse Liner Replacement .
  6. Disengage the A/C compressor electrical connector from the bracket.
  7. Important: Evacuation of the A/C refrigerant will not be necessary.

  8. Remove the A/C compressor mounting bolts (2, 3) ONLY.
  9. The upper mounting bolt (2) will remain with the A/C compressor (1).

  10. Lower the vehicle.

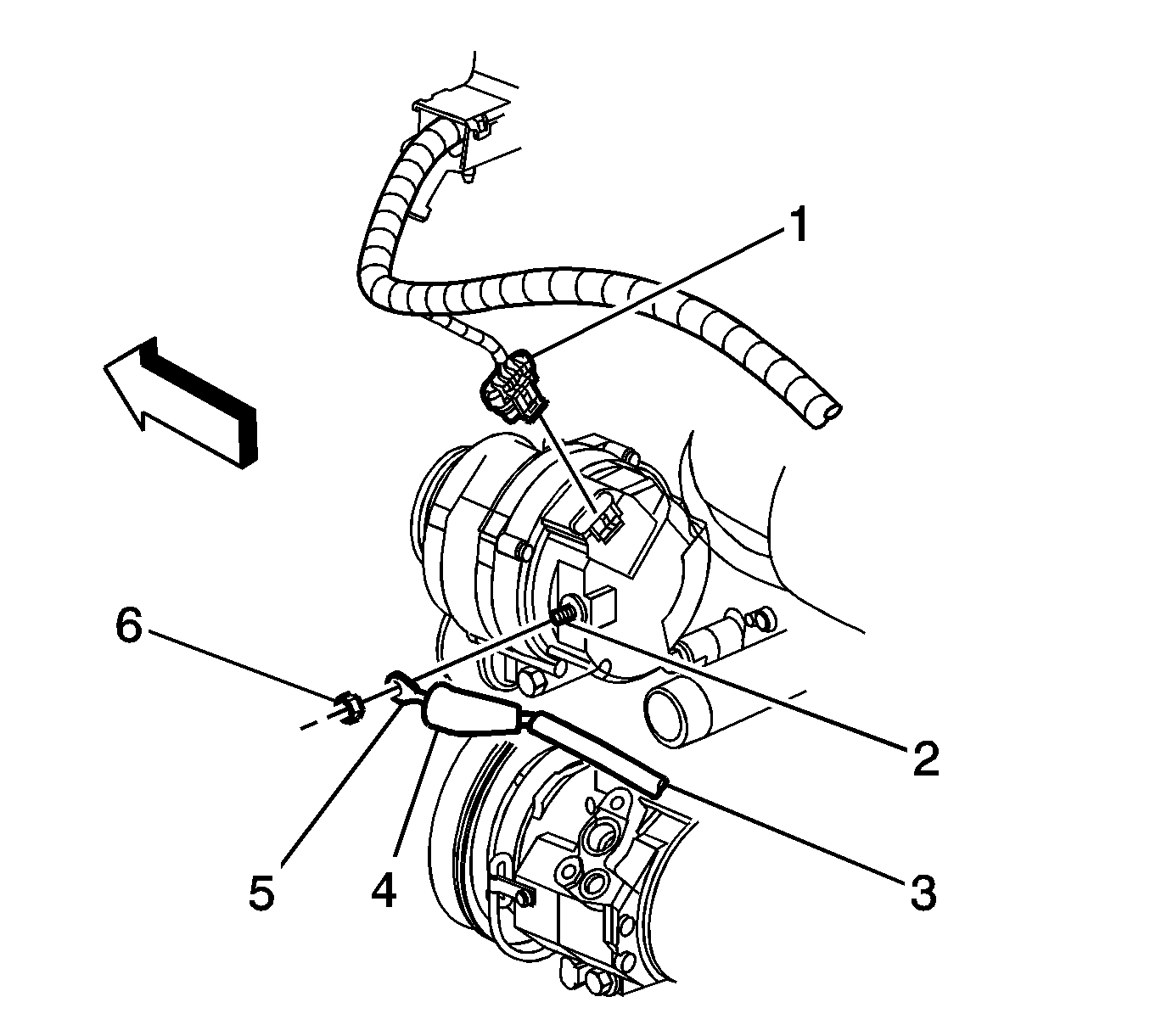
  11. Object Number: 1313641  Size: SH
  12. Reposition the protective boot (4) from the generator output BAT terminal (2) for access.
  13. Remove the generator output BAT terminal nut (6) and disconnect the generator lead (5) from the generator.
  14. Disconnect the wiring harness connector (1) from the generator.

  15. Object Number: 1313647  Size: SH
  16. Remove the 3 generator mounting bolts.
  17. Remove the engine lift bracket, in order to gain clearance to remove the generator. Refer to Engine Lift Bracket Replacement or Engine Lift Bracket Replacement .
  18. Position the A/C compressor forward, in order to gain clearance to remove the generator.
  19. Remove the generator from the engine.

Installation Procedure


    Object Number: 1313647  Size: SH
  1. Position the generator to the engine.
  2. Install the engine lift bracket. Refer to Engine Lift Bracket Replacement or Engine Lift Bracket Replacement .
  3. Notice: Refer to Fastener Notice in the Preface section.

  4. Install the generator mounting bolts.
  5. Tighten
    Tighten the bolts in sequence to 50 N·m (37 lb ft).


    Object Number: 1313641  Size: SH
  6. Connect the generator lead (5) to the generator and install the generator output BAT terminal nut (6).
  7. Tighten
    Tighten the nut to 20 N·m (15 lb ft).

  8. Press the protective boot (4) on to the generator output BAT terminal (2).
  9. Connect the wiring harness connector (1) to the generator.
  10. Raise and support the vehicle only high enough to access the A/C compressor through the wheelhouse. Refer to Lifting and Jacking the Vehicle .

  11. Object Number: 1402502  Size: SH
  12. Position the A/C compressor (1) to the engine.
  13. Install the A/C compressor mounting bolts (2, 3).
  14. Tighten
    Tighten the bolts to 50 N·m (37 lb ft).

  15. Attach the A/C compressor electrical connector to the bracket.
  16. Install the left wheelhouse liner. Refer to Front Wheelhouse Liner Replacement .
  17. Install the left front wheel. Refer to Tire and Wheel Removal and Installation .
  18. Lower the vehicle.
  19. Install the drive belt. Refer to Drive Belt Replacement or Drive Belt Replacement .
  20. Connect the battery negative cable. Refer to Battery Negative Cable Disconnection and Connection .