GM Service Manual Online
For 1990-2009 cars only

Tools Required

J 9886-01 Door Handle Clip Remover

Removal Procedure

  1. Raise the window to the full up position.

  2. Object Number: 5087  Size: SH
  3. Remove the window regulator handle from the door by inserting tool J 9886-01 between the handle and the white plastic washer.
  4. Align the J 9886-01 with the handle.
  5. Push the J 9886-01 in order to disengage the clip.
  6. Pull the handle from the door.

  7. Object Number: 1305344  Size: SH
  8. Remove the window regulator handle from the door.
  9. Remove the bearing plate from the door.

Installation Procedure


    Object Number: 1305344  Size: SH
  1. Ensure that the window is in the full up position.
  2. Install the white plastic washer to the regulator shaft.
  3. Install the retaining clip to the handle.

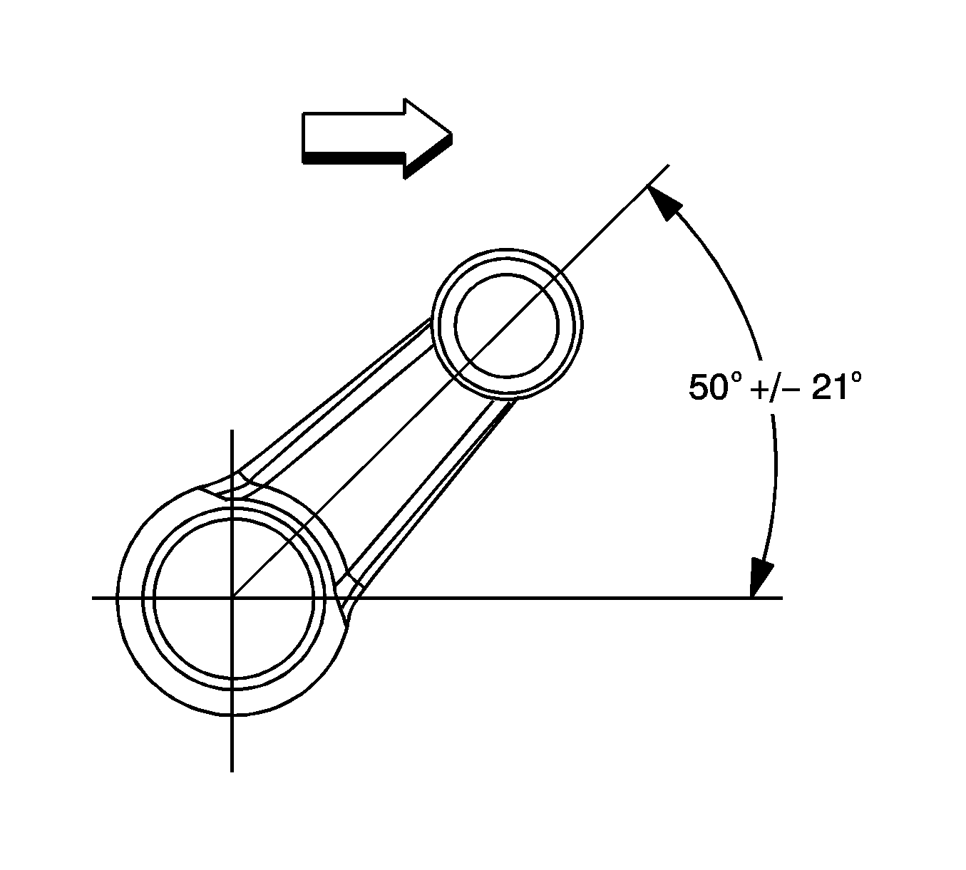
  4. Object Number: 1305342  Size: SH
  5. Install the window regulator handle to the door with the handle forward at about a 50 degree angle.
  6. Push on the handle until the clip engages on the shaft.