GM Service Manual Online
For 1990-2009 cars only

Special Tools

    • J 24402-A Glass Sealant Remover (Cold Knife)
    • J 39032 Stationary Glass Removal Tool
    • Use a urethane adhesive systems which meet GM Specification GM 3651G:

Removal Procedure

  1. Remove the rear seat. Refer to Rear Bench Seat Replacement.
  2. Note: Before cutting out a stationary window, apply a double layer of masking tape around the perimeter of the painted surfaces and the inner trim of the window.

  3. Remove the body side trim panel, for extended cab pickup only.
  4. Remove the rear child seat belt anchor brackets. Refer to Child Seat Restraint System Belt Bracket Replacement.
  5. Warning: If broken glass falls into the defroster outlets, it can be blown into the passenger compartment and cause personal injury.

  6. Cover to protect the following parts from broken glass:
  7. • The upper dash pad
    • The defroster outlets and A/C outlets
    • The seats and carpeting

    Warning: Refer to Glass and Sheet Metal Handling Warning in the Preface section.

  8. If the glass is already broken, use the J 24402-A in order to remove the window.

  9. Object Number: 379906  Size: SH

    Note: 

       • Keep the cutting edge of the tool against the window from inside the vehicle. This will allow the urethane adhesive to be separated from the window.
       • Leave a base of urethane on the pinchweld flange.
       • The only suitable lubrication is clear water.
       • Use the J 24402-A , J 39032 or equivalent in order to remove the window.

  10. With the aid of an assistant, lift the rear window from the opening.

  11. Object Number: 1336620  Size: SH
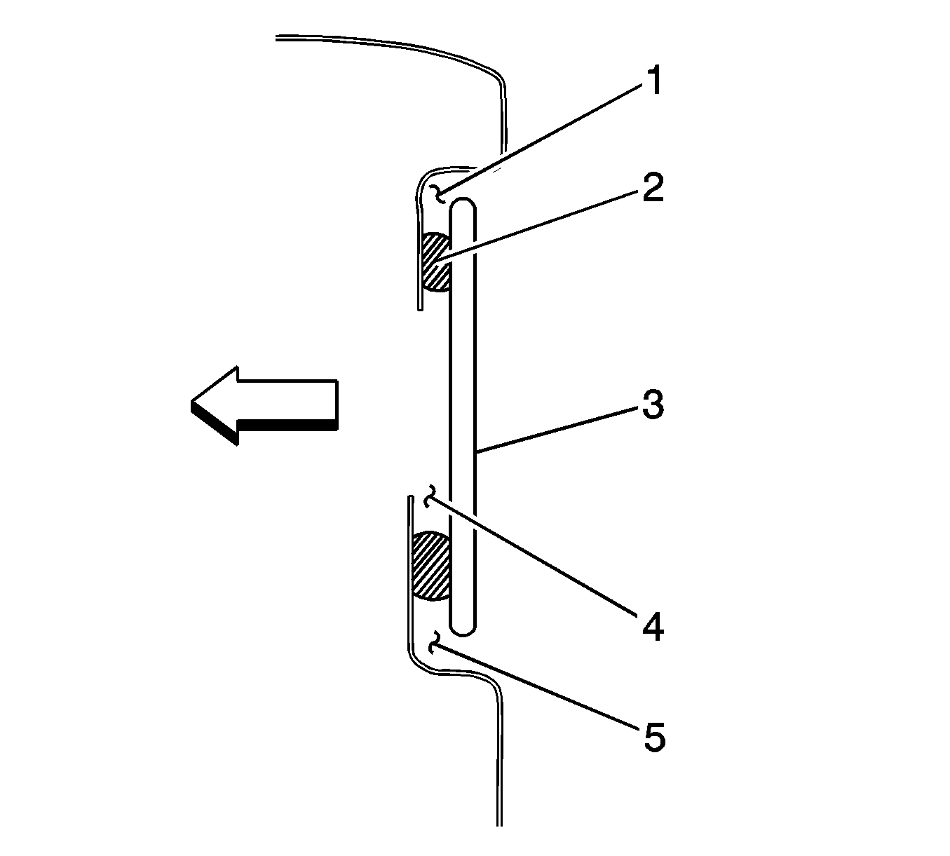
  12. Use body color paint and apply to any scratches exterior (1, 5).

Installation Procedure

  1. Install a stationary window into the opening. Refer to Adhesive Installation of Stationary Windows.
  2. Install the rear child seat belt anchor brackets. Refer to Refer to Child Seat Restraint System Belt Bracket Replacement.
  3. Install the body side trim panel, for extended cab pickup only.
  4. Install the rear seat. Refer to Rear Bench Seat Replacement.
  5. Remove the double layer of masking tape around the perimeter of the painted surfaces and the interior trim.