GM Service Manual Online
For 1990-2009 cars only
Figure 1:

Front Drive Propeller Shaft


Object Number: 1367302  Size: SH
(1)Universal Joint Spider Assembly
(2)Propeller Shaft Tube Assembly
Figure 2:

One-Piece Propeller Shaft


Object Number: 657677  Size: MF
(1)Propeller Shaft Slip Yoke
(2)Propeller Shaft Universal Joint Spider Bearing Retainer Ring
(3)Propeller Shaft Universal Joint
(4)Propeller Shaft Tube
(5)Propeller Shaft Universal Joint Spider Bearing Retainer Ring
(6)Propeller Shaft Universal Joint
(7)Propeller Shaft Bearing Retainer
(8)Propeller Shaft Bearing Retainer Bolt
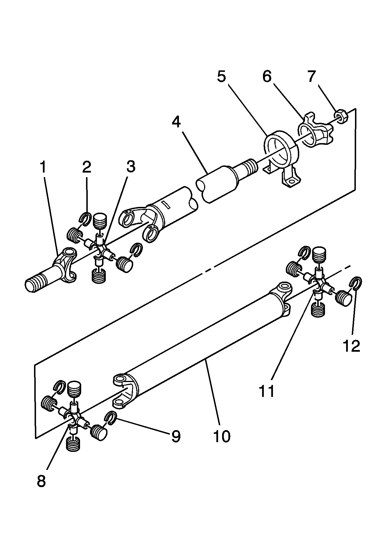
Figure 3:

Two-Piece Propeller Shaft


Object Number: 1372279  Size: MH
(1)Propeller Shaft Slip Yoke
(2)Propeller Shaft Universal Joint Spider Bearing Retainer Ring
(3)Propeller Shaft Universal Joint and Bearing
(4)Propeller Shaft Tube
(5)Propeller Shaft Center Bearing
(6)Propeller Shaft Yoke
(7)Propeller Shaft Yoke Retaining Nut
(8)Propeller Shaft Universal Joint and Bearing
(9)Propeller Shaft Universal Joint Bearing Retaining Ring
(10)Propeller Shaft Tube
(11)Propeller Shaft Universal Joint and Bearing
(12)Propeller Shaft Universal Joint Bearing Retaining Ring