GM Service Manual Online
For 1990-2009 cars only

Before you begin to drive, move the shoulder belt height adjuster to the height that is right for you.

Adjust the height so that the shoulder portion of the belt is centered on your shoulder. The belt should be away from your face and neck, but not falling off your shoulder. Improper shoulder belt height adjustment could reduce the effectiveness of the safety belt in a crash.


Object Number: 1353814  Size: A2

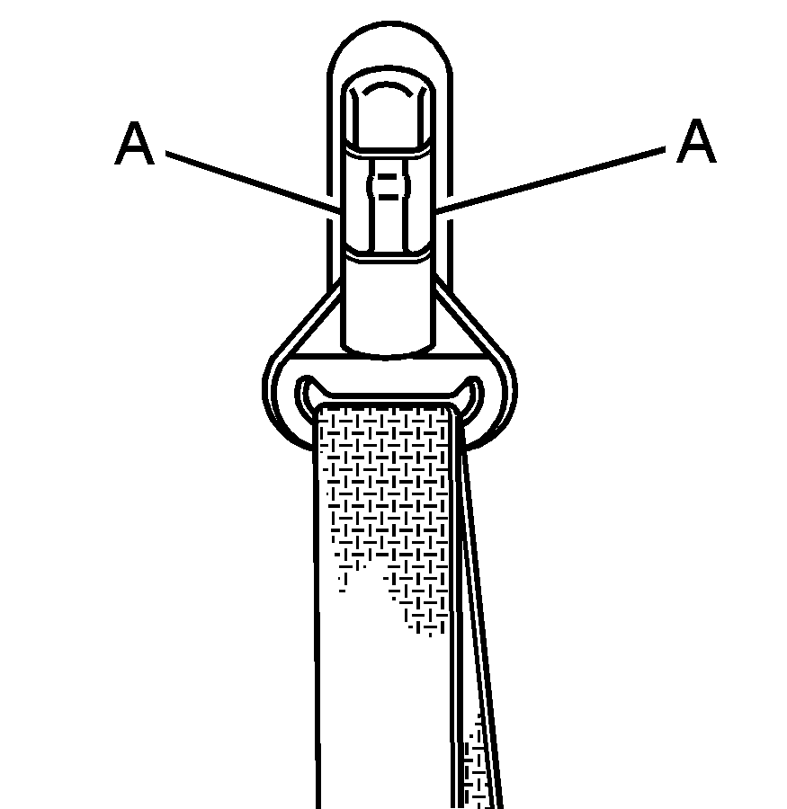
To move it up or down, squeeze the release buttons (A) together and move the height adjuster to the desired position.

After you move the height adjuster to where you want it, try to move it down without squeezing the release buttons to make sure it has locked into position.