GM Service Manual Online
For 1990-2009 cars only

Front Side Door Emblem/Nameplate Replacement Canyon

Tools Required

J 25070 Heat Gun

Removal Procedure

    Important: Use the tape for protection and alignment marks for alignment of the new emblem.

  1. Apply tape to the area around the door emblem.
  2. Heat the emblem/nameplate, using a J 25070 ,152 mm (6 in) from the surface.
  3. Apply the heat using a circular motion for about 30 seconds.
  4. Notice: Use a plastic, flat-bladed tool to prevent paint damage when removing an emblem/name plate.

  5. Remove the emblem/nameplate from the door surface using a plastic, flat-bladed tool.

  6. Object Number: 321645  Size: SH
  7. Remove all adhesive from the door panel surface and the back of the emblem/nameplate using 3M™ scotch brite molding adhesive remover disk 3M™ P/N 07501 or equivalent.
  8. Clean the door surface using varnish makers and painters (VMP) naphtha.

Installation Procedure


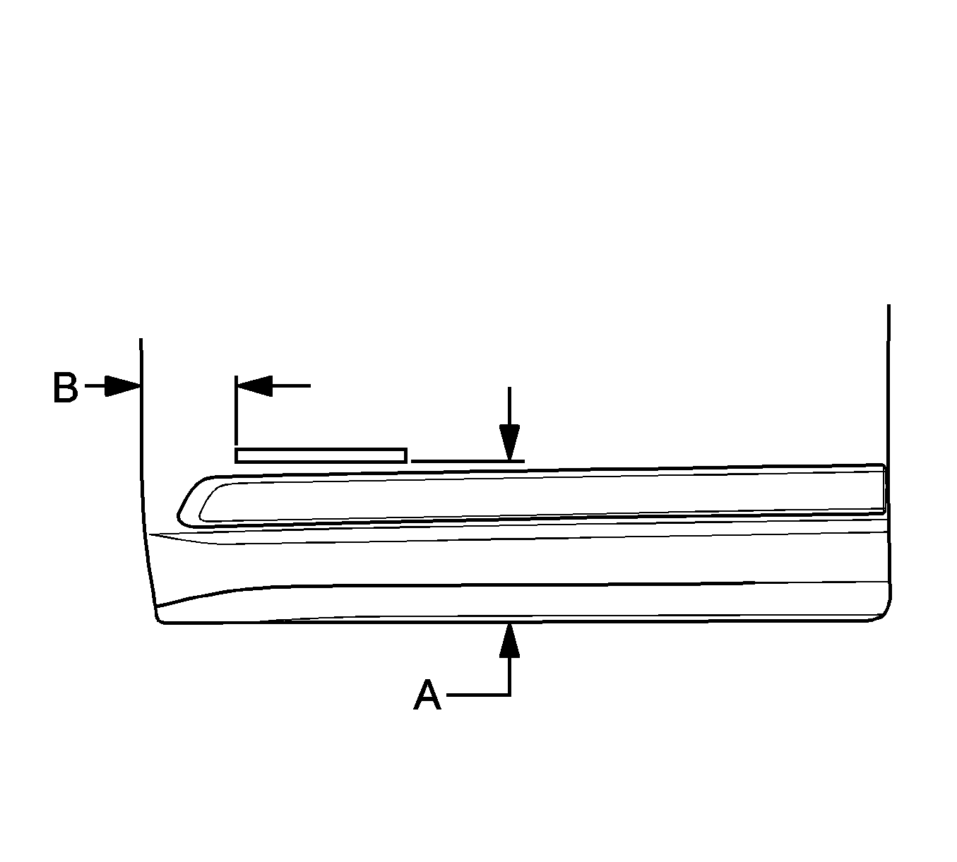
    Object Number: 1360548  Size: SH
  1. If the location of the emblem/nameplate has not been marked, apply tape and use the following dimensions:
  2. • Dimension (a) is 251 mm (9.88 in) from the bottom of the door to the emblem/nameplate.
    • Dimension (b) is 157 mm (6.18 in) from the front of the door to the front of the emblem/nameplate.
  3. Warm the door surface with a J 25070 ,152 mm (6 in) from the surface to a minimum of 21°C (70°F).
  4. Important: Do not touch the adhesive backing of the emblem/nameplate.

  5. Remove the backing from the front end of the emblem/nameplate.
  6. Press the emblem/nameplate to the door panel surface while continuing to remove the backing.
  7. Hand roll the emblem/nameplate to the door panel to ensure proper adhesion.
  8. Inspect the emblem/nameplate for bonding.
  9. Remove the tape from the area around the door emblem.

Front Side Door Emblem/Nameplate Replacement Colorado

Tools Required

J 25070 Heat Gun

Removal Procedure

    Important: Use the tape for protection and alignment marks for alignment of the new emblem.

  1. Apply tape to the area around the door emblem.
  2. Heat the emblem/nameplate, using a J 25070 , 152 mm (6 in) from the surface.
  3. Apply the heat using a circular motion for about 30 seconds.
  4. Notice: Use a plastic, flat-bladed tool to prevent paint damage when removing an emblem/name plate.

  5. Remove the emblem/nameplate from the door surface using a plastic, flat-bladed tool.

  6. Object Number: 321645  Size: SH
  7. Remove all adhesive from the door panel surface and the back of the emblem/nameplate using 3M™ scotch brite molding adhesive remover disk 3M™ P/N 07501 or equivalent.
  8. Clean the door surface using varnish makers and painters (VMP) naphtha.

Installation Procedure


    Object Number: 1360547  Size: SH
  1. If the location of the emblem/nameplate has not been marked, apply tape and use the following dimensions:
  2. • Dimension (a) is 166 mm (6.54 in) from the bottom of the door to the emblem/nameplate.
    • Dimension (b) is 117.4 mm (4.62 in) from the front of the door to the front of the emblem/nameplate.
  3. Warm the door surface with a J 25070 , 152 mm (6 in) from the surface to a minimum of 21°C (70°F).
  4. Important: Do not touch the adhesive backing of the emblem/nameplate.

  5. Remove the backing from the front end of the emblem/nameplate.
  6. Press the emblem/nameplate to the door panel surface while continuing to remove the backing.
  7. Hand roll the emblem/nameplate to the door panel to ensure proper adhesion.
  8. Inspect the emblem/nameplate for bonding.
  9. Remove the tape from the area around the door emblem.

Front Side Door Emblem/Nameplate Replacement ISUZU i-290


Object Number: 1907345  Size: MF

Callout

Component Name

1

Front Side Door Nameplate/Emblem

Notice: Refer to Exterior Trim Emblem Removal Notice in the Preface section.

Procedure

  1. The part and surface should be 21°C (70°F) prior to installation. The vehicle should remain 21°C (70°F) for one hour after assembly to allow adhesive to develop sufficient bond strength.
  2. Use a J 25070 Heat Gun or equivalent to remove the old nameplate. Clean all the adhesive residue from the door and wipe the surface dry with a clean lint-free towel prior to installing new nameplate.
  3. When removing protective liners from adhesive backed nameplates, be careful not to touch the tape with hands and do not allow the tape to come in contact with dirt or any foreign matter prior to adhesion.
  4. Close the door prior to installing the new nameplate/emblem.
  5. Remove the protective liner from the back side of the adhesive tape.
  6. Align the nameplate/emblem to the front door and press to ensure full adhesion is made.

Front Side Door Emblem/Nameplate Replacement GME


Object Number: 1907350  Size: SF

Callout

Component Name

1

Front Side Door Nameplate/Emblem (GM)

Notice: Refer to Exterior Trim Emblem Removal Notice in the Preface section.

Procedure

  1. The part and surface should be 21°C (70°F) prior to installation. The vehicle should remain 21°C (70°F) for one hour after assembly to allow adhesive to develop sufficient bond strength.
  2. Use a J 25070 Heat Gun or equivalent to remove the old nameplate. Clean all the adhesive residue from the door and wipe the surface dry with a clean lint-free towel prior to installing new nameplate.
  3. When removing protective liners from adhesive backed nameplates, be careful not to touch the tape with hands and do not allow the tape to come in contact with dirt or any foreign matter prior to adhesion.
  4. Close the door prior to installing the new nameplate/emblem.
  5. Remove the protective liner from the back side of the adhesive tape.
  6. Align the nameplate/emblem to the door and press to ensure full adhesion is made.