GM Service Manual Online
For 1990-2009 cars only

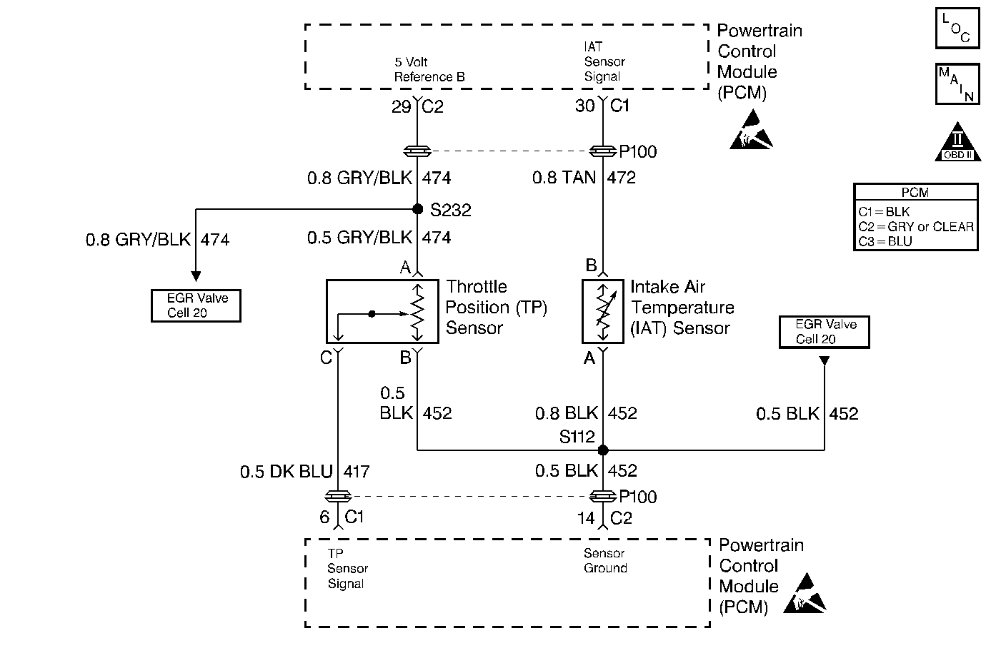
Object Number: 32848  Size: MF
Engine Controls Components
Engine Data Sensors
OBD II Symbol Description Notice
Handling ESD Sensitive Parts Notice
Handling ESD Sensitive Parts Notice

Circuit Description

The PCM supplies a 5V reference signal and a ground to the sensor. The TP sensor sends a voltage signal back to the PCM relative to the throttle plate opening. The voltage will vary from approximately 0.45Vat closed throttle, to over 4.5V at wide open throttle.

Conditions for Setting the DTC

    • TP is stable ± 2%.
    • MAP is less than 37 kPa.
    • DTC(s) P0107, P0108, P0122 not set.
    • TP angle is greater than the following specified percentages at the given RPMs.
       - TP angle is greater than 60% at 1600 RPM
       - TP angle is greater than 77% at 2400 RPM
       - TP angle is greater than 89% at 3200 RPM
       - TP angle is greater than 100% at 4000 RPM

Action Taken When the DTC Sets

    • The malfunction indicator lamp (MIL) will illuminate after two consecutive ignition cycles in which the diagnostic runs with the malfunction present.
    • The PCM will record the operating conditions at the time that the diagnostic fails. This information will store in the Freeze Frame and Failure Records buffers.
    • A history DTC stores.
    • The coolant fan turns ON.

Conditions for Clearing the MIL/DTC

    • The MIL will turn OFF after three consecutive ignition cycles in which the diagnostic runs without a fault.
    • A history DTC will clear after 40 consecutive warm-up cycles without a fault.
    • The MIL/DTCs can be cleared by using the scan tool.

Diagnostic Aids

If a DTC P0121 cannot be duplicated, the information included in the Freeze Frame data can be useful. Use the scan tool DTC information data to determine the status of the DTC. If the DTC occurs intermittently, using the DTC P0121 Diagnostic table may help isolate the problem.

Test Description

Number(s) below refer to the step number(s) on the Diagnostic Table.

  1. The Powertrain OBD System Check prompts the technician to complete some basic checks and store the freeze frame and failure records data on the scan tool if applicable. This creates an electronic copy of the data taken when the fault occurred. The information is then stored in the scan tool for later reference.

  2. The TP sensor has an auto zeroing feature. If the voltage reading is between 0.2 to 0.9 volts, the PCM will assume the TP sensor is at a closed throttle position (0%). If the reading is out of the auto zeroing range at closed throttle look for a binding or damaged linkage.

  3. In order for DTC P0121 to set with a short voltage in the TP signal circuit, the voltage must be minimal enough to not set a DTC P0123 and more than .5V.

  4. Replacement PCMs must be reprogrammed. Refer to the latest Techline information for programming procedures.

DTC P0121-Throttle Position (TP) Sensor System Performance

Step

Action

Value(s)

Yes

No

1

Was the Powertrain On-Board Diagnostic (OBD) System Check performed?

--

Go to Step 2

Go to Powertrain On Board Diagnostic (OBD) System Check

2

  1. Turn the ignition switch ON, with the engine OFF.
  2. Install a scan tool.
  3. Select the TP angle parameter on the scan tool.
  4. Monitor the scan tool while depressing the accelerator pedal to the floor and then slowly release the pedal (repeat the procedure several times).

Does the TP angle value increase steadily when the accelerator pedal is depressed to a greater than the specified value and decrease steadily when the pedal is released to less than the specified value?

95%

2%

Go to Step 3

Go to Step 4

3

  1. Turn the ignition switch ON, with the engine OFF.
  2. Review the Freeze Frame data and note the parameters.
  3. Operate the vehicle within the Freeze Frame conditions and Conditions For Setting The DTC as noted.

Is the TP angle vs. RPM value greater than the specified value in the Conditions For Setting The DTC?

--

Go to Step 4

Go to Step 12

4

Disconnect the TP sensor electrical connector.

Is the TP sensor voltage less than the specified value?

0.5V

Go to Step 5

Go to Step 6

5

Connect a test light between the 5 V reference circuit and the TP sensor signal circuit at the TP sensor electrical connector.

Is the TP sensor voltage greater than the specified value?

4.5V

Go to Step 7

Go to step 8

6

Check the TP signal circuit for a short to voltage and repair as necessary.

Was a repair necessary?

--

Go to Step 12

Go to Step 9

7

Check the TP sensor ground circuit for a high resistance between the TP sensor and the PCM and repair as necessary.

Was a repair necessary?

--

Go to Step 12

Go to Step 10

8

Check the TP sensor signal circuit for high resistance between the TP sensor and the PCM and repair as necessary.

Was a repair necessary?

--

Go to Step 12

Go to Step 9

9

Check the TP Sensor electrical connector and PCM connector for a poor connection and repair as necessary?

--

Go to Step 12

Go to Step 11

10

Replace the TP sensor.

Is the action complete?

--

Go to Step 12

--

11

Replace the PCM.

Is the action complete?

--

Go to Step 12

--

12

  1. Using the scan tool, clear the DTCs.
  2. Start the engine and idle at normal operating temperature.
  3. Operate the vehicle within the conditions for setting this DTC as specified in the supporting text.

Does the scan tool indicate that this diagnostic ran and passed?

--

Go to Step 13

Go to Step 2

13

Check if any additional DTCs are set.

Are any DTCs displayed that have not been diagnosed?

--

Go to applicable DTC table

System OK