GM Service Manual Online
For 1990-2009 cars only

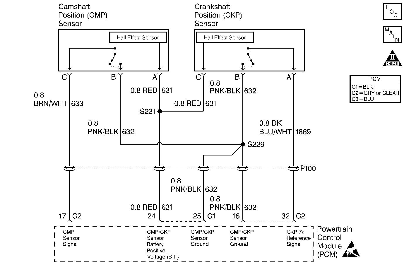
Object Number: 32856  Size: MF
Engine Controls Components
Ignition Controls
OBD II Symbol Description Notice
Handling ESD Sensitive Parts Notice

Circuit Description

The PCM supplies B+ and a ground to the crankshaft position (CKP) sensor. The CKP sensor sends a reference signal to the PCM seven times per crankshaft revolution to indicate crankshaft position and RPM. This signal is called the 7X reference signal because the signal occurs seven times per crankshaft revolution. The seventh pulse is the sync pulse and is used for crankshaft position reference. The PCM can calculate when to pulse the ignition coils based on this information.

Conditions for Setting the DTC

The PCM sees more than 15 CKP sensor resyncs in 255 seconds (4 minutes and 15 seconds).

Action Taken When the DTC Sets

    • The malfunction indicator lamp (MIL) illuminates.
    • The PCM records the operating conditions at the time when the diagnostic fails. This information stores in the Freeze Frame and Failure Records buffers.
    • A history DTC stores.
    • The coolant fan turns ON.

Conditions for Clearing the MIL/DTC

    • The MIL will turn OFF after three consecutive ignition cycles in which the diagnostic runs without a fault.
    • A history DTC will clear after 40 consecutive warm-up cycles without a fault.
    • The MIL/DTCs can be cleared by using the scan tool.

Diagnostic Aids

    • If the complaint was Cranks But Will Not Run, you may set a DTC P0335 when attempting to start the engine more than 15 times and the ignition is not turned OFF between attempts.
    • An intermittent problem may be caused by the following conditions:
       - Rubbed through wire insulation
       - Poor electrical connection
       - Broken wire inside of the insulation
    • Thoroughly check any suspected circuitry for the following conditions:
       - Backed out terminals
       - Improper mating
       - Broken locks
       - Improperly formed
       - Damaged terminals
       - Poor terminal to wiring connections
       - Physical damage to the wiring harness
    • An intermittent can also be the result of a defective reluctor wheel. Remove the crankshaft sensor and inspect the reluctor wheel through the hole. Check for the porosity and the condition of the wheel. Refer to Crankshaft Balancer Clean and Inspect .

Test Description

Number(s) below refer to the step number(s) on the Diagnostic Table.

  1. The Powertrain OBD System Check prompts the Technician to complete some basic checks and store the Freeze Frame Data and the Failure records on the scan tool if applicable. This creates an electronic copy of the data taken when the fault occurred. This information on the scan tool can be referred to later.

  2. When a med. resync occurs, engine stumble also occurs. Whenever a component connection or wire is at fault engine stumble may be induced by wiggling the circuit or connector.

  3. Operating a faulty non-engine related electronic components may emit electromagnetic interferences which may cause a med. resync.

  4. Before replacing the PCM, check terminals for improper mating, broken locks, or physical damage to the wiring harness. Replacement PCMs must be reprogrammed. Refer to the latest Techline information for programming procedures.

DTC P0335 - Crankshaft Position (CKP) Sensor Circuit

Step

Action

Value(s)

Yes

No

1

Was the Powertrain On-Board Diagnostic (OBD) System Check performed?

--

Go to Step 2

Go to Powertrain On Board Diagnostic (OBD) System Check

2

  1. Install a scan tool.
  2. Clear the DTCs.
  3. Idle the engine for the specified minutes or until the Malfunction Indicator Lamp (MIL) turns ON.

Did the MIL illuminate?

5

Go to Step 3

Go to Step 4

3

With the engine running, wiggle the connectors of the PCM, and CKP sensor and related circuits, while listening for engine stumble.

Caution:  Avoid contact with moving parts and hot surfaces while working around a running engine in order to prevent physical injury.

Does the engine stumble?

--

Go to Step 5

Go to Step 6

4

Operate any non-engine related electronic components on the vehicle.

Does the Med. Resolution Resync Cntr on the scan tool resync while operating any non-engine related electronic components?

--

Go to Step 8

Go to Step 3

5

Check for a poor connection or replace the terminal in the circuit which caused the engine to stumble and repair as necessary.

Is the action complete?

--

Go to Step 11

--

6

Did the MIL illuminate in Step 2?

--

Go to Step 7

Go to Step 11

7

Check the wiring to the PCM, and CKP sensor for rubbed through wire insulation or for being pinched and repair as necessary.

Was a repair necessary?

--

Go to Step 11

Go to Step 9

8

Repair the circuitry of the faulty or interfering component.

Is the action complete?

--

Go to Step 11

--

9

  1. Replace the CKP sensor.
  2. Idle the engine for the specified minutes or until the Malfunction Indicator Lamp (MIL) turns ON.

Did the MIL illuminate?

5

Go to Step 10

Go to Step 11

10

Replace the PCM.

Is the action complete?

5

Go to Step 11

--

11

  1. Using the scan tool, clear DTCs.
  2. Start engine and idle at normal operating temperature.
  3. Operate vehicle within the conditions for setting this DTC as specified in the supporting text.

Does the scan tool indicate that this diagnostic ran and passed?

--

Go to Step 12

Go to Step 2

12

Check if any additional DTCs are set.

Are any DTCs displayed that have not been diagnosed?

--

Go to the applicable DTC table

System OK