GM Service Manual Online
For 1990-2009 cars only

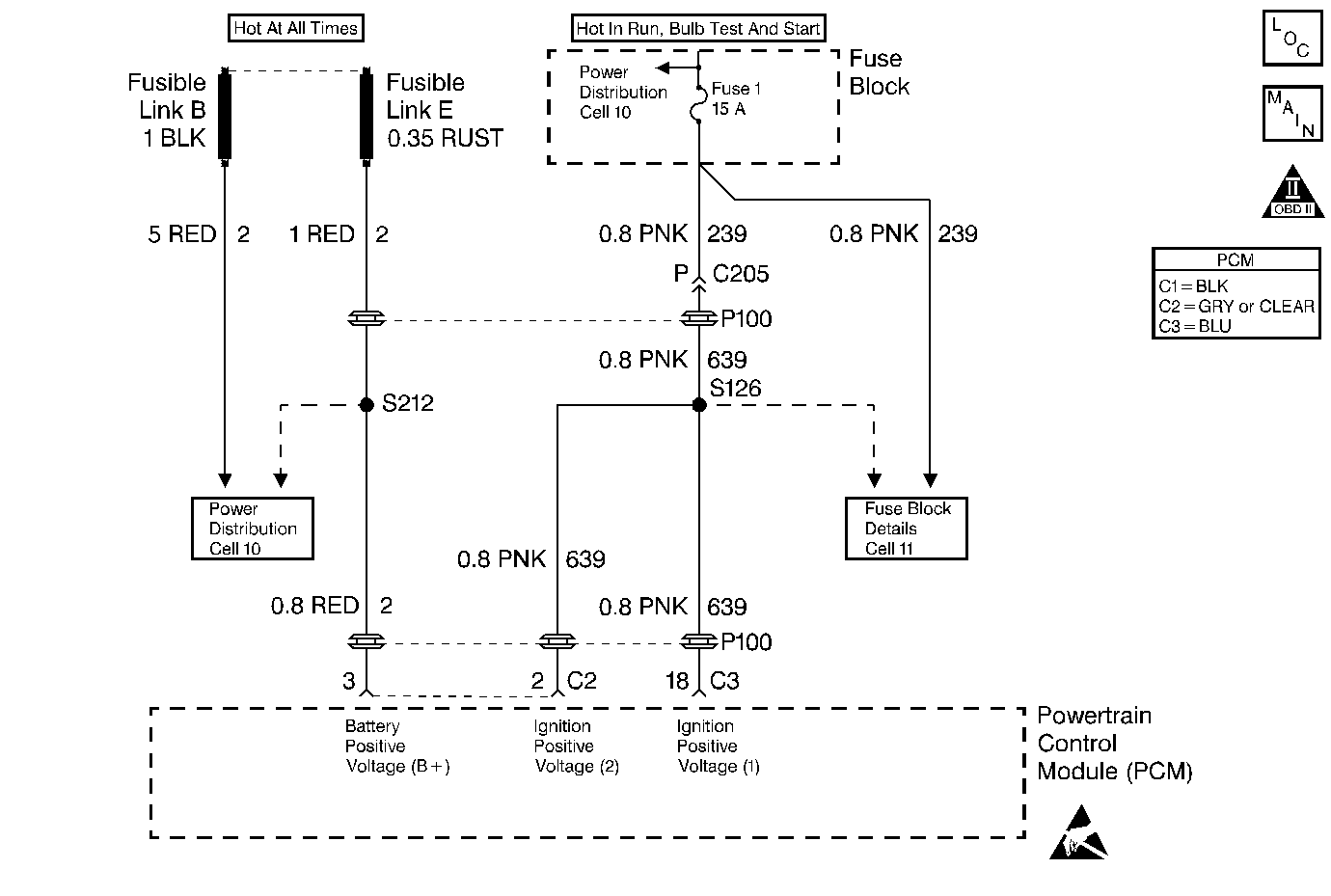
Object Number: 32859  Size: MF
Engine Controls Components
Power, Ground, MIL, and DLC
OBD II Symbol Description Notice
Handling ESD Sensitive Parts Notice

Circuit Description

The Powertrain Control Module (PCM) monitors the ignition voltage on the ignition feed #2 circuit to the PCM. A system voltage DTC will set whenever the voltage is above or below a calibrated value.

Conditions for Setting the DTC

The ignition voltage is greater than 17 volts.

Action Taken When the DTC Sets

    • The PCM will record the operating conditions at the time during which the diagnostic fails. This information will store in the Failure Records buffer.
    • A history DTC stores.
    • All of the outputs will disable.
    • The coolant fan turns ON.

Conditions for Clearing the MIL/DTC

    • A history DTC will clear after 40 consecutive warm up cycles without a fault.
    • A scan tool can clear the MIL/DTCs.

Diagnostic Aids

    • Charging the battery with a battery charger and starting the engine can cause a DTC to set.
    • If the DTC sets when you operate an accessory, check for a poor connection or an excessive current draw.
    • Additional DTCs can set as the result of the PCM disabling the outputs.

Test Description

Number(s) below refer to the step number(s) on the Diagnostic Table.

  1. The Powertrain OBD System Check prompts the technician to complete some basic checks and store the freeze frame and failure records data on the scan tool if applicable. This creates an electronic copy of the data taken when the fault occurred. The information is then stored on the scan tool for later reference.

  2. Replacement PCMs must be reprogrammed. Refer to the latest Techline information for programming procedures.

  3. If no faults have been found at this point and no additional DTCs were set, refer to Diagnostic Aids for additional checks and information.

DTC P0563-System Voltage High

Step

Action

Value(s)

Yes

No

1

Was the Powertrain On-Board Diagnostic (OBD) System Check performed?

--

Go to Step 2

Go to Powertrain On Board Diagnostic (OBD) System Check

2

  1. Turn OFF all the accessories.
  2. Install a scan tool.
  3. Start the engine and raise the engine RPM to the specified value.

Is the ignition voltage greater than the specified value?

1400 RPM

17V

Go to Step 3

Go to Step 5

3

Using a DVM, measure the battery voltage at the battery, while running the engine at the specified value.

Is the ignition voltage less than the specified value?

2000 RPM

17V

Go to Step 4

Go to Section 6D-3

4

Replace the PCM.

Is the action complete?

--

Go to Step 5

--

5

  1. Using the scan tool, clear the DTCs.
  2. Start the engine and idle at normal operating temperature.
  3. Operate the vehicle within the conditions for setting this DTC as specified in the supporting text.

Does the scan tool indicate that this diagnostic has ran and passed?

--

System OK, Refer to Diagnostic Aids

Go to Step 2