GM Service Manual Online
For 1990-2009 cars only

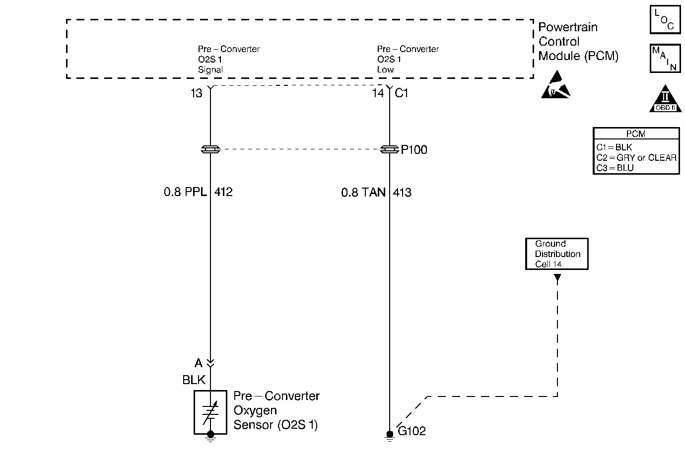
Object Number: 32851  Size: MF
Engine Controls Components
Oxygen Sensors
OBD II Symbol Description Notice
Handling ESD Sensitive Parts Notice

Circuit Description

The Powertrain Control Module (PCM) supplies a voltage of about 0.45 volt between the O2S signal and the ground circuit. The Oxygen Sensor (O2S 1) varies the voltage within a range of about 1 volt if the exhaust is rich, down through about 0.10 volt if the exhaust is lean.

The sensor is like an open circuit and produces no voltage when below 315°C (600°F). An open sensor circuit or a cold sensor causes an Open Loop operation.

If there is damage to the oxygen sensor pigtail wiring, the connector or the terminal, replace the entire oxygen sensor assembly. Do not attempt to repair the wiring, the connector or the terminals. The sensor must have a clean air reference provided in order to function properly. This clean air reference is obtained by way of the oxygen sensor wire(s). Any attempt to repair the wires, the connectors or the terminals could result in the obstruction of the air reference and degrade the oxygen sensor performance. Refer to Heated Oxygen Sensor (O2S) Repair.

Conditions For Setting The DTC

    • DTC's P0106, P0107, P0112, P0113, P0117, P0118, P0121, P0122, P0123, P0200, P0300, P0301, P0302, P0303, P0304, P0506, P0507, P1406, P1441 not set.
    • Engine run time is greater than 25 seconds.
    • Engine Coolant Temperature (ECT) is greater than 70° C (158° F).
    • Air/fuel ratio is between 14.5:1 and 14.7:1.
    • Engine is operating in Closed Loop.
    • Throttle Position (TP) angle is between 8 % and 50 % (manual trans.).
        Or
    • Throttle Position (TP) angle is between 5 % and 50 % (auto trans.).
    • Engine has met the above conditions for 20 seconds.
    • O2S 1 voltage is less than 43 mV for 50 to 125 seconds.

Action Taken When the DTC Sets

    • The Malfunction Indicator Lamp (MIL) will illuminate.
    • The PCM will record the operating conditions at the time that the diagnostic fails. This information will store in the Freeze Frame and Failure Records buffers.
    • A history DTC stores.
    • The coolant fan turns ON.
    • The vehicle will operate in an Open Loop operation.

Conditions for Clearing the MIL/DTC

    • The MIL will turn OFF after three consecutive ignition cycles in which the diagnostic runs without a fault.
    • A history DTC will clear after 40 consecutive warm-up cycles without a fault.
    • The MIL/DTCs can be cleared by using the scan tool.

Diagnostic Aids

    • Fuel pressure - System will be lean if pressure is too low. It may be necessary to monitor fuel pressure while driving the vehicle at various road speeds and/or loads to confirm. Go to Fuel System Diagnosis .
    • MAP sensor - An output that causes the PCM to sense a lower than normal manifold pressure (high vacuum) can cause the system to go lean. Disconnecting the MAP sensor will allow the PCM to substitute a fixed (default) value for the MAP sensor. If the lean condition is gone when the sensor is disconnected, substitute a known good sensor and recheck. Go to Manifold Absolute Pressure Sensor Output Diagnosis .
    • Fuel contamination - Water, in even small amounts, near the in-tank fuel pump inlet, can be delivered to the injector. The water causes a lean exhaust and can set DTC P0131.
    • Sensor harness - The O2S 1 sensor pigtail may be mis-positioned and contacting the exhaust manifold.
    • Engine misfire - A cylinder will result in unburned oxygen in the exhaust, which could cause DTC P0131. Go to DTC P0300 Engine Misfire Detected and / or Symptoms .
    • Cracked Oxygen sensor (O2S 1) - A cracked O2S 1 or poor ground at the sensor could cause a DTC P0131. Go to Symptoms .
    • Plugged fuel filter - A plugged fuel filter can cause a lean condition and cause a DTC P0131 to set.
    • Plugged Oxygen Sensor (O2S 1) - A plugged reference port on the Oxygen Sensor (O2S 1) will indicate a lower then normal voltage output from the O2S 1.

Test Description

Number(s) below refer to the step number(s) on the Diagnostic Table.

  1. The Powertrain OBD System Check prompts the technician to complete some basic checks and store the freeze frame and failure records data on the scan tool if applicable. This creates an electronic copy of the data taken when the fault occurred. The information is then stored in the scan tool for later reference.

  2. This step determines if DTC P0131 is the result of a hard failure or an intermittent condition. It may be necessary to operate the vehicle within the Freeze Frame conditions and Conditions for Setting the DTC in order to duplicate the fault detected by the PCM.

  3. This step simulates a DTC P0134. If the PCM senses the change, the PCM and wiring are OK.

  4. Replacement PCMs must be reprogrammed. Refer to the latest Techline information for programming procedures.

  5. If no faults have been found at this point and no additional DTCs were set, refer to Diagnostic Aids for additional checks and information.

DTC P0131-Oxygen Sensor (O2S) Circuit Low Voltage (Sensor 1)

Step

Action

Value(s)

Yes

No

1

Was the Powertrain On-Board Diagnostic (OBD) System Check performed?

--

Go to Step 2

Go to Powertrain On Board Diagnostic (OBD) System Check

2

  1. Ignition ON, engine OFF.
  2. Install a scan tool.
  3. Engine at operating temperature.

Does the O2S 1 voltage remain bellow the specified value?

295mV

Go to Step 4

Go to Step 3

3

  1. Review the Freeze Frame data and note the parameters.
  2. Operate the vehicle within the Freeze Frame conditions and Conditions For Setting The DTC as noted.

Does the O2S 1 voltage stay below specified value?

295mV

Go to Step 4

Go to Step 7

4

  1. Ignition ON, engine OFF.
  2. Disconnect the O2S 1 electrical connector.

Does the scan tool indicate that the O2S 1 voltage is within the specified values?

407-509mV

Go to Step 7

Go to Step 5

5

Check the O2S 1 sensor signal circuit for a short to ground and repair as necessary.

Was a repair necessary?

--

Go to Step 7

Go to Step 6

6

Replace the PCM.

Is the action complete?

--

Go to Step 7

--

7

  1. Using the scan tool, clear the DTCs.
  2. Start the engine and idle at normal operating temperature.
  3. Operate the vehicle within the conditions for setting this DTC as specified in the supporting text.

Does the scan tool indicate that this diagnostic ran and passed?

--

Go to Step 8

Go to Step 2

8

Check if any additional DTCs are set.

Are any DTCs displayed that have not been diagnosed?

--

Go to applicable DTC table

System OK, Refer to Diagnostic Aids