GM Service Manual Online
For 1990-2009 cars only

SERVICE MANUAL UPDATE SEC.9J-A S.I.R. INFORMATION

SUBJECT: SERVICE MANUAL UPDATE/SECTION 9J-A - SUPPLEMENTAL INFLATABLE RESTRAINT/REVISED 1990 SENSOR WIRING COLOURS

VEHICLES AFFECTED: ALL 1990 "Y"

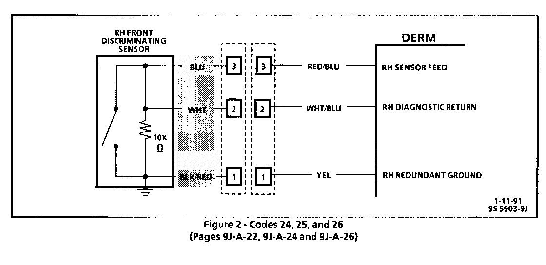
The following information supersedes the 1990 Service Manual, Section 9J-A "SIR System Diagnosis" regarding SIR Forward Discriminating Sensor wiring colours, and applies to ALL 1990 Corvettes. The wiring colours referenced pertain to the sensor's wiring pigtail, the wiring connected directly to the sensor itself.

The wiring colours shown in the Service Manual are shown below under the heading OLD. The superceding information is shown under the heading NEW. A replacement page for page 9J-A-7, "SIR Wiring Schematic", is attached. Also, revised facing-page art is attached. Facing-page Figure 1 applies to Codes 14, 15 and 16; Figure 2 applies to Codes 24, 25 and 26.

TERMINAL OLD NEW -------- --- ------- 1 BLK BLK/RED 2 YEL WHT 3 PNK BLU

Use the most applicable Labour Operation and time from the Canadian Labour Time Guide.


Object Number: 78594  Size: FS


Object Number: 79695  Size: FS


Object Number: 79694  Size: FS

General Motors bulletins are intended for use by professional technicians, not a "do-it-yourselfer". They are written to inform those technicians of conditions that may occur on some vehicles, or to provide information that could assist in the proper service of a vehicle. Properly trained technicians have the equipment, tools, safety instructions and know-how to do a job properly and safely. If a condition is described, do not assume that the bulletin applies to your vehicle, or that your vehicle will have that condition. See a General Motors dealer servicing your brand of General Motors vehicle for information on whether your vehicle may benefit from the information.