GM Service Manual Online
For 1990-2009 cars only

3-2 COAST DOWN CLUNK (INSTALL SERVO SPRING)

Subject: 3-2 COASTDOWN CLUNK (INSTALL 2-4 SERVO CUSHION ASSIST SPRING AND SPACER PLATE)

Model and Year: 1990-91 "Y" CAR WITH HYDRA-MATIC 4L60 (MD8)

TRANSMISSION MODELS: 0YDM, 1YDM, 1YHM

Bulletin Covers:

Some 1990 and 1991 Chevrolet Corvettes may experience a 3-2 coastdown clunk. The clunk can be felt around 10-14 miles per hour while lightly braking to a stop. It is most noticeable in D3 range, but can occur in D4 (overdrive) range.

A new 2-4 servo cushion assist spring and spacer plate have been released to alleviate this condition. The new spring is a conical spring which nests inside the current 2-4 servo cushion spring. The new spacer plate has a modified third clutch exhaust orifice.

Date of Production Change: (Figure 1) -------------------------------------- Beginning May 20, 1991 (Julian Date 140), all 1 YHM models of the HYDRA-MATIC 4L60 were built using the new servo cushion assist spring and spacer plate.

Service Information: (Figure 2) --------------------------------- The new servo cushion assist spring and spacer plate can be used to service any OYDM, 1YDM, or 1YHM model of the HYDRA-MATIC 4L60 transmission built before May 20, 1991. Models built after this date already contain the new spring and spacer plate.

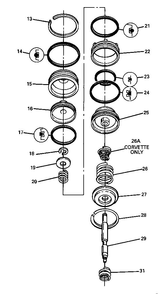
Install the new servo cushion assist spring inside the current servo cushion spring as shown in figure 2. Figure 2 shows the ONLY way the spring should be installed. Do not install the spring upside down. The new spring should not be used by itself.

Service Parts Information:

Description New Part No. ----------------------------------- ------------ Corvette 3-2 improvement Package 8683950 (includes 2-4 servo cushion assist spring, VB spacer plate, two spacer plate gaskets)

Service Manual Reference:

Refer to the Automatic Transmission Unit Repair Section of the appropriate service manual for spacer plate removal and installation information. The 2-4 servo cushion assist spring is not shown in a service manual. Follow instructions for installing a 2-4 servo cushion spring, and add the servo cushion assist spring as shown in figure 2 of this bulletin.

Refer to Figure 2

13 RING, SERVO COVER RETAINING 14 SEAL, "O'RING (2-4 SERVO COVER) 15 COVER, 2-4 SERVO 16 PISTON, 4TH APPLY 17 RING, OIL SEAL (4TH APPLY PISTON - OUTER) 18 RING, RETAINER (APPLY PIN) 19 WASHER, SERVO APPLY PIN 20 SPRING, SERVO APPLY PIN 21 SEAL, "O" RING 22 HOUSING, SERVO PISTON (INNER) 23 RING, OIL SEAL (2ND APPLY PISTON - INNER) 24 RING, OIL SEAL (2ND APPLY PISTON - OUTER) 25 PISTON, 2ND APPLY 26 SPRING, SERVO CUSHION 26A SPRING, SERVO CUSHION ASSIST (CORVETTE ONLY) 27 RETAINER, SERVO CUSHION SPRING 28 RING, RETAINER (2ND APPLY PISTON) 29 PIN, 2ND APPLY PISTON 31 SPRING, SERVO RETURN


Object Number: 80090  Size: FS


Object Number: 91297  Size: FS

General Motors bulletins are intended for use by professional technicians, not a "do-it-yourselfer". They are written to inform those technicians of conditions that may occur on some vehicles, or to provide information that could assist in the proper service of a vehicle. Properly trained technicians have the equipment, tools, safety instructions and know-how to do a job properly and safely. If a condition is described, do not assume that the bulletin applies to your vehicle, or that your vehicle will have that condition. See a General Motors dealer servicing your brand of General Motors vehicle for information on whether your vehicle may benefit from the information.