GM Service Manual Online
For 1990-2009 cars only
Makes
🢒
Chevrolet
🢒
1996
🢒
Corvette
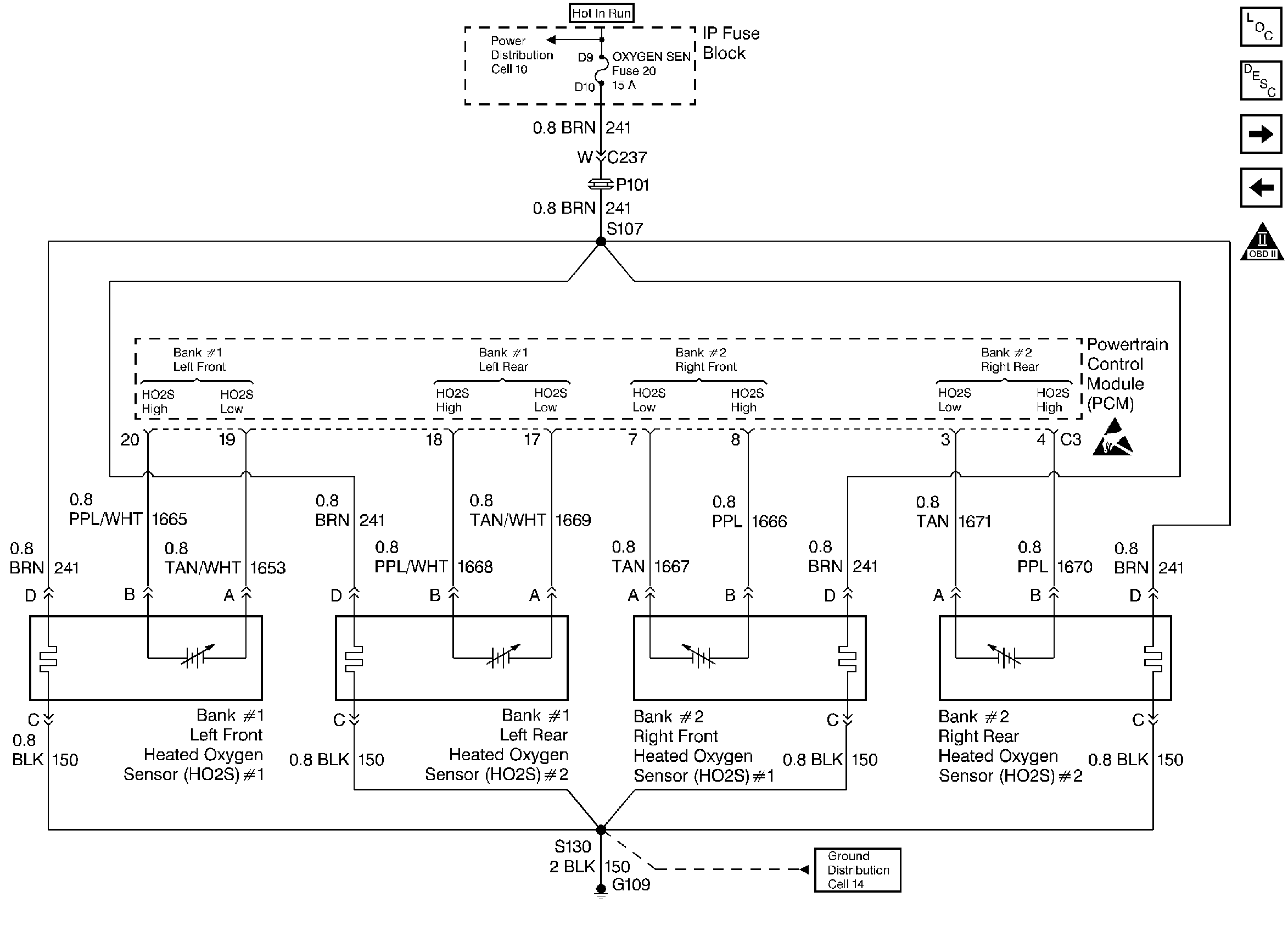
🢒 Heated Oxygen Sensors - HO2S
Heated Oxygen Sensors - HO2S
Heated Oxygen Sensors - HO2S
Engine Controls Components
Powertrain Control Module (PCM)
Engine Data Sensors
Engine Data Sensors
OBD II Symbol Description Notice
Handling ESD Sensitive Parts Notice