GM Service Manual Online
For 1990-2009 cars only

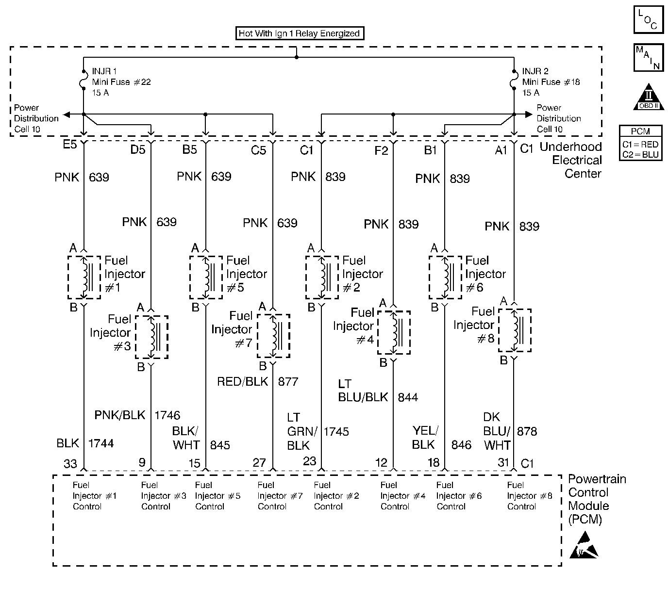
Object Number: 98402  Size: LF
OBD II Symbol Description Notice
Engine Controls Components
Cell 20: Fuel Injectors #2, #4, #6 and #8
Handling ESD Sensitive Parts Notice

Circuit Description

The PCM will enable an injector on the intake stroke of each cylinder. Individual cylinder fuel control is referred to as Sequential Multiport Fuel Injection (SFI).

Ignition voltage is supplied directly to the fuel injectors. The PCM controls each injector by grounding the control circuit via an internal switch called a driver. The primary function of the driver is to supply the ground for the component being controlled.

Diagnostic Aids

    • If an injector is disconnected while the engine is operating the injector driver will be disabled for the entire ignition cycle.
    • When the injector driver is disabled, an engine misfire will be apparent and a misfire DTC will set.

For intermittents, refer to Symptoms .

Test Description

Number(s) below refer to step numbers on the diagnostic table.

  1. Determines if a malfunction is present. For any test that requires probing the PCM or a component harness connector, must use the Connector Test Adapter Kit J 35616-A. Using this kit will prevent damage to the harness connector terminals.

  2. There are two ways to isolate a malfunctioning injector circuit:

  3. • DTC P0300 indicates a misfire is present. So use misfire current counters to locate the cylinder that is misfiring.
    •  If no misfire DTC is present, Start and idle the engine while monitoring misfire current counters. If a misfire is present, the misfire current counters will increase for a cylinder that has a misfire.
  4. Check injector connections before replacing the injector. A faulty connection will cause an inoperative injector.

  5. Checks for an ignition feed circuit that is shorted to ground.

Disconnecting the PCM will allow using the DVM (J 39200) to check continuity of the circuits. This will aid in locating an open or shorted circuit.

Fuel Injector Circuit Check

Step

Action

Value(s)

Yes

No

1

Was the Powertrain On-Board Diagnostic (OBD) System Check performed?

--

Go to Step 2

Go to Powertrain On Board Diagnostic (OBD) System Check

2

Important: This table assumes that there are no Ignition Coil/Module circuit malfunctions or mechanical malfunctions. If you were not sent here from DTC P0300, refer to DTC P0300 before proceeding with this table.

  1. Install the scan tool.
  2. Start and idle the engine.
  3. Using a scan tool, monitor all the Misfire Cur. Counters on the Misfire Data List (There are a total of 8 counters. One counter per cylinder.)

Are any of the Misfire Cur. Counters incrementing?

--

Go to Step 4

Go to Step 3

3

Using a scan tool, monitor the Misfire Hist. Counters on the Misfire Data List (There are a total of 8 counters. One counter per cylinder.)

Do any of the Misfire Hist. Counters indicate a number other than 0.0 counts?

--

Go to Step 17

Refer to Diagnostic Aids

4

Are the injector fuses OK?

--

Go to Step 5

Go to Step 8

5

  1. Turn the ignition OFF.
  2. Disconnect the injector(s) harness that the Misfire Cur counter was incrementing for.
  3. Turn the ignition ON, engine off .
  4. Using a test light (J 34142-B) connected to ground, probe the injector harness ignition feed circuit.

Does the test light illuminate?

--

Go to Step 6

Go to Step 10

6

  1. Turn the ignition OFF.
  2. Connect injector test light (J 34730-2C) to isolated injector harness.
  3. Start engine and idle.

Does the test light blink?

--

Go to Step 7

Go to Step 11

7

  1. Inspect the injector harness terminals for proper terminal tension.
  2. Replace terminal as necessary. Refer to Body and Accessories/Wiring Systems .

Did the terminal need replacing?

--

System OK

Go to Step 15

8

  1. Turn the ignition OFF.
  2. Disconnect the four injector harness connectors related to the fuse that was open.
  3. Using a test light (J 34142-B) connected to B+, probe the injector ignition feed circuits of one of the injector harnesses that are disconnected.

Does the test light illuminate?

--

Go to Step 13

Go to Step 9

9

Using a DVM (J 39200), measure resistance of each injector that is powered by the fuse that was open.

Does any injector measure less than the specified value?

11.4 Ohms

Go to Step 15

Go to Step 14

10

Repair the injector ignition feed circuit to isolated injector. Refer to Body and Accessories/Wiring Systems .

Is the action complete?

--

System OK

--

11

  1. Turn the ignition OFF.
  2. Disconnect the PCM connector located on the opposite side as the KS module access cover.
  3. Check the injector driver circuit for an open or short to ground.

Is the injector driver circuit open or shorted to ground?

--

Go to Step 12

Go to Step 16

12

Repair injector driver circuit for an open or short to ground. Refer to Body and Accessories/Wiring Systems .

Is the action complete?

--

System OK

--

13

Repair the grounded ignition feed circuit to the injectors. Refer to Body and Accessories/Wiring Systems .

Is the action complete?

--

System OK

--

14

Repair intermittent short to ground in the injector ignition feed circuit. Refer to Body and Accessories/Wiring Systems .

Is the action complete?

--

System OK

--

15

Replace the faulty injector(s) that was isolated. Refer to Fuel Injector Replacement .

Is the action complete?

--

System OK

--

16

Important:: Replacement PCM must be programmed. Refer to Powertrain Control Module/Throttle Actuator Control Module Replacement .

Replace the PCM.

Is the action complete?

--

System OK

--

17

Inspect the appropriate injector circuit for the following:

    • Poor connections at the injector and the PCM terminal.
    • Intermittent shorts to ground.
    • Intermittents opens.

If a problem is found, repair as necessary.

Was a problem found and corrected?

--

System OK

Intermittent condition. Go to Symptoms