GM Service Manual Online
For 1990-2009 cars only

Adjustment Procedure

Tools Required

    • J 42743 Trim Height Adjustment Tool
    • J 42854 Trim Height Measurement Gauge

Important: When adjusting either the right or left hand front trim height the opposite side trim height will be affected.


    Object Number: 200740  Size: SH
  1. Place vehicle on an alignment rack.
  2. Set the tire air pressure to the proper pressure.
  3. Manually lift the front of the vehicle up approximately 38 mm (1½ in) gently remove hands and let the vehicle settle.
  4. Repeat the above step two more times for a total of three times.
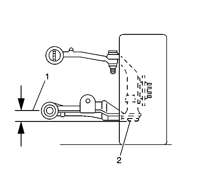
  5. Use J 42854 to measure the distance between the lowest point of the left front ball joint (2) and the center of the front of the forward lower control arm bushing mounting bolt (1).

  6. Object Number: 200744  Size: SH
  7. Manually push the front of the vehicle down approximately 38 mm (1½ in). Gently remove hands and let the vehicle rise on it's own.
  8. Repeat the above step two more times for a total of three times.
  9. Use J 42854 to measure the distance between the lowest point of the right front ball joint (2) and of the center of the front of the forward lower control arm mounting bolt (1).
  10. • Measure both the right and left sides of the vehicle.
    • The true Z trim height on each side is the average of the high and low measurements. Refer to Trim Height Specifications in Suspension General Diagnosis.

    Object Number: 191948  Size: SH
  11. Use J 42743 to lift the transverse spring off of the lower control arm.
  12. Important: One complete turn of the spring adjuster bolt is equal to 2 mm ( 5/64 in).

  13. Ajust the Z trim height by turning the spring adjuster bolt.
  14. Lower the transverse spring back onto the lower control and remove J 42743 .
  15. Perform the jounce procedures again and remeasure the Z trim height.

  16. Object Number: 200308  Size: SH

    Important: Do not exceed the maximum difference between right and left spring adjuster bolt gaps .

  17. Measure the front spring adjuster bolt gaps (1). Refer to General Specifications .