GM Service Manual Online
For 1990-2009 cars only

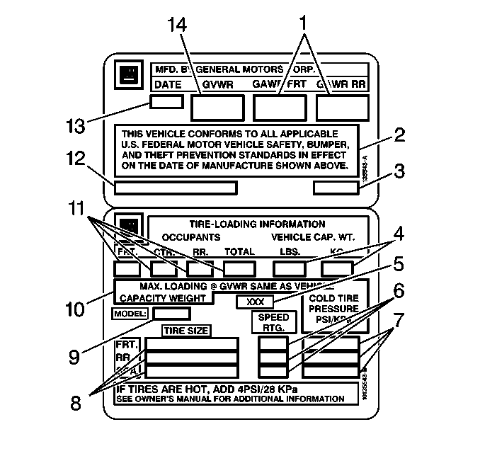
Object Number: 70077  Size: SH
(1)Gross Axle Weight-Rating FRT and RR
(2)Certification Statement
(3)Vehicle Type: Pass Car
(4)Maximum Vehicle Capacity Weight
(5)Tire Lable Code
(6)Speed Rating FRT, RR and Spare Tires
(7)FRT. RR and Spare Tire Pressures
(8)FRT, RR and Spare Tire Sizes
(9)Engineering Model Minus First Character
(10)Maximum Load Statement
(11)Specificed Occupant Seating Positions
(12)Vehicle Identification Number
(13)Date of Manufacture (M0/YR)
(14)Gross Vehicle Weight Rating

The tire Placard (information label) is permanently located on the rear of the driver's door edge. Refer to the tire Placard (information label) for tire information. The following information may be found on the tire Placard (information label):

    • The maximum vehicle load
    • The tire size
    • The spare tire size
    • The cold inflation pressure for the tire
    • The cold inflation pressure for the spare tire