GM Service Manual Online
For 1990-2009 cars only

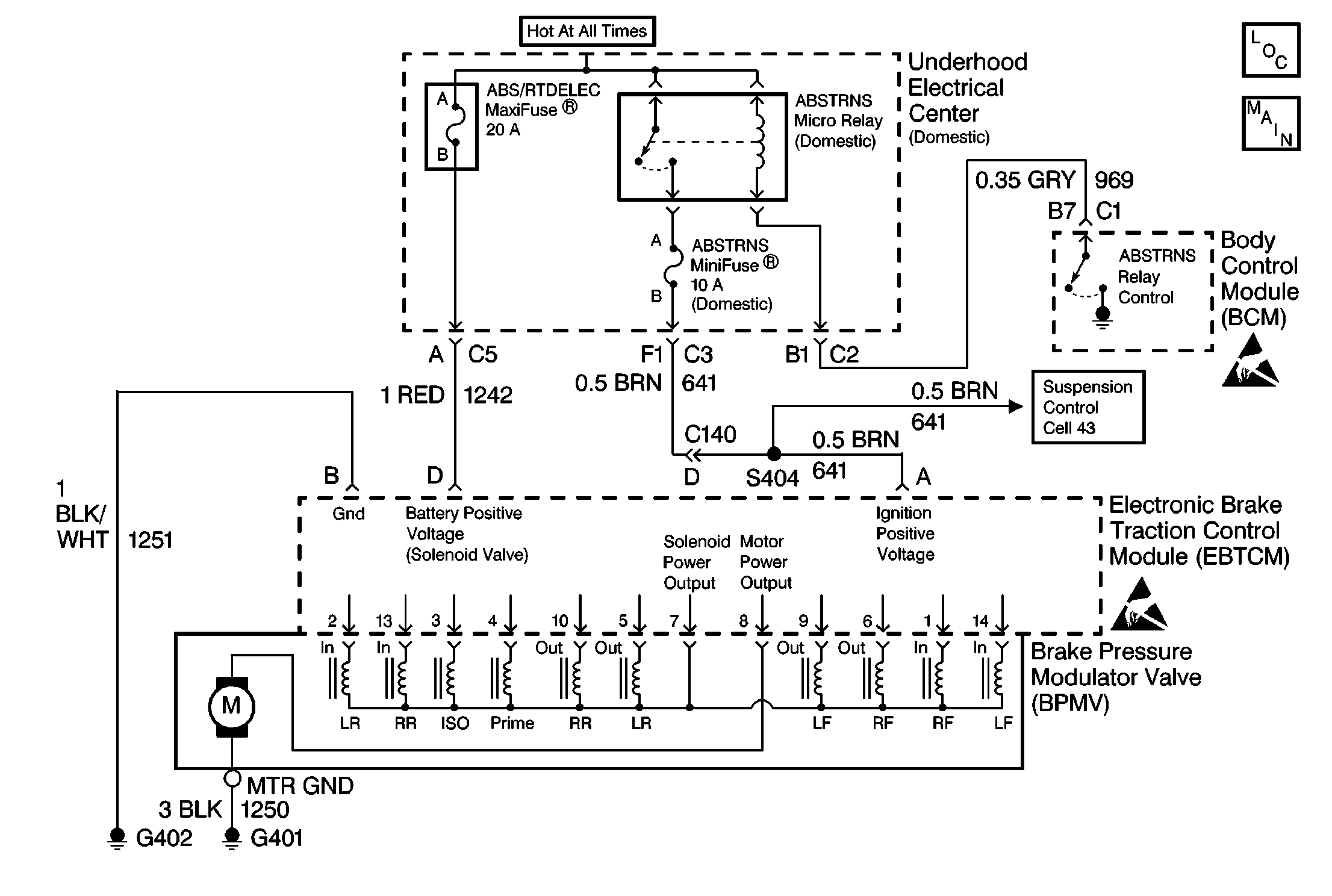
No Communication with Electronic Brake Control Module/Electronic Brake and Traction Control Module Domestic


Object Number: 203412  Size: MF
ABS Components
ABS/TCS Schematics

Circuit Description

The Class 2 serial data line allows all the modules on the line to transmit information to each other as needed. Each module is assigned an ID and all the information sent out on the line is assigned a priority by which it is received. When the ignition switch is turned to the ON position each module begins to send and receive information. Each module on the Class 2 serial data line knows what information it needs to send out and what information it should be receiving. What the modules do not know is which module is supposed to send them the information. This information is only learned after the module has received the information it needs along with the ID of the module that sent the information. This information is then remembered until the ignition switch is turned off.

Diagnostic Aids

    • It is very important that a thorough inspection of the wiring and connectors be performed. Failure to carefully and fully inspect wiring and connectors may result in misdiagnosis, causing part replacement with reappearance of the malfunction.
    • An intermittent malfunction is most likely caused by a poor connection, rubbed through wire insulation, or a wire that is broken inside the insulation.
    • If an intermittent malfunction exists refer to General Electrical Diagnosis .

Test Description

The number(s) below refer to the step number(s) on the diagnostic table.

  1. Checks for proper operation of the relay.

  2. Checks if CKT 641 is shorted to ground.

  3. Checks if the EBTCM has an internal short to ground.

  4. Checks if the ESC has an internal short to ground.

No Communication with EBTCM (Domestic)

Step

Action

Value(s)

Yes

No

DEFINITION: Scan tool can not communicate with the EBTCM.

1

Was the Diagnostic System Check performed?

--

Go to Step 2

Go to Diagnostic System Check

2

Can the scan tool communicate with the BCM?

--

Go to Step 3

Go to Data Link Communications System Check in Wiring Systems

3

Can the scan tool communicate with the PCM?

--

Go to Step 4

Go to Data Link Communications System Check in Wiring Systems

4

Inspect the 10A ABSTRNS fuse in the Underhood Electrical Center.

Is the fuse OK?

--

Go to Step 5

Go to Step 16

5

Inspect the 20A ABS/RTD fuse in the Underhood Electrical Center.

Is the fuse OK?

--

Go to Step 6

Go to Step 20

6

  1. Turn the ignition switch to the OFF position.
  2. Disconnect the BCM connector C1.
  3. Connect a fused jumper wire between the BCM connector C1 terminal B7 and ground.
  4. Install the fuses if removed.
  5. Using J 39200 DMM, measure the voltage at the 10A ABSTRNS fuse by probing between the fuse test terminals and ground.

Is the voltage within the range specified within the value(s) column?

Battery Volts

Go to Step 11

Go to Step 7

7

  1. Remove the fused jumper wire.
  2. Remove the ABSTRNS MicroRelay.
  3. Using J 39200 DMM, measure the resistance between the ABSTRNS MicroRelay terminals 1 and 2 (or 85 and 86).

Is the resistance within the range specified within the value(s) column?

75 - 105ohms

Go to Step 9

Go to Step 8

8

Replace the ABSTRNS MicroRelay.

Is the replacement complete?

--

Go to Diagnostic System Check

--

9

  1. Disconnect the Underhood Electrical Center connector C2.
  2. Using J 39200 DMM, measure the resistance between the Underhood Electrical Center connector C2 terminal B1and the BCM connector C1 terminal B7.

Is the resistance within the range specified in the value(s) column?

0 - 5ohms

Go to Step 8

Go to Step 10

10

Repair CKT 969 for an open. Refer to Wiring Repairs in Wiring Systems.

Is the repair complete?

--

Go to Diagnostic System Check

--

11

  1. Turn the ignition switch to the OFF position.
  2. Disconnect the EBTCM connector.
  3. Connect the J 39700 Universal Pinout Box using the J 39700-25 cable adapter to the EBTCM harness connector only.
  4. Using J 39200 DMM, measure the voltage at terminal A of J 39700 .

Is the voltage within the range specified in the value(s) column?

Battery Volts

Go to Step 13

Go to Step 12

12

Repair CKT 641 for an open. Refer to Wiring Repairs in Wiring Systems.

Is the repair complete?

--

Go to Diagnostic System Check

--

13

Using J 39200 DMM, measure the voltage at the 20A ABS/RTD fuse by probing between the fuse test terminals and a good ground.

Is the voltage within the range specified within the value(s) column?

Battery Volts

Go to Step 14

Go to Power Distribution Schematics in Wiring Systems

14

Using J 39200 DMM, measure the voltage at terminal D of J 39700 .

Is the voltage within the range specified in the value(s) column?

Battery Volts

Go to Step 23

Go to Step 15

15

Repair CKT 1242 for an open. Refer to Wiring Repairs in Wiring Systems.

Is the repair complete?

--

Go to Diagnostic System Check

--

16

  1. Install a new 10A ABSTRNS fuse.
  2. Cycle the ignition switch from the OFF to ON position, engine Off.
  3. Recheck the 10A ABSTRNS fuse.

Is the fuse OK?

--

Go to Diagnostic System Check

Go to Step 17

17

  1. Turn the ignition switch to the OFF position.
  2. Remove the 10A ABSTRNS fuse.
  3. Disconnect the EBTCM connector.
  4. Disconnect the Electronic Suspension Control Module (ESC) connector C1 (if equipped).
  5. Connect the J 39700 Universal Pinout Box using the J 39700-25 cable adapter to the EBTCM harness connector only.
  6. Using J 39200 DMM, measure the resistance between terminals A and B of J 39700 .

Is the resistance within the range specified in the value(s) column?

OL (infinite)

Go to Step 25

Go to Step 18

18

Repair CKT 641 for a short to ground. Refer to Wiring Repairs in Wiring Systems.

Is the repair complete?

--

Go to Diagnostic System Check

--

19

Replace the EBTCM. Refer to Electronic Brake and Traction Control Module .

Is the replacement complete?

--

Go to Diagnostic System Check

--

20

  1. Install a new ABS/RTD fuse.
  2. Recheck the fuse.

Is the fuse OK?

--

Go to Diagnostic System Check

Go to Step 21

21

  1. Turn the ignition switch to the OFF position.
  2. Remove the ABS/RTD fuse.
  3. Disconnect the EBTCM connector.
  4. Connect the J 39700 Universal Pinout Box using the J 39700-25 cable adapter to the EBTCM harness connector only.
  5. Using J 39200 DMM, measure the resistance between terminals D and B of J 39700 .

Is the resistance within the range specified in the value(s) column?

OL (infinite)

Go to Step 19

Go to Step 22

22

Repair CKT 1242 for a short to ground. Refer to Wiring Repairs in Wiring Systems.

Is the repair complete?

--

Go to Diagnostic System Check

--

23

Using J 39200 DMM, measure the resistance between J 39700 terminal B and a good ground.

Is the resistance within the range specified in the value(s) column?

0 - 5ohms

Go to Step 29

Go to Step 24

24

Repair CKT 1251 or G402 for an open or high resistance. Refer to Wiring Repairs in Wiring Systems.

Is the repair complete?

--

Go to Diagnostic System Check

--

25

  1. Install a new ABSTRNS fuse.
  2. Reconnect the EBTCM harness connector to the EBTCM.
  3. Cycle the ignition switch from the OFF to ON position, engine Off.
  4. Check the ABSTRNS fuse.

Is the fuse OK?

--

Go to Step 26

Go to Step 19

26

Is the vehicle equipped with RTD?

--

Go to Step 27

Go to Diagnostic System Check

27

  1. Turn the ignition switch to the OFF position.
  2. Reconnect the ESC harness connector to the ESC.
  3. Cycle the ignition switch from the OFF to ON position, engine Off.
  4. Check the ABSTRNS fuse.

Is the fuse OK?

--

Go to Diagnostic System Check

Go to Step 28

28

Suspect the ESC. Refer to RTD Diagnostic System Check in Suspension.

Is the ESC diagnosis complete?

--

Go to Diagnostic System Check

--

29

  1. Remove the bus bar from the Star Connector 1.
  2. Using J 39200 DMM, measure the resistance between the Star Connector 1 terminal E and terminal 10 of J 39700 .
  3. Refer to ABS/TCS Schematics for Class 2 serial data line schematic.

Is the resistance within the range specified within the value(s) column?

0 - 2ohms

Go to Step 19

Go to Step 30

30

Repair CKT 1122 for an open or high resistance. Refer to Wiring Repairs in Wiring Systems.

Is the repair complete?

--

Go to Diagnostic System Check

--

No Communication with Electronic Brake Control Module/Electronic Brake and Traction Control Module Export


Object Number: 203408  Size: MF
ABS Components
ABS/TCS Schematics

Circuit Description

The Class 2 serial data line allows all the modules on the line to transmit information to each other as needed. Each module is assigned an ID and all the information sent out on the line is assigned a priority by which it is received. When the ignition switch is turned to the ON position each module begins to send and receive information. Each module on the Class 2 serial data line knows what information it needs to send out and what information it should be receiving. What the modules do not know is which module is supposed to send them the information. This information is only learned after the module has received the information it needs along with the ID of the module that sent the information. This information is then remembered until the ignition switch is turned off.

Diagnostic Aids

    • It is very important that a thorough inspection of the wiring and connectors be performed. Failure to carefully and fully inspect wiring and connectors may result in misdiagnosis, causing part replacement with reappearance of the malfunction.
    • An intermittent malfunction is most likely caused by a poor connection, rubbed through wire insulation, or a wire that is broken inside the insulation.
    • If an intermittent malfunction exists refer to General Electrical Diagnosis .

Test Description

The number(s) below refer to the step number(s) on the diagnostic table.

  1. Checks for proper operation of the ABSTRNS relay.

  2. Checks if the EBTCM has an internal short to ground.

  3. Checks if the ESC has an internal short to ground.

No Communication with EBTCM (Export)

Step

Action

Value(s)

Yes

No

1

Was the Diagnostic System Check performed?

--

Go to Step 2

Go to Diagnostic System Check

2

Can the scan tool communicate with the BCM?

--

Go to Step 3

Go to Data Link Communications System Check in Wiring Systems

3

Can the scan tool communicate with the PCM?

--

Go to Step 4

Go to Data Link Communications System Check in Wiring Systems

4

Inspect the 10A ABSTRNS fuse in the Underhood Electrical Center.

Is the fuse OK?

--

Go to Step 5

Go to Step 23

5

Inspect the 20A ABS/RTD fuse in the Underhood Electrical Center.

Is the fuse OK?

--

Go to Step 6

Go to Step 33

6

  1. Turn the ignition switch to the ON position, engine Off.
  2. Using J 39200 DMM, measure the voltage at the 10A ABSTRNS fuse by probing between the fuse test terminals and ground.

Is the voltage within the range specified within the value(s) column?

Battery Volts

Go to Step 7

Go to Power Distribution Schematics in Wiring Systems

7

  1. Remove the ABSTRNS relay.
  2. Using J 39200 DMM, measure the voltage at terminal 30 of the ABSTRNS relay connector.

Is the voltage within the range specified within the value(s) column?

Battery Volts

Go to Step 9

Go to Step 8

8

Repair CKT 641 between the Underhood Electrical Center connector C3 terminal E8 and the ABSTRNS relay connector terminal 30 for an open. Refer to Wiring Repairs in Wiring Systems.

Is the repair complete?

--

Go to Diagnostic System Check

--

9

Using J 39200 DMM, measure the voltage at terminal 85 of the ABSTRNS relay connector.

Is the voltage within the range specified within the value(s) column?

Battery Volts

Go to Step 11

Go to Step 10

10

Repair CKT 641 between the Underhood Electrical Center connector C3 terminal E8 and the ABSTRNS relay connector terminal 85 for an open. Refer to Wiring Repairs in Wiring Systems.

Is the repair complete?

--

Go to Diagnostic System Check

--

11

  1. Turn the ignition switch to the OFF position.
  2. Disconnect the EBTCM connector.
  3. Connect the J 39700 Universal Pinout Box using the J 39700-25 cable adapter to the EBTCM harness connector only.
  4. Connect a 10A fused jumper wire between the ABSTRNS relay connector terminals 30 and 87.
  5. Turn the ignition switch to the ON position, engine Off.
  6. Using J 39200 DMM, measure the voltage at terminal A of J 39700 .

Is the voltage within the range specified within the value(s) column?

Battery Volts

Go to Step 13

Go to Step 12

12

Repair CKT(s) 970 or 641 between the ABSTRNS relay connector and the EBTCM for an open. Refer to Wiring Repairs in Wiring Systems.

Is the repair complete?

--

Go to Diagnostic System Check

--

13

  1. Turn the ignition switch to the OFF position.
  2. Disconnect the BCM connector C1.
  3. Using J 39200 DMM, measure the resistance between the ABSTRNS relay connector terminal 86 and the BCM connector C1 terminal B7.

Is the resistance within the range specified within the value(s) column?

0 - 5ohms

Go to Step 15

Go to Step 14

14

Repair CKT 969 for an open. Refer to Wiring Repairs in Wiring Systems.

Is the repair complete?

--

Go to Diagnostic System Check

--

15

  1. Install the ABSTRNS relay.
  2. Connect a fused jumper wire between the BCM connector C1 terminal B7 and ground.
  3. Turn the ignition switch to the ON position, engine Off.
  4. Using J 39200 DMM, measure the voltage at terminal A of the J 39700 .

Is the voltage within the range specified within the value(s) column?

Battery Volts

Go to Step 17

Go to Step 16

16

Replace the ABSTRNS relay.

Is the replacement complete?

--

Go to Diagnostic System Check

--

17

Using J 39200 DMM, measure the voltage at terminal D of the J 39700 .

Is the voltage within the range specified within the value(s) column?

Battery Volts

Go to Step 20

Go to Step 18

18

Using J 39200 DMM, measure the voltage at the 20A ABS/RTD fuse by probing between the fuse test terminals and ground.

Is the voltage within the range specified within the value(s) column?

Battery Volts

Go to Step 19

Go to Power Distribution Schematics in Wiring Systems

19

Repair CKT 1242 for an open. Refer to Wiring Repairs in Wiring Systems.

Is the repair complete?

--

Go to Diagnostic System Check

--

20

  1. Turn the ignition switch to the OFF position.
  2. Using J 39200 DMM, measure the resistance between the J 39700 terminal B and a good ground.

Is the resistance within the range specified within the value(s) column?

0 - 5ohms

Go to Step 36

Go to Step 22

21

Replace the EBTCM. Refer to Electronic Brake and Traction Control Module .

Is the replacement complete?

--

Go to Diagnostic System Check

--

22

Repair open or high resistance in CKT 1251 or G402. Refer to Wiring Repairs in Wiring Systems.

Is the repair complete?

--

Go to Diagnostic System Check

--

23

  1. Remove the ABSTRNS relay.
  2. Install a new 10A ABSTRNS fuse.
  3. Cycle the ignition switch from the OFF to ON position, engine Off.
  4. Check the ABSTRNS fuse.

Is the fuse OK?

--

Go to Step 25

Go to Step 24

24

Repair CKT(s) 641 for a short to ground. Refer to Wiring Repairs in Wiring Systems.

Is the repair complete?

--

Go to Diagnostic System Check

--

25

  1. Turn the ignition switch to the OFF position.
  2. Disconnect connector C140.
  3. Using J 39200 DMM, measure the resistance between the ABSTRNS relay connector terminal 87 and ground.

Is the resistance within the range specified within the value(s) column?

OL (infinite)

Go to Step 27

Go to Step 26

26

Repair CKT 970 for a short to ground. Refer to Wiring Repairs in Wiring Systems.

Is the repair complete?

--

Go to Diagnostic System Check

--

27

  1. Disconnect the EBTCM.
  2. Connect the J 39700 Universal Pinout Box using the J 39700-25 cable adapter to the EBTCM harness connector only.
  3. Disconnect the Electronic Suspension Control Module (ESC) connector C1 (If vehicle is equipped with RTD).
  4. Using J 39200 DMM, measure the resistance between terminals A and B of J 39700 .

Is the resistance within the range specified within the value(s) column?

OL (infinite)

Go to Step 29

Go to Step 28

28

Repair CKT 641 for a short to ground. Refer to Wiring Repairs in Wiring Systems.

Is the repair complete?

--

Go to Diagnostic System Check

--

29

  1. Install the ABSTRNS relay.
  2. Reconnect the EBTCM harness connector to the EBTCM.
  3. Cycle the ignition switch from the OFF to ON position, engine Off.
  4. Inspect the ABSTRNS fuse.

Is the fuse OK?

--

Go to Step 30

Go to Step 21

30

Is the vehicle equipped with RTD?

--

Go to Step 31

Go to Diagnostic System Check

31

  1. Turn the ignition switch to the OFF position.
  2. Reconnect the ESC harness connector to the ESC.
  3. Cycle the ignition switch from the OFF to ON position, engine Off.
  4. Inspect the ABSTRNS fuse.

Is the fuse OK?

--

Go to Diagnostic System Check

Go to Step 32

32

Suspect the ESC. Refer to RTD Diagnostic System Check in Suspension.

Is the ESC diagnosis complete?

--

Go to Diagnostic System Check

--

33

  1. Install a new ABS/RTD fuse.
  2. Check the ABS/RTD fuse.

Is the fuse OK?

--

Go to Diagnostic System Check

Go to Step 34

34

  1. Turn the ignition switch to the OFF position.
  2. Remove the ABS/RTD fuse.
  3. Connect the J 39700 Universal Pinout Box using the J 39700-25 cable adapter to the EBTCM harness connector only.
  4. Using J 39200 DMM, measure the resistance between terminals D and B of J 39700 .

Is the resistance within the range specified within the value(s) column?

OL (infinite)

Go to Step 21

Go to Step 35

35

Repair CKT 641 for a short to ground. Refer to Wiring Repairs in Wiring Systems.

Is the repair complete?

--

Go to Diagnostic System Check

--

36

  1. Remove the bus bar from the Star Connector 1.
  2. Using J 39200 DMM, measure the resistance between the Star Connector 1 terminal E and terminal 10 of J 39700 . Refer to ABS/TCS Schematics for Class 2 serial data line schematic.

Is the resistance within the range specified within the value(s) column?

0 - 2ohms

Go to Step 21

Go to Step 37

37

Repair CKT 1122 for an open or high resistance. Refer to Wiring Repairs in Wiring Systems.

Is the repair complete?

--

Go to Diagnostic System Check

--