GM Service Manual Online
For 1990-2009 cars only

Evacuation Procedure

  1. Make sure that there is sufficient R-134a refrigerant for charging:
  2. Connect the high side hose to the vehicle.

  3. Object Number: 82097  Size: SH
    2.1. Simultaneously press RESET (7) and ENTER (5).
    2.2. Press 6.
    2.3. If the display reads less than 16 kg (36 lb), add refrigerant to the tank. Refer to the manufacturer's instructions.
  4. Connect the low side hose to the vehicle.

  5. Object Number: 82273  Size: SH
  6. Open both the high (4) and low (6) side valves on the control panel.
  7. Open the red LIQUID valve on the tank.
  8. Open the blue GAS (vapor) valve on the tank.

  9. Object Number: 82094  Size: SH

    Important: In order to properly remove all of the air and dry the A/C system, the unit automatically goes to a pre-programmed evacuation cycle.

  10. Evacuate the system.

  11. Object Number: 82097  Size: SH
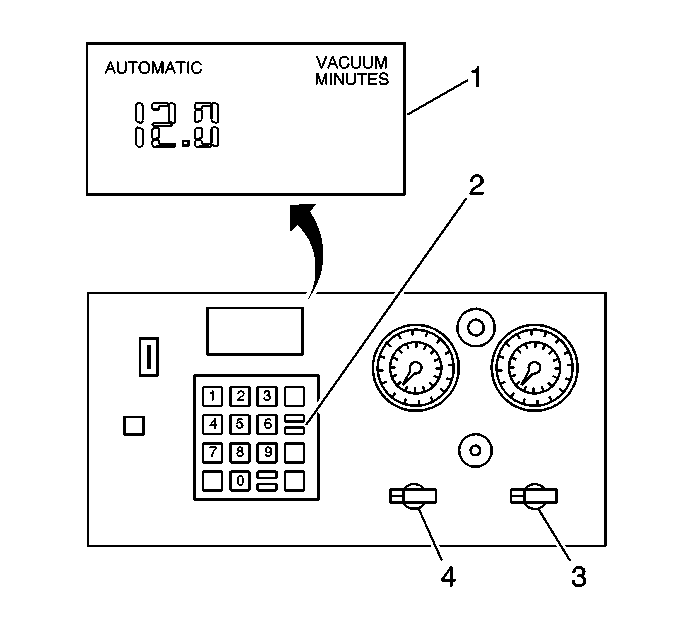
  12. Enter the desired evacuation time on the unit keypad.
  13. Press ENTER and the display will blink, indicating the input of data.
  14. Press VACUUM (4) in order to start the vacuum pump:

  15. Object Number: 82273  Size: SH
  16. Observe the display for the following:
  17. • The display counts down the vacuum time to zero (0) in order to indicate the time remaining.
    • The display reads RECYCLE five seconds after the vacuum pump starts and continues while the process takes place.
    • Automatic refrigerant recycling during each evacuation is a feature of the ACR4 system. No action is required by the technician.
    • The control panel MOISTURE indicator (5) must be green during recycling in order to verify that the moisture content is within specifications. Yellow indicates a set condition requiring a filter/drier cartridge change. See the manufacturer instructions for this procedure.
    • Noncondensable gases (mostly air) are automatically vented from the tank during the recycling process. An audible sound of pressure release may be heard as this happens and is a normal function.

    Object Number: 82095  Size: SH
  18. Press the HOLD/CONT keys (2) at the 12 minute mark (indicating the pump has run for 3 minutes) on the display in order to stop the vacuum pump.
  19. Take the vacuum reading:
  20. • (0) reading:
       - Inspect for a major system leak. Refer to Leak Testing .
       - Repair the leak before resuming this procedure.
    • 91-101 kPa (27-30 in Hg) indicated:

    Object Number: 82273  Size: SH
       - Close the high (4) and low (6) side valves.
       - Observe the vacuum level.
       - If a 91-101 kPa (27-30 in Hg) vacuum is not maintained, diagnose the A/C system for a leak before resuming the evacuation procedure. Refer to Leak Testing .
       - After a 91-101 kPa (27-30 in Hg) is maintained, open the high and low side valves.
  21. When the vacuum sequence has run the programmed time, the display shows CPL, indicating that the evacuation is complete.