GM Service Manual Online
For 1990-2009 cars only

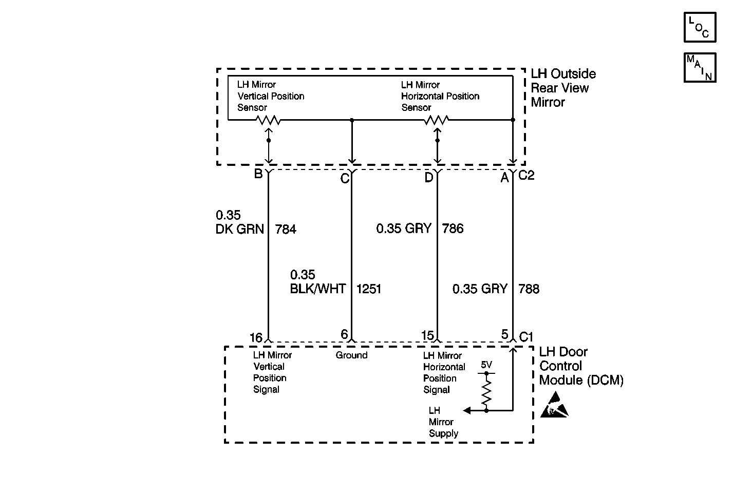
Object Number: 97661  Size: MF

DTC B2286 -- +5V Reference -- Fault -- DCM-left

Step

Action

Value(s)

Yes

No

1

  1. Disconnect the left power mirror connector.
  2. Measure the voltage between the left power mirror connector C1 terminal A and ground.

Is the voltage within the specified range?

4.5-5.5V

Go to Step 2

Go to Step 3

2

Measure the voltage between the left mirror connector C1 terminal A and terminal C.

Is the voltage within the specified range?

4.5-5.5V

Go to Step 4

Go to Step 5

3

Check for an open or a short to ground in CKT 788. If OK, Replace the left Door Control Module (DCM).

Is the repair complete?

Recheck the System Operation

4

Replace the left power mirror.

Is the replacement complete?

Recheck the System Operation

5

  1. Repair the open in CKT 1251.
  2. IF OK, Replace the left Door Control Module (DCM).

Is the replacement complete?

Recheck the System Operation