GM Service Manual Online
For 1990-2009 cars only

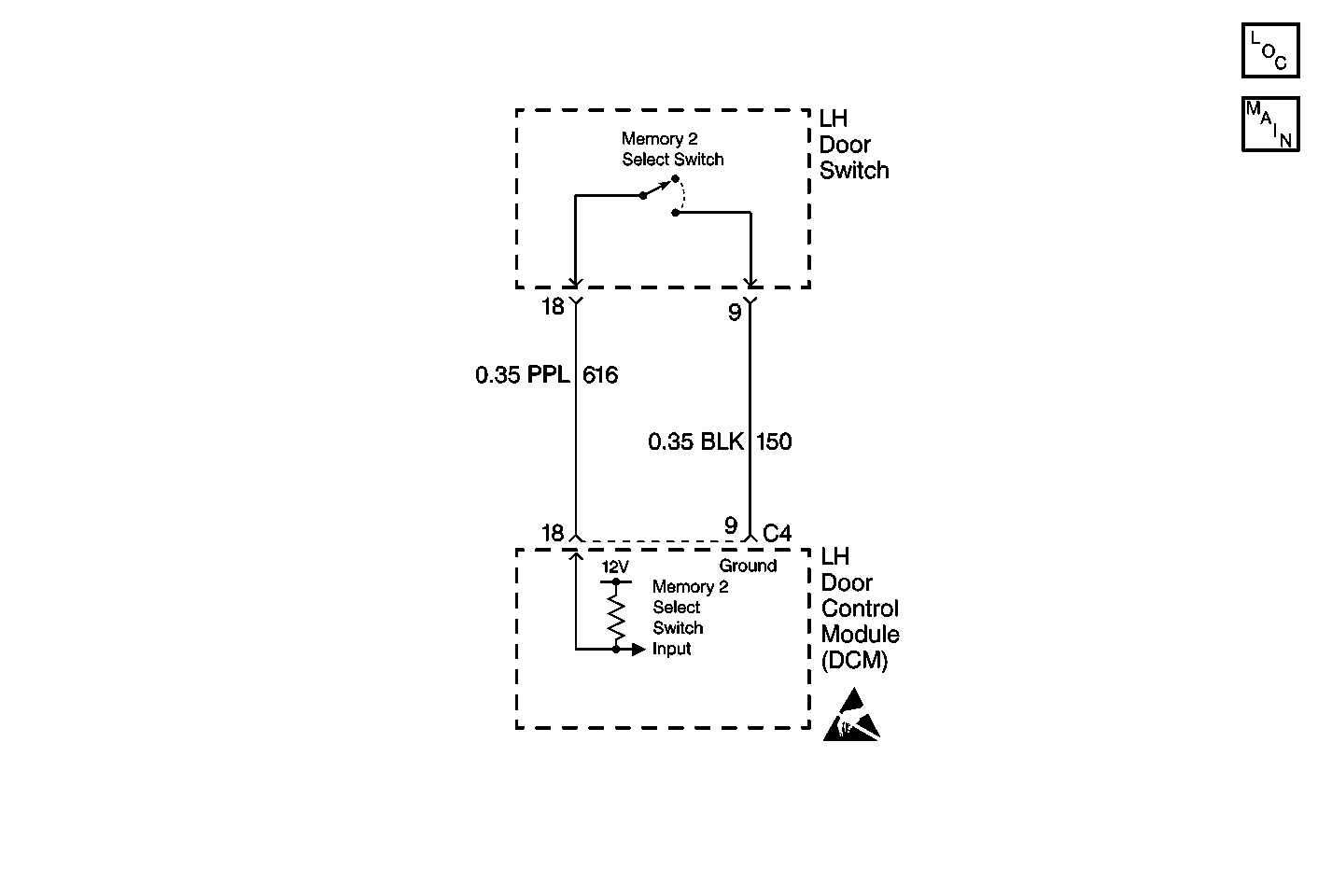
Object Number: 97833  Size: MF

DTC B2244 -- Memory #2 Switch -- Fault -- DCM-Left

Step

Action

Value(s)

Yes

No

1

  1. Disconnect the left Door Control Module (DCM)
  2. While pressing the memory 2 switch, measure the resistance between the DCM connector C4 terminal 9 and terminal 18.

Is the resistance within specified range?

<5ohms

Go to Step 2

Go to Step 3

2

Replace the left Door Control Module (DCM).

Is the repair complete?

Recheck the System Operation

3

  1. Disconnect the left door switch connector C4.
  2. While pressing the memory 2 switch, measure the resistance between the left door switch connector C4 terminal 9 and terminal 18.

Is the resistance within specified range?

<5ohms

Go to Step 4

Go to Step 5

4

Repair the open in CKT 616 or CKT 150 between the left door switch and the left Door Control Module (DCM).

Is the repair complete?

Recheck the System Operation

5

Replace the left door switch.

Is the repair complete?

Recheck the System Operation