GM Service Manual Online
For 1990-2009 cars only

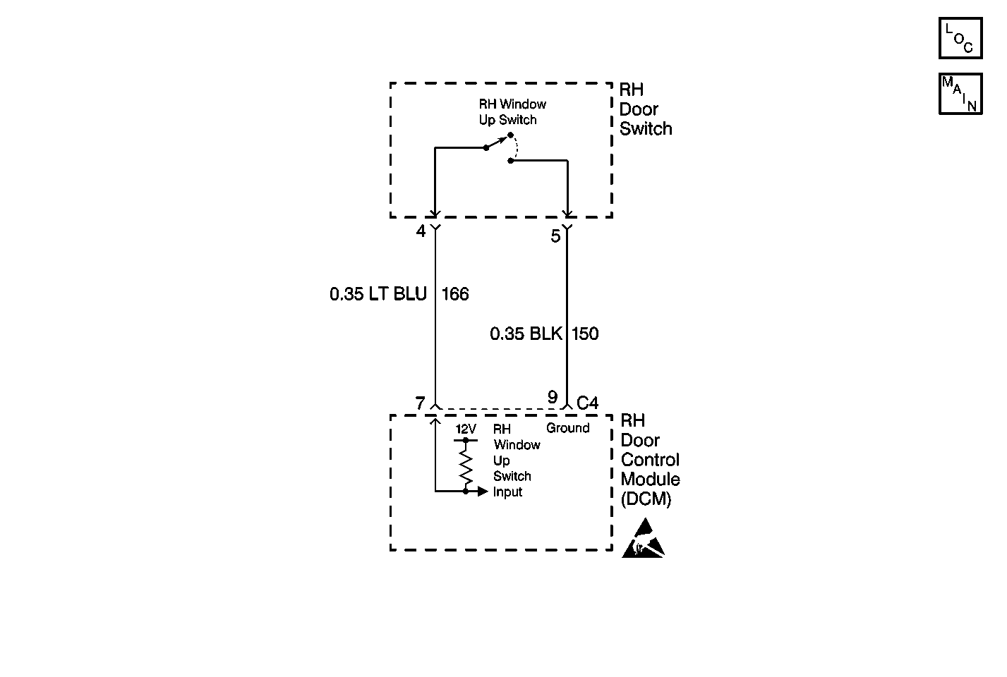
Object Number: 97844  Size: MF
Power Door Systems Components
Door Control Module Schematics

DTC B2203 -- Right Window UP Switch -- Fault -- DCM-Right

Step

Action

Value(s)

Yes

No

1

  1. Disconnect the right Door Control Module (DCM)
  2. While pressing the right door window UP switch, measure the resistance between the DCM connector C4 terminal 9 and terminal 15.

Is the resistance within specified range?

<5ohms

Go to Step 2

Go to Step 3

2

Replace the right Door Control Module (DCM).

Is the repair complete?

Recheck the System Operation

3

  1. Disconnect the right door switch connector C1.
  2. While pressing the right door window UP switch, measure the resistance between the right door switch connector C1 terminal 4 and terminal 5.

Is the resistance within specified range?

<5ohms

Go to Step 4

Go to Step 5

4

Repair the open in CKT 781 or CKT 150 between the right door switch and the right Door Control Module (DCM).

Is the repair complete?

Recheck the System Operation

5

Replace the right door switch.

Is the repair complete?

Recheck the System Operation