GM Service Manual Online
For 1990-2009 cars only

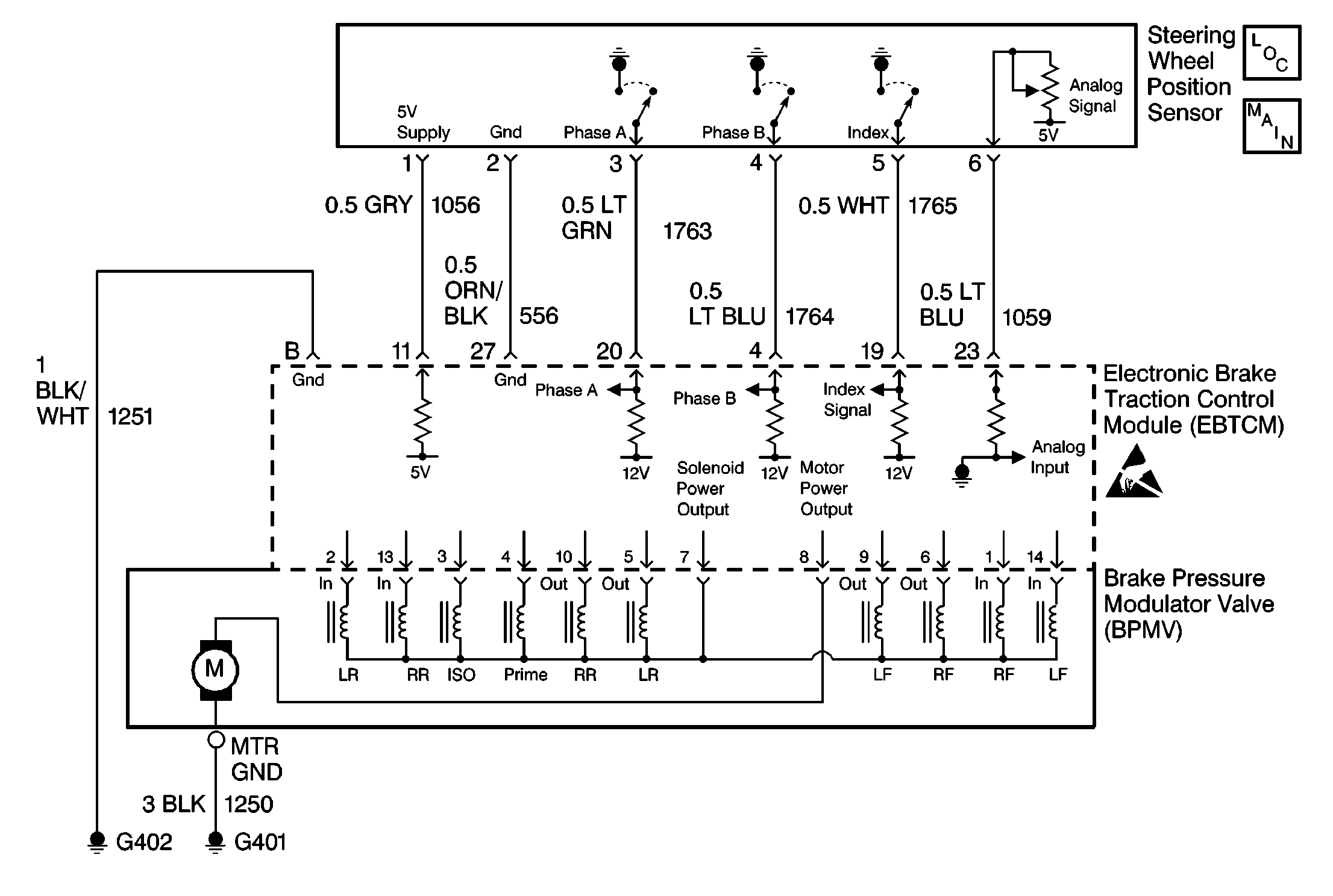
Object Number: 95899  Size: MF
ABS Components
ABS/TCS Schematics

Circuit Description

The EBTCM uses four inputs from the Steering Wheel Position sensor:

    • Phase A digital input
    • Phase B digital input
    • Index pulse
    • Analog input

This information is used to calculate three things:

  1. The front wheels position when centered.
  2. The front wheels position when turning.
  3. The rate at which the steering wheel is turning.

The EBTCM runs a centering routine when the vehicle speed goes above 30 Km/h (18 mph). When the vehicle reaches 30 Km/h (18 mph), the EBTCM monitors the Steering Wheel Position Sensor inputs (Phase A, Phase B and Analog voltage) to see if the steering wheel is moving. If the steering wheel is not moving for a set period of time then the EBTCM assumes the vehicle is going in a straight line. At this point, the EBTCM looks at the analog voltage signal and reads the voltage. This voltage normally around 2.5V, is then considered the center position and the digital degrees also become zero at the same time. This centering routine is necessary to compensate for wear in the steering and suspension. Wear in the steering and suspension can result in a change in the relationship between the steering wheel and the front tires when driving in a straight line. By running the centering routine the EBTCM can compensate for these changes by changing the digital and analog center position.

The EBTCM uses the digital input (Phase A and Phase B) from the Steering Wheel Position Sensor to calculate the direction the driver of the vehicle is trying to steer during an ABS event. This information is also used to calculate the rate at which the steering wheel is turning to control the amount of effort required from the driver to turn the steering wheel using Magna Steer®.

Conditions for Setting the DTC

    • DTC C1281 will set when the digitally derived centered angle differs from the analog derived angle by 27° or more for a period of 5 seconds.
    • DTC C1281 will set if the index pulse is not seen between ± 37° or is seen between -185° and -37° or 37° and 185° of steering wheel travel.
    • DTC C1281 will set if phase A and or phase B are shorted.

Action Taken When the DTC Sets

    • Magna Steer® is disabled, ABS/TCS remains active.

Conditions for Clearing the DTC

    • Condition for DTC is no longer present and scan tool clear DTC function is used.
    • Fifty ignition cycles have passed with no DTC(s) detected.

Diagnostic Aids

    • If the analog Steering Wheel Position Sensor input is missing then DTC C1288 will set.
    • If the Steering Wheel Position Sensor 5 volt supply or the Steering Wheel Position ground is missing DTC C1288 will set.
    • It is very important that a thorough inspection of the wiring and connectors be performed. Failure to carefully and fully inspect wiring and connectors may result in misdiagnosis, causing part replacement with reappearance of the malfunction.
    • An intermittent malfunction can be caused by poor connections, broken insulation, or a wire that is broken inside the insulation.
    • If an intermittent malfunction exists refer to General Electrical Diagnosis in Wiring Systems.

Test Description

The numbers below refer to step numbers on the diagnostic table.

  1. Checks for the analog voltage to change, if the analog voltage does not change DTC C1281 will set.

  2. Checks if the digital Phase A and Phase B are changing state from high to low.

  3. checks to see if the analog and digital readings are ± 27° of each other.

  4. Checks to see if the EBTCM is supplying the pull up voltage for Phase A.

  5. Checks to see if the EBTCM is supplying the pull up voltage for Phase B.

  6. Checks to see if the EBTCM is supplying the pull up voltage for the Index pulse.

DTC C1281 Steering Sensor Uncorrolated Malfunction

Step

Action

Value(s)

Yes

No

1

Was the Diagnostic System Check performed?

--

Go to Step 2

Go to Diagnostic System Check

2

  1. Turn the ignition switch to the ON position, engine OFF.
  2. Using a scan tool read ABS/TCS DTC(s).

Are any of the following DTC(s) present, C1286 or C1288?

--

Go to Applicable DTC table

Go to Step 3

3

  1. Cycle the ignition switch from the OFF to ON position.
  2. Using a scan tool in the Data List monitor the Analog Steer Sensor Voltage as you rotate the steering wheel from left to right.

Does the Analog Steer Sensor Voltage change as the steering wheel is rotated?

--

Go to Step 4

Go to Step 6

4

Using a scan tool in the Data List monitor the Digital HWPS Input as you rotate the steering wheel from left to right

Does the Digital HWPS Input change as the steering wheel is rotated?

--

Go to Step 5

Go to Step 10

5

  1. Using a scan tool in the Data List monitor the Analog Steer Sensor Voltage and the Digital HWPS Input.
  2. Rotate the steering wheel until the Digital HWPS Input reads 50°.

Does the Analog Steer Sensor Voltage read within the range specified in the value(s) column?

2.7 - 3.3V

Go to Step 7

Go to Step 8

6

  1. Turn the Ignition switch to the OFF position.
  2. Disconnect the EBTCM.
  3. Install the J 39700 Universal Pinout Box using the J 39700-25 cable adapter between the EBTCM harness connector and the EBTCM.
  4. Turn the ignition switch to the ON position, engine OFF.
  5. Using J 39200 DMM, measure the voltage at terminal 23 of J 39700 as an assistant rotates the steering wheel.

Does the voltage change as the steering wheel is rotated?

--

Go to Step 9

Go to Step 8

7

Rotate the steering wheel in either direction while monitoring the Digital HWPS Index Pulse with a scan in Data List.

Does the Digital HWPS Index Pulse go HIGH within ± 37° of steering center while rotating the steering wheel?

--

Go to Step 9

Go to Step 12

8

Replace the Steering Wheel Position Sensor. Refer to Steering Wheel Position Sensor Replacement in Steering Wheel and Column.

Is the replacement complete?

--

Go to Diagnostic System Check

--

9

Replace the EBTCM. Refer to Electronic Brake and Traction Control Module .

Is the replacement complete?

--

Go to Diagnostic System Check

--

10

  1. Turn the Ignition switch to the OFF position.
  2. Disconnect the EBTCM.
  3. Install the J 39700 Universal Pinout Box using the J 39700-25 cable adapter between the EBTCM harness connector and the EBTCM.
  4. Turn the ignition switch to the ON position, engine OFF.
  5. Using J 39200 DMM, measure the voltage at terminal 20 of J 39700 as an assistant rotates the steering wheel.

Does the voltage toggle between 0 and Battery volts as the steering wheel is rotated?

--

Go to Step 11

Go to Step 19

11

Using J 39200 DMM, measure the voltage at terminal 4 of J 39700 as an assistant rotates the steering wheel.

Does the voltage toggle between 0 and Battery volts as the steering wheel is rotated?

--

Go to Step 9

Go to Step 25

12

  1. Turn the Ignition switch to the OFF position.
  2. Disconnect the EBTCM.
  3. Install the J 39700 Universal Pinout Box using the J 39700-25 cable adapter between the EBTCM harness connector and the EBTCM.
  4. Turn the ignition switch to the ON position, engine OFF.
  5. Using J 39200 DMM, measure the voltage at terminal 19 of J 39700 as an assistant rotates the steering wheel from the center position to the right.

Does the voltage toggle between 0 and Battery volts one time as the steering wheel is rotated to the right?

--

Go to Step 9

Go to Step 13

13

  1. Turn the ignition switch to the OFF position.
  2. Disconnect the J 39700-25 cable adapter from the EBTCM leaving the J 39700-25 cable adapter connected to the EBTCM harness connector.
  3. Disconnect the Steering Wheel Position Sensor connector.
  4. Using J 39200 DMM, measure the resistance between terminals 19 and B of J 39700 .

Is the resistance within the range specified within the value(s) column?

OL (infinite)

Go to Step 15

Go to Step 14

14

Repair short to ground in CKT 1765. Refer to Wiring Repairs in Wiring Systems.

Is the repair complete?

--

Go to Diagnostic System Check

--

15

  1. Turn the ignition switch to the ON position, engine OFF.
  2. Using J 39200 DMM, measure the voltage at terminal 19 of J 39700 .

Is the voltage within the range specified in the value(s) column?

Above 1V

Go to Step 16

Go to Step 17

16

Repair short to voltage in CKT 1765. Refer to Wiring Repairs in Wiring Systems.

Is the repair complete?

--

Go to Diagnostic System Check

--

17

  1. Turn the ignition switch to the OFF position.
  2. Connect a jumper wire between terminals 19 and B of J 39700 .
  3. Using J 39200 DMM, measure the resistance between the Steering Wheel Position Sensor harness connector terminal 5 and a good ground.

Is the resistance within the range specified in the value(s) column?

0 - 5ohms

Go to Step 33

Go to Step 18

18

Repair open or high resistance in CKT 1765. Refer to Wiring Repairs in Wiring Systems.

Is the repair complete?

--

Go to Diagnostic System Check

--

19

  1. Turn the ignition switch to the OFF position.
  2. Disconnect the J 39700-25 cable adapter from the EBTCM leaving the J 39700-25 cable adapter connected to the EBTCM harness connector.
  3. Disconnect the Steering Wheel Position Sensor connector.
  4. Using J 39200 DMM, measure the resistance between terminals 20 and B of J 39700 .

Is the resistance within the range specified within the value(s) column?

OL (infinite)

Go to Step 21

Go to Step 20

20

Repair short to ground in CKT 1763. Refer to Wiring Repairs in Wiring Systems.

Is the repair complete?

--

Go to Diagnostic System Check

--

21

  1. Turn the ignition switch to the On position, engine OFF.
  2. Using J 39200 DMM, measure the voltage at terminal 20 of J 39700 .

Is the voltage within the range specified in the value(s) column?

Above 1V

Go to Step 22

Go to Step 23

22

Repair short to voltage in CKT 1763. Refer to Wiring Repairs in Wiring Systems

Is the repair complete?

--

Go to Diagnostic System Check

--

23

  1. Turn the ignition switch to the OFF position.
  2. Connect a jumper wire between terminals 20 and B of J 39700 .
  3. Using J 39200 DMM, measure the resistance between the Steering Wheel Position Sensor harness connector terminal 3 and a good ground.

Is the resistance within the range specified in the value(s) column?

0 - 5ohms

Go to Step 31

Go to Step 24

24

Repair open or high resistance in CKT 1763. Refer to Wiring Repairs in Wiring Systems.

Is the repair complete?

--

Go to Diagnostic System Check

--

25

  1. Turn the ignition switch to the OFF position.
  2. Disconnect the J 39700-25 cable adapter from the EBTCM leaving the J 39700-25 cable adapter connected to the EBTCM harness connector.
  3. Disconnect the Steering Wheel Position Sensor connector.
  4. Using J 39200 DMM, measure the resistance between terminals 4 and B of J 39700 .

Is the resistance within the range specified within the value(s) column?

OL (infinite)

Go to Step 27

Go to Step 26

26

Repair short to ground in CKT 1764. Refer to Wiring Repairs in Wiring Systems.

Is the repair complete?

--

Go to Diagnostic System Check

--

27

  1. Turn the ignition switch to the ON position, engine OFF.
  2. Using J 39200 DMM, measure the voltage at terminal 4 of J 39700 .

Is the voltage within the range specified in the value(s) column?

Above 1V

Go to Step 28

Go to Step 29

28

Repair short to voltage in CKT 1764. Refer to Wiring Repairs in Wiring Systems.

Is the repair complete?

--

Go to Diagnostic System Check

--

29

  1. Turn the ignition switch to the OFF position.
  2. Connect a jumper wire between terminals 4 and B of J 39700 .
  3. Using J 39200 DMM, measure the resistance between the Steering Wheel Position Sensor harness connector terminal 4 and a good ground.

Is the resistance within the range specified in the value(s) column?

0 - 5ohms

Go to Step 32

Go to Step 30

30

Repair open or high resistance in CKT 1764. Refer to Wiring Repairs in Wiring Systems.

Is the repair complete?

--

Go to Diagnostic System Check

--

31

  1. Reconnect the J 39700-25 cable adapter to the EBTCM leaving the J 39700-25 cable adapter connected to the EBTCM harness connector.
  2. Turn the ignition switch to the ON position, engine OFF.
  3. Using J 39200 DMM, measure the voltage at terminal 20 of J 39700 .

Is the voltage within the range specified in the value(s) column?

Battery volts

Go to Step 8

Go to Step 9

32

  1. Reconnect the J 39700-25 cable adapter to the EBTCM leaving the J 39700-25 cable adapter connected to the EBTCM harness connector.
  2. Turn the ignition switch to the ON position, engine OFF.
  3. Using J 39200 DMM, measure the voltage at terminal 4 of J 39700 .

Is the voltage within the range specified in the value(s) column?

Battery volts

Go to Step 8

Go to Step 9

33

  1. Reconnect the J 39700-25 cable adapter to the EBTCM leaving the J 39700-25 cable adapter connected to the EBTCM harness connector.
  2. Turn the ignition switch to the ON position, engine OFF.
  3. Using J 39200 DMM, measure the voltage at terminal 19 of J 39700 .

Is the voltage within the range specified in the value(s) column?

Battery volts

Go to Step 8

Go to Step 9