GM Service Manual Online
For 1990-2009 cars only

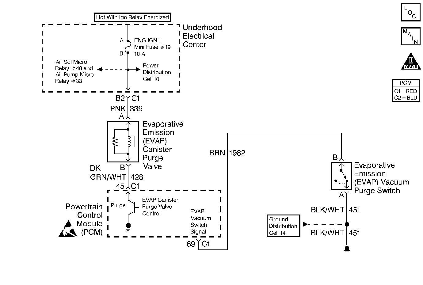
Object Number: 66387  Size: MF
OBD II Symbol Description Notice
Engine Controls Components
Cell 20: EVAP and AIR
Handling ESD Sensitive Parts Notice

Circuit Description

The PCM controls the relay by grounding the control circuit via an internal switch called a driver. The primary function of the driver is to supply the ground for the controlled component. Each driver has a fault line which the PCM monitors. When the PCM commands a component ON, the voltage of the control circuit should be low (near 0 volts). When the PCM commands the control circuit to a component OFF, the voltage potential of the circuit should be high (near the battery voltage). If the fault detection circuit senses a voltage other than what the PCM is expects, the fault line status changes causing the DTC to set.

The relay controls the high current flow to the AIR injection pump integral bypass valve. This allows the PCM driver to only have to control the relatively low current used by the relay.

Conditions for Setting the DTC

    • Engine speed is greater than 600 RPM.
    • The PCM detects that the commanded state of the driver and the actual state of the control circuit do not match.
    • Condition must exist for a minimum of 10.0 seconds.

Action Taken When the DTC Sets

    • The PCM illuminates the malfunction indicator lamp (MIL) on the second consecutive ignition cycle that the diagnostic runs and fails.
    • The PCM records the operating conditions at the time the diagnostic fails. The first time the diagnostic fails, the PCM stores this information in the Failure Records. If the diagnostic reports a failure on the second consecutive ignition cycle, the PCM records the operating conditions at the time of the failure. The PCM writes the conditions to the Freeze Frame and updates the Failure Records.

Conditions for Clearing the MIL/DTC

    • The PCM turns OFF the malfunction indicator lamp (MIL) after 3 consecutive ignition cycles that the diagnostic runs and does not fail.
    • A last test failed, or current DTC, clears when the diagnostic runs and does not fail.
    • A history DTC clears after 40 consecutive warm-up cycles, if no failures are reported by this or any other emission related diagnostic.
    • Use a scan tool in order to clear the MIL and the DTC.

Diagnostic Aids

If you can not find a problem with the ignition feed circuit to the component, inspect the circuit between the IGN 1 mini relay and the fuse for an open. Probe both sides of the ENG IGN1 fuse in order to determine if the IGN 1 mini relay is suppling power to the fuse. Refer to Ignition Relay Diagnosis for further diagnosis of the IGN 1 mini relay. Also inspect the IGN 1 fuse for being open.

If the ENG IGN1 fuse is open or the IGN 1 mini relay is faulty, the following DTCs may set:

    • P0102
    • P0412
    • P0418
    • P0443
    • P0740
    • P1860

This DTC will not report a pass. The scan tool status for this DTC will never report a pass so it would appear that the diagnostic never runs. This causes the MIL to remain ON until a DTC clear command or battery disconnect occurs.

Using Freeze Frame and/or Failure Records data may aid in locating an intermittent condition. If you cannot duplicate the DTC, the information included in the Freeze Frame and/or Failure Records data can aid in determining how many miles since the DTC set. The Fail Counter and Pass Counter can also aid determining how many ignition cycles the diagnostic reported a pass and/or a fail. Operate the vehicle within the same freeze frame conditions (RPM, load, vehicle speed, temperature etc.) that you observed. This will isolate when the DTC failed.

For an intermittent, refer to Symptoms

Test Description

The numbers below refer to the step numbers on the diagnostic table.

  1. Important: The engine must be running in order to command the EVAP Purge Solenoid Valve ON and OFF.

    Listen for an audible click when the solenoid operates. Be sure that both the ON and the OFF states are commanded. Repeat the commands as necessary. The EVAP Vacuum Switch parameter on the scan tool can also be used to determine if the EVAP purge solenoid is operating properly. The state of the EVAP Vacuum Switch should change with each command of the EVAP purge solenoid. When the EVAP purge solenoid is commanded ON, the EVAP Vacuum Switch parameter should indicate Purge. When the EVAP purge solenoid is commanded OFF, the EVAP Vacuum Switch parameter should indicate No Purge.

  2. This check can detect a partially shorted coil which would cause excessive current flow. Leaving the circuit energized for 2 minutes allows the coil to warm up. When warm the coil may open (Amps drop to 0), or short (goes above 0.75 Amp).

  3. If no trouble is found in the control circuit or the connection at the PCM, the PCM may be faulty, however, this is an extremely unlikely failure.

Step

Action

Value(s)

Yes

No

1

Did you perform the Powertrain On-Board Diagnostic (OBD) System Check ?

--

Go to Step 2

Go to Powertrain On Board Diagnostic (OBD) System Check

2

  1. Idle the engine at the normal operating temperature.
  2. Command the solenoid ON and OFF using the scan tool.

Does the solenoid turn ON and OFF when commanded?

--

Go to Step 3

Go to Step 5

3

  1. Turn OFF the ignition.
  2. Disconnect the PCM connector located on the opposite side of the manufacturers logo. Refer to Powertrain Control Module/Throttle Actuator Control Module Replacement .
  3. Turn ON the ignition leaving the engine OFF.
  4. Measure the current from the solenoid control circuit in the PCM harness connector to ground for 2 minutes using the DMM J 39200 on the 10 Amp scale.

Does the current draw measure less than the specified value shown but not 0?

0.75 A

Go to Diagnostic Aids

Go to Step 4

4

  1. Turn OFF the ignition.
  2. Disconnect the solenoid.
  3. Measure the resistance from the solenoid control circuit in the PCM harness connector to ground using the DMM J 39200 .

Does the DMM display infinite resistance?

--

Go to Step 12

Go to Step 10

5

  1. Turn OFF the ignition.
  2. Disconnect the solenoid.
  3. Connect the test lamp J 35616-200 between the terminals in the solenoid harness connector.
  4. Idle the engine at the normal operating temperature.
  5. Command the solenoid ON and OFF using the scan tool.

Does the test lamp turn ON and OFF when commanded?

--

Go to Step 8

Go to Step 6

6

With the test lamp connected to ground, probe the ignition feed circuit in the solenoid harness connector.

Is the test lamp illuminated?

--

Go to Step 7

Go to Step 11

7

  1. Turn OFF the ignition.
  2. Reconnect the solenoid.
  3. Disconnect the PCM connector located on the opposite side of the manufacturers logo. Refer to Powertrain Control Module/Throttle Actuator Control Module Replacement .
  4. Turn ON the ignition leaving the engine OFF.
  5. With a fused jumper wire connected to ground, probe the solenoid control circuit in the PCM harness connector.

Does the solenoid operate?

--

Go to Step 9

Go to Step 10

8

Check the connections at the solenoid.

Was a problem found and corrected?

--

Go to Step 14

Go to Step 12

9

Check the connections at the PCM.

Was a problem found and corrected?

--

Go to Step 14

Go to Step 13

10

Repair the faulty solenoid control circuit.

Is the action complete?

--

Go to Step 14

--

11

Repair the faulty solenoid ignition feed circuit.

Is the action complete?

--

Go to Step 14

--

12

Replace the solenoid

Is the action complete?

--

Go to Step 14

--

13

Important:: Program the replacement PCM. Refer to Powertrain Control Module/Throttle Actuator Control Module Replacement .

Replace the PCM.

Is the action complete?

--

Go to Step 14

--

14

  1. Select the Diagnostic Trouble Code (DTC) option and the Clear DTC Information option using the scan tool.
  2. Idle the engine at the normal operating temperature.
  3. Select the Diagnostic Trouble Code (DTC) option and the Specific DTC option, then enter the DTC number using the scan tool.
  4. Operate the vehicle within the conditions for setting this DTC as specified in the supporting text, if applicable.

Does the scan tool indicate that this test ran and passed?

--

Go to Step 15

Go to Step 2

15

Select the Capture Info option and the Review Info option using the scan tool.

Does the scan tool display any DTCs that you have not diagnosed?

--

Go to the applicable DTC table

System OK