GM Service Manual Online
For 1990-2009 cars only

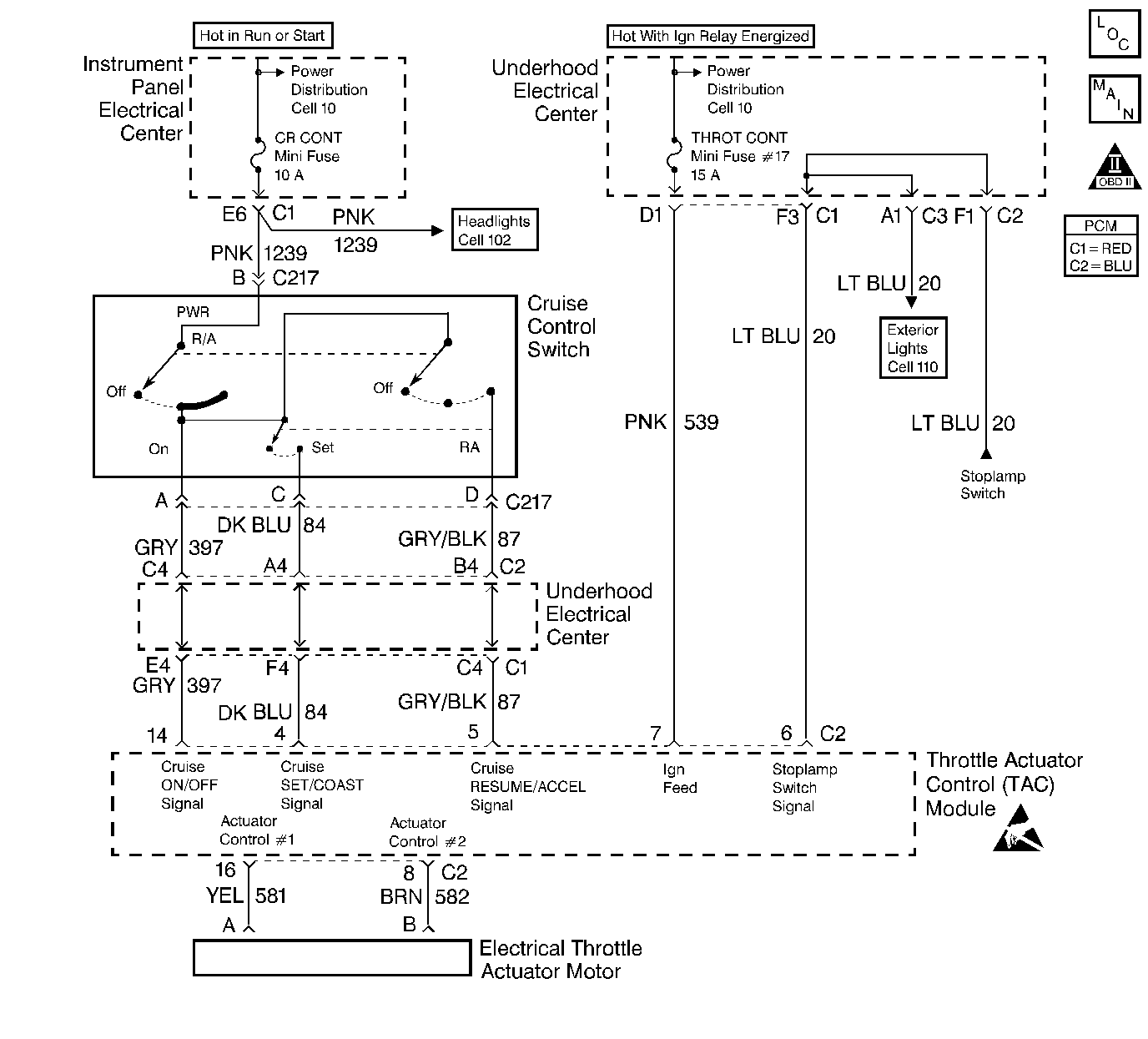
Object Number: 99243  Size: LF
OBD II Symbol Description Notice
Engine Controls Components
Cell 20: Cruise Control Switch
Handling ESD Sensitive Parts Notice

Circuit Description

The cruise Resume/Accel switch is an input to the Throttle Actuator Control (TAC) Module. This input allows the TAC module to control and hold a requested speed. The Cruise Resume/Accel switch sends an ignition voltage to the TAC module when the switch is closed (ON). If the TAC module senses voltage on this circuit when the module does not expected the voltage, this DTC sets.

Conditions for Setting the DTC

    • The Cruise switch is ON.
    • The Resume/Accel switch is ON for longer than 90 seconds.

Action Taken When the DTC Sets

    • The powertrain control module (PCM) stores the DTC information into memory when the diagnostic runs and fails.
    • The malfunction indicator lamp (MIL) will not illuminate.
    • The PCM records the operating conditions at the time the diagnostic fails. The PCM stores this information in the Failure Records.

Conditions for Clearing the MIL/DTC

    • A last test failed, or the current DTC, clears when the diagnostic runs and does not fail.
    • A history DTC clears after 40 consecutive warm-up cycles, if failures are not reported by this or any other emission related diagnostic.
    • Use a scan tool in order to clear the MIL/DTC.

Diagnostic Aids

Important:: Check for a resume/accel switch stuck in the engage position or the signal circuit is shorted to voltage.

Using Freeze Frame and/or Failure Records data may aid in locating an intermittent condition. If you cannot duplicate the DTC, the information included in the Freeze Frame and/or Failure Records data can aid in determining how many miles since the DTC set. The Fail Counter and Pass Counter can also aid determining how many ignition cycles the diagnostic reported a pass and/or a fail. Operate the vehicle within the same freeze frame conditions (RPM, load, vehicle speed, temperature etc.) that you observed. This will isolate when the DTC failed.

Test Description

The numbers below refer to the step numbers on the diagnostic table.

  1. This step determines if the Resume/Accel signal circuit is shorted to voltage.

  2. This step determines if the TAC module or switch is at fault.

  3. Check for a resume/accel switch stuck in the engaged position or for the signal circuit for being shorted to voltage.

  4. This DTC will not report a pass. The scan tool status for this DTC will never report a pass. The scan tool will only display when the diagnostic fails. The repair is not complete if the scan tool indicates that the diagnostic ran and failed.

Step

Action

Value(s)

Yes

No

1

Did you perform the Powertrain On-Board Diagnostic (OBD) System Check?

--

Go to Step 2

Go to Powertrain On Board Diagnostic (OBD) System Check

2

  1. Install the scan tool.
  2. Turn ON the ignition leaving the engine OFF.
  3. Turn OFF the cruise switch.

Does the scan tool display that the Cruise Resume/Accel switch is ON?

--

Go to Step 3

Go to Diagnostic Aids

3

  1. Turn OFF the ignition.
  2. Disconnect the TAC module connector containing the Resume/Accel switch signal circuit.
  3. Turn ON the ignition.
  4. Probe the Resume/Accel switch signal circuit at the TAC module harness with a test lamp connected to chassis ground using the appropriate jumpers from connector kit J 35616 .

Is the test lamp illuminated?

--

Go to Step 4

Go to Step 5

4

Repair the short to voltage on the Resume/Accel switch signal circuit.

Is the action complete?

--

Go to Step 6

--

5

Replace the TAC module. Refer to Powertrain Control Module/Throttle Actuator Control Module Replacement .

Is the action complete?

--

Go to Step 6

--

6

  1. Select the Diagnostic Trouble Codes (DTC) option and the Clear DTC Information option using the scan tool.
  2. Idle the engine at the normal operating temperature.
  3. Select the Specific DTC option under the Diagnostic Trouble Code (DTC) option using a scan tool.
  4. Operate vehicle within the conditions for setting this DTC as specified in the supporting text, if applicable.

Does the Scan Tool indicate that this diagnostic failed?

--

Go to Step 2

Go to Step 7

7

Select the Capture Info option and the Review Info option using the scan tool.

Are any DTCs displayed that you have not diagnosed?

--

Go to the Applicable DTC Table

System OK