GM Service Manual Online
For 1990-2009 cars only

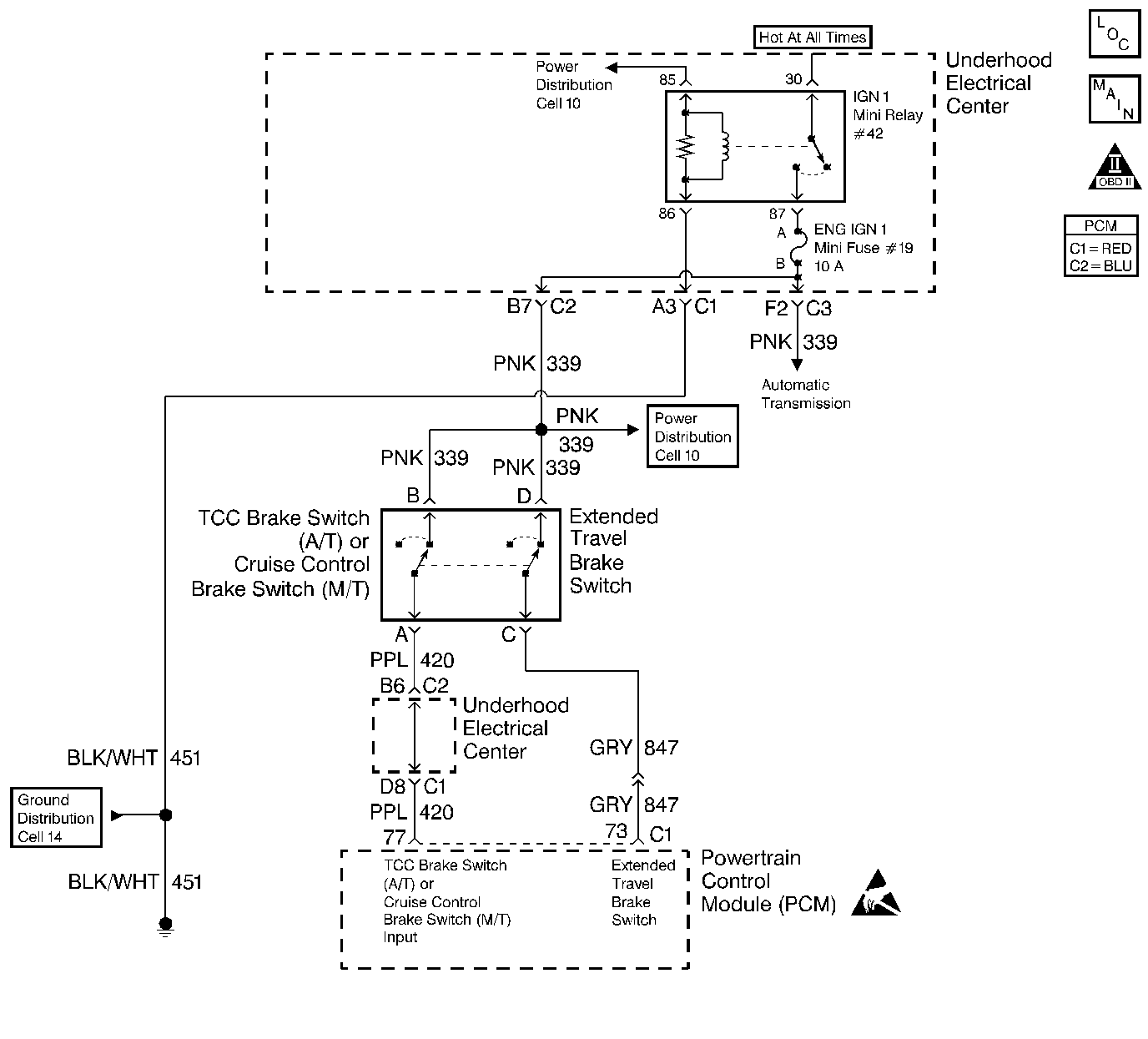
Object Number: 105933  Size: LF
Engine Controls Components
Cell 20: Automatic Transmission Controls
OBD II Symbol Description Notice
Handling ESD Sensitive Parts Notice

Circuit Description

The Cruise Control Brake switch is a normally closed switch. When the Cruise Control Brake switch is closed, the PCM senses ignition voltage on the Cruise Control Brake switch signal circuit.

If the PCM senses a voltage on the Cruise Control Brake switch signal circuit when the Cruise Control Brake switch should be open, this DTC sets.

Conditions for Setting the DTC

    • Engine speed is greater than 700 RPM.
    • Engine operates for greater than 2.0 seconds.
    • Wheel speed is greater than 30 mph in order to enable the diagnostic. The diagnostic disables when the wheel speed is below 10 mph.
    • The PCM detects voltage on the Cruise Control Brake switch circuit when the Cruise Control Brake switch should be open.
    • The above conditions are present for 1.5 seconds.

Action Taken When the DTC Sets

    • The powertrain control module (PCM) stores the DTC information into memory when the diagnostic runs and fails.
    • The malfunction indicator lamp (MIL) will not illuminate.
    • The PCM records the operating conditions at the time the diagnostic fails. The PCM stores this information in the Failure Records.

Conditions for Clearing the DTC

    • A last test failed, or current DTC, clears when the diagnostic runs and does not fail.
    • A history DTC will clear after 40 consecutive warm-up cycles, if no failures are reported by this or any other non-emission related diagnostic.
    • Use a scan tool in order to clear the DTC.

Diagnostic Aids

If you can not find a problem with the ignition feed circuit to the component, inspect the IGN 1 mini relay for operating properly. Probe both sides of the ENG IGN1 fuse in order to determine if the IGN 1 mini relay is supplying power . Refer to Body and Accessories for further diagnosis of the IGN 1 mini relay.

Perform the following in order to adjust the Cruise Control Brake switch:

  1. With the brake pedal depressed, insert the Cruise Control Brake switch into the retainer until the switch body seats in the retainer. You can hear clicks as you push the threaded portion of the switch through the retainer.
  2. Slowly pull the brake pedal fully rearward against the stop until you can no longer hear the clicks.

Test Description

The numbers below refer to the step numbers on the diagnostic table.

  1. This step determines if the fault is present.

  2. This step checks for a Cruise Control Brake Switch circuit for being shorted to B+.

Step

Action

Value(s)

Yes

No

1

Did you perform the Powertrain On-Board Diagnostic (OBD) System Check?

--

Go to Step 2

Go to Powertrain On Board Diagnostic (OBD) System Check

2

  1. Install a scan tool.
  2. Start the engine.
  3. Monitor the CC Brake switch using the scan tool.
  4. Depress the brake pedal approximately quarter-way.

Does the scan tool display indicate Applied?

--

Refer to Diagnostic Aids

Go to Step 3

3

Check the adjustment of the cruise control brake switch. Refer to Diagnostic Aids .

Did you perform an adjustment?

--

Go to Step 9

Go to Step 4

4

  1. Turn OFF the engine.
  2. Disconnect the cruise control brake switch.
  3. Turn ON the ignition.
  4. Monitor the CC Brake switch using the scan tool.

Does the display indicate Applied?

--

Go to Step 5

Go to Step 7

5

  1. Turn OFF the ignition.
  2. Disconnect the PCM connector located on the opposite side of the manufacturer's logo. Refer to Powertrain Control Module/Throttle Actuator Control Module Replacement
  3. Turn ON the ignition.
  4. Install the brown connector from the connector kit J 35616 into the cruise control brake switch signal circuit.
  5. Measure the voltage on the cruise control brake switch signal circuit using a DMM J 39200 .

Is the voltage greater than the specified value?

0.5V

Go to Step 6

Go to Step 8

6

Repair the short to voltage on the cruise control brake switch signal circuit.

Is the action complete?

--

Go to Step 9

--

7

Replace the cruise control brake travel switch.

Is the action complete?

--

Go to Step 9

--

8

Important:: Program the replacement PCM. Refer to Powertrain Control Module/Throttle Actuator Control Module Replacement .

Replace the PCM.

Is the action complete?

--

Go to Step 9

--

9

  1. Select the Diagnostic Trouble Codes (DTC) option and the Clear DTC Information option using the scan tool.
  2. Idle the engine at the normal operating temperature.
  3. Select the Specific DTC option under the Diagnostic Trouble Code (DTC) option using a scan tool.
  4. Operate vehicle within the conditions for setting this DTC as specified in the supporting text, if applicable.

Does the scan tool indicate that this test ran and passed?

--

Go to Step 10

--

10

Select the Capture Info option and the Review Info option using the scan tool.

Are any DTCs displayed that you have not diagnosed?

--

Go to applicable DTC table

System OK