GM Service Manual Online
For 1990-2009 cars only

Object Number: 173160  Size: MF
Instrument Cluster: Analog Components
Instrument Cluster: Analog Schematics
Handling Electrostatic Discharge Sensitive Parts Notice

Circuit Description

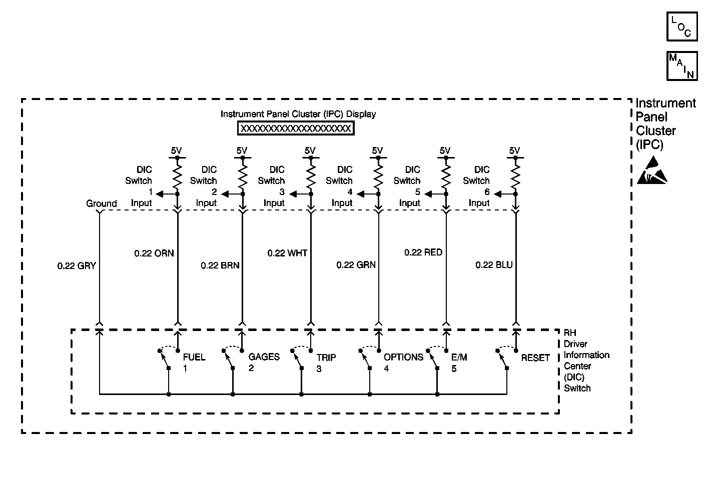
The Driver Information Center (DIC) contains six switch circuits that allow Instrument Panel Cluster (IPC) functions to be perform. The IPC supplies a 5 volt reference voltage to each switch circuit. When a particular DIC switch is pressed, the circuit is pulled low by grounding that circuit through the DIC switch altering the voltage level. The IPC detects which DIC switch is pressed by monitoring the voltage level on each DIC switch circuit. The IPC also monitors the DIC switch circuits and determines how long the voltage level has changed. If the voltage level detected is low for longer than expected, then a malfunction is present and a DTC will set.

Conditions for Setting the DTC

    • The IPC detects a low voltage level (short to ground) in the DIC switch 6 (RESET) circuit.
    • Condition must be present for 60 seconds.

Action Taken When the DTC Sets

    • Stores a DTC B1537 in the IPC memory.
    • No driver warning message will be displayed for this DTC.

Conditions for Clearing the DTC

    • The IPC does not detects a low voltage level (short to ground) in the DIC switch 6 (RESET) circuit.
    • A history DTC will clear after 50 consecutive ignition cycles if the condition for the malfunction is no longer present.
    • Use the IPC clear DTC feature.
    • Use a scan tool.

Diagnostic Aids

    • The following conditions may cause an intermittent malfunction to occur:
       - An intermittent short to ground in the DIC switch harness.
       - An internal short to ground in the DIC switch 6 (RESET).
       - The DIC switch 6 (RESET) is pressed for longer than 60 seconds.
    • If a DIC switch 6 (RESET) is pressed for longer than 60 seconds, a DTC B1537 may set with no malfunctions present. Always verify that this condition did not occur before diagnosing a DTC B1537.
    • Check for proper DIC switch 6 (RESET) operation by using a scan tool to display DIC switch 6 status. The scan tool will display DIC switch 6 status as ACTIVE when the button is pressed, and INACTIVE when released.
    • If the DTC is a history DTC, the problem may be intermittent. Perform the tests shown while moving related wiring and connectors. This can often cause the malfunction to occur.

Test Description

The numbers below refer to the step numbers on the diagnostic table:

  1. This test determines the status of the DIC switch 1 using a scan tool. The scan tool will display the DIC switch 6 (RESET) status as ACTIVE when the button is pressed and INACTIVE when released.

  2. This test checks if the DIC switch 6 (RESET) is shorted to ground or stuck in the pressed position. If the DIC switch status changes from ACTIVE to INACTIVE when the DIC switch assembly is disconnected, then the DIC switch assembly must be replaced.

DTC B1537 -- DIC Switch 6 Signal Short to Ground

Step

Action

Value(s)

Yes

No

1

Were you sent here from the IPC Diagnostic System Check?

--

Go to Step 2

Go to Instrument Panel Cluster Diagnostic System Check

2

Using a scan tool, select IPC data display and monitor the DIC switch 6 (RESET) data.

Does the scan tool display DIC switch 6 (RESET) data as ACTIVE?

--

Go to Step 3

Go to Step 7

3

  1. Disconnect the DIC switch connector.
  2. Using a scan tool, select IPC data display and monitor the DIC switch 6 (RESET) data.

Does the scan tool display DIC switch 6 (RESET) data as ACTIVE?

--

Go to Step 4

Go to Step 5

4

Check for a short to ground in the DIC switch harness, between the DIC switch and the IPC.

Was a problem found and repaired?

--

Go to Step 9

Go to Step 6

5

Replace the DIC switch assembly. Refer to Driver Information Display Switch Replacement .

Is the replacement complete?

--

Go to Step 9

--

6

Replace the IPC assembly. Refer to Instrument Cluster Replacement .

Is the replacement complete?

--

Go to Step 9

--

7

Check the DIC switch circuit for an intermittent malfunction. Refer to Diagnostic Aids.

Was a problem found and repaired?

--

Go to Step 9

Go to Step 8

8

  1. Turn OFF the ignition switch.
  2. Reconnect or install any connectors or components that were disconnected or removed.
  3. Turn ON the ignition switch.
  4. Clear any DTCs. Refer to Clearing DTCs .

Does DTC B1537 set as current?

--

Go to Step 6

System OK

9

  1. Turn OFF the ignition switch.
  2. Reconnect or install any connectors or components that were disconnected or removed.
  3. Turn ON the ignition switch.
  4. Clear any DTCs. Refer to Clearing DTCs .

Are all DTCs cleared?

--

Go to Instrument Panel Cluster Diagnostic System Check

--