GM Service Manual Online
For 1990-2009 cars only

Object Number: 97619  Size: MF
Memory Seats Schematics
Power Seat Systems Components

Circuit Description

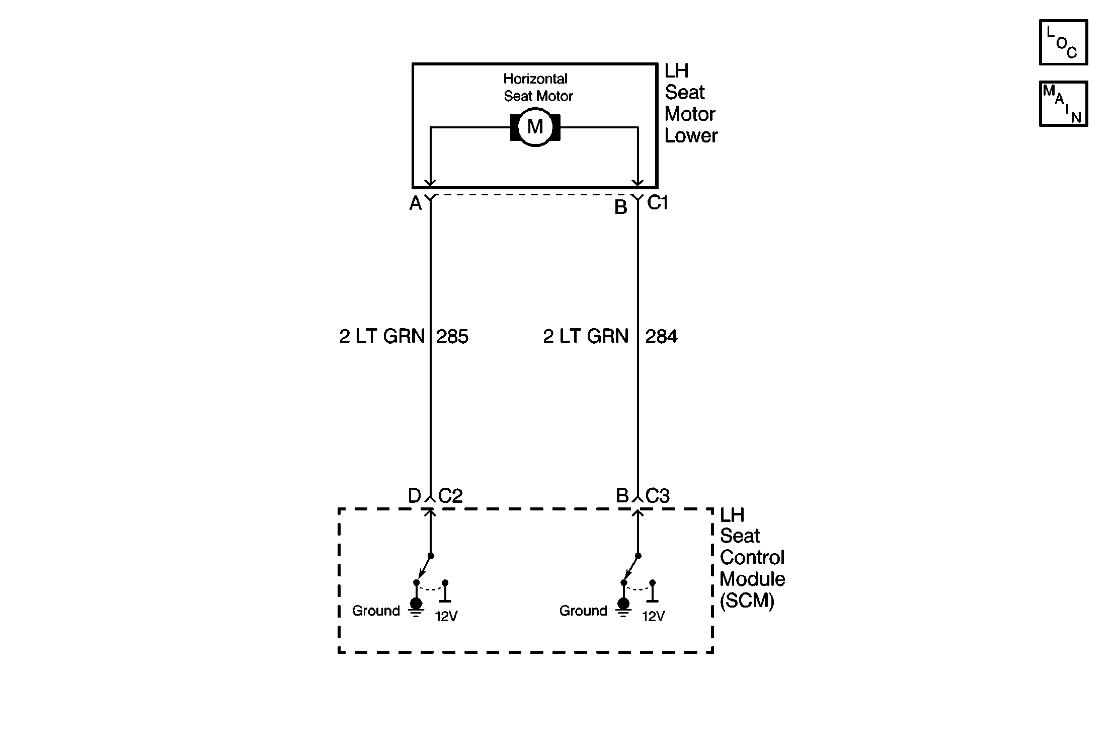
The LH Seat Control Module (SCM) controls the output functions of the LH seat motor lower after it receives a valid seat switch input. The LH seat switch circuit provides the input to the SCM when the switch is pressed UP or DOWN. When the SCM detects an active seat command from the switch, the SCM will command the fore/aft (horizontal) seat motor in the appropriate direction. The SCM accomplishes this by providing either a voltage or ground to CKT 284 or CKT 285, depending on the desired seat position. The SCM monitors the amount of current draw on the horizontal seat motor control circuits. If the current draw is not within the acceptable range, a malfunction is present and a DTC will set.

Conditions for Setting the DTC

    • The SCM detects a low current (open), or high current (short to ground) condition in the horizontal seat motor control circuit.
    • Condition must be present for 2 seconds.

Action Taken When the DTC Sets

    • Stores a history DTC B2002 in the SCM memory.
    • This DTC can only be set as a history code even if the malfunction is current.
    • No driver warning message will be displayed for this DTC.
    • The operation/function of the faulted motor is disabled until the fault is corrected.

Conditions for Clearing the DTC

    • The SCM no longer detects a low current (open), or high current (short to ground) condition in the horizontal seat motor control circuit for longer than 2 seconds.
    • Use the IPC clearing DTCs feature.
    • Using a scan tool.

Diagnostic Aids

    • If the DTC does not reset after the code is cleared, then the problem may be intermittent. Perform the tests shown while moving related wiring and connectors. This can often cause the malfunction to occur. Refer to Intermittents and Poor Connections
    • The following conditions may also cause an intermittent malfunction:
       - There is an intermittent open or short in the horizontal seat motor control circuit .
       - The horizontal seat motor is open or shorted internally.
    • If the horizontal seat motor circuit is open or shorted to ground, the seat will operate only in certain directions depending on what circuit was affected.
    • Using a scan tool, select SCM inputs and monitor the horizontal seat motor current while operating the seat motor in the horizontal direction. If the scan tool displays a lower than normal seat motor current, check the seat motor circuit for opens. If the scan tool displays a higher than normal seat motor current, check the seat motor circuit for shorts.

DTC B2002 -- Horizontal Seat Motor -- Fault

Step

Action

Value(s)

Yes

No

1

  1. Disconnect the left seat motor lower connector C1.
  2. Connect a DMM from the seat motor lower left connector C1 terminal A to terminal B.
  3. Move the left seat switch FORWARD and then REVERSE.

Does the DMM display specified voltage, in both positions?

10.0-14.0V

Go to Step 2

Go to Step 3

2

Replace th seat motor lower left.

Is the repair complete?

Recheck the System Operation

3

  1. Check for open in CKT 285 and CKT 284.
  2. If OK, replace the Seat Control Module (SCM).

Is the repair complete?

Recheck the System Operation