GM Service Manual Online
For 1990-2009 cars only

Object Number: 405809  Size: MF
Power Seat Systems Components
Memory Seats Schematics
Handling Electrostatic Discharge Sensitive Parts Notice

Circuit Description

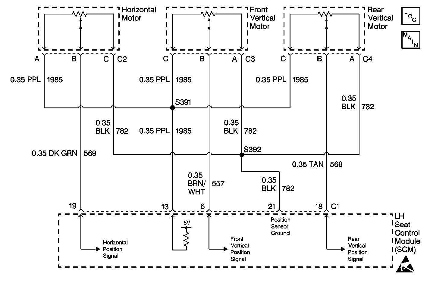
The LH Seat Control Module (SCM) receives both vertical and horizontal position signals from each of the LH seat motors. These signals are used by the SCM for memory recall functions to determine the vertical and horizontal position of the LH seat. The SCM commands the seat memory settings based upon the voltage levels the SCM receives back from the vertical and horizontal position sensors. The SCM provides a 5 volt supply, a signal, and a ground to each of the position sensors. The position sensors are variable resistors which the SCM monitors when a reference voltage is applied across it. When a memory setting is recalled, the SCM will command the LH seat motor in the appropriate direction until both the vertical and horizontal position sensors are within the voltage range stored in memory. The SCM also monitors the LH seat vertical and horizontal position sensor 5 volt supply circuit and can determine if the voltage level received is out of range. If the voltage level is out of range, then a malfunction is present and a DTC will set.

Conditions for Setting the DTC

    • The SCM detects the LH seat vertical and horizontal position sensor supply voltage range under 4.0 volts or over 5.2 volts.
    • Condition must be present for 2 seconds.

Action Taken When the DTC Sets

    • Stores a history DTC B0856 in the SCM memory.
    • This DTC can only be set as a history code even if the malfunction is current.
    • No driver warning message will be displayed for this DTC.
    • The operation/function of the seat motor is disabled until the fault is corrected.

Conditions for Clearing the DTC

    • The SCM detects the LH seat vertical and horizontal position sensor supply voltage range between 4.0-5.2 volts for longer than 2 seconds.
    • Use the IPC clearing DTCs feature.
    • Use a scan tool.

Diagnostic Aids

    • The following conditions may cause an intermittent malfunction:
       - There is an intermittent open or short (to ground or voltage) in CKT 569, CKT 1985, CKT 557, CKT 782, or CKT 568.
       - The LH seat vertical or horizontal sensor is shorted internally.
    • If the SCM is unable to determine the correct vertical or horizontal position, manual power seat functions will still operate, but the SCM will not be able correctly recall the position of the seat when the memory button is pressed.
    • Using a scan tool, select SCM Data display and monitor the seat position sensor data. Move the power seat vertically and horizontally while monitoring the position sensor data. This checks if the seat position sensor supply voltage is within range in different positions.
    • If the DTC does not reset after the code is cleared, then the problem may be intermittent. Perform the tests shown while moving related wiring and connectors. This can often cause the malfunction to occur. Refer to Testing for Electrical Intermittents .

DTC B0856 -- 5 Volt Reference Out of Range

Step

Action

Value(s)

Yes

No

1

Were you sent here from the Power Seat System Check?

--

Go to Step 2

Go to Power Seat System Check

2

Using a scan tool, select SCM data display and monitor position sensor reference data.

Does the scan tool display position sensor reference voltage within the specified values?

4.0-6.0 V

Go to Step 11

Go to Step 3

3

  1. Turn OFF the ignition switch.
  2. Disconnect the LH horizontal motor position sensor connector C2.
  3. Turn ON the ignition switch.
  4. Connect a DMM between the LH horizontal motor position sensor connector C2 (harness side) terminal A and ground.
  5. Measure the voltage at terminal A of the horizontal motor position sensor connector C2.

Is the voltage within the specified values?

4.0-6.0 V

Go to Step 4

Go to Step 5

4

  1. Connect the DMM between terminals A and C of the LH horizontal motor position sensor connector C2 (harness side).
  2. Turn ON the ignition switch.
  3. Measure the voltage between terminals A and C of the LH horizontal motor position sensor connector C2.

Is the voltage within the specified values?

4.0-6.0 V

Go to Step 7

Go to Step 6

5

Check for an open or short (to ground or voltage) in CKT 1985.

Was a concern found and repaired?

--

Go to Step 14

Go to Step 13

6

Check for an open or short to voltage in CKT 782.

Was a concern found and repaired?

--

Go to Step 14

Go to Step 13

7

  1. Turn OFF the ignition switch.
  2. Disconnect the LH front vertical motor position sensor connector C3.
  3. Turn ON the ignition switch.
  4. Connect a DMM between the LH front vertical motor position sensor connector C3 (harness side) terminal A and ground.
  5. Measure the voltage at terminal A of the front vertical motor position sensor connector C3.

Is the voltage within the specified values?

4.0-6.0 V

Go to Step 8

Go to Step 5

8

  1. Connect the DMM between terminals A and C of the LH front vertical motor position sensor connector C3 (harness side).
  2. Turn ON the ignition switch.
  3. Measure the voltage between terminals A and C of the LH front vertical motor position sensor connector C3.

Is the voltage within the specified values?

4.0-6.0 V

Go to Step 9

Go to Step 6

9

  1. Turn OFF the ignition switch.
  2. Disconnect the LH rear vertical motor position sensor connector C4.
  3. Turn ON the ignition switch.
  4. Connect a DMM between the LH rear vertical motor position sensor connector C4 (harness side) terminal A and ground.
  5. Measure the voltage at terminal A of the rear vertical motor position sensor connector C2.

Is the voltage within the specified values?

4.0-6.0 V

Go to Step 10

Go to Step 5

10

  1. Connect the DMM between terminals A and C of the LH rear vertical motor position sensor connector C4 (harness side).
  2. Turn ON the ignition switch.
  3. Measure the voltage between terminals A and C of the LH rear vertical motor position sensor connector C4.

Is the voltage within the specified values?

4.0-6.0 V

Go to Step 12

Go to Step 6

11

  1. Turn OFF the ignition switch.
  2. Reconnect or install any connectors or components that were disconnected or removed.
  3. Turn ON the ignition switch.
  4. Clear any DTCs.
  5. Wait 2 seconds.

Does DTC B2286 set as history?

--

Go to Step 13

Go to Power Seat System Check

12

Replace the LH seat lower motor assembly.

Is the replacement complete?

--

Go to Step 14

--

13

Replace the SCM.

Is the replacement complete?

--

Go to Step 14

--

14

  1. Turn OFF the ignition switch.
  2. Reconnect or install any connectors or components that were disconnected or removed.
  3. Turn ON the ignition switch.
  4. Clear any DTCs.

Is the repair complete?

--

Go to Power Seat System Check

--